DEI Sales Polk Audio SB5500TX SOUNDBAR 5500 SYSTEM User Manual SB180manual
Polk Audio SOUNDBAR 5500 SYSTEM SB180manual
Users Manual

Date
Drawing #
File Name
Scale
Drawn By
Color
Emboss Ht.
Deboss Depth
Finish
Process
Notes
Artwork
10 June 2014
HBP3133
SB5500_3LangMN3133.qxd
Full Size
KLB
Prints 100% Black
n/a
n/a
n/a
Offset Lithography
Flat size: 11" x 17" horizontal
Fold size: 8.5" x 11"
TITLEBLOCK DOES NOT PRINT
Digital file
Approvals Signature Date
Project Manager
Product Line Manager
Mechanical Designer
System Engineer
Electrical Engineer
Safety & Regulations
Quality Assurance
Creative Director
Comments
Revision Date Description
A
A
B
C

FCC Statement
1. This device complies with Part 15 of the FCC Rules. Operation is subject to the
following two conditions:
(1) This device may not cause harmful interference.
(2) This device must accept any interference received, including interference
that may cause undesired operation.
CAUTION: Any changes or modifications not expressly approved by the grantee of this device could void
the user’s authority to operate the equipment.
Federal Communitcations Commission Interference Statement
This equipment has been tested and found to comply with the limits for a Class B digital device, pursuant
to part 15 of the FCC Rules. These limits are designed to provide reasonable protection against harmful
interference in a residential installation. This equipment generates, uses and can radiate radio frequency
energy and, if not installed and used in accordance with the instructions, may cause harmful interference
to radio communications. However, there is no guarantee that interference will not occur in a particular
installation. If this equipment does cause harmful interference to radio or television reception, which can
be determined by turning the equipment off and on, the user is encouraged to try to correct the interfer-
ence by one or more of the following measures:
(1) Reorient or relocate the receiving antenna.
(2) Increase the separation between the equipment and receiver.
(3) Connect the equipment into an outlet on a circuit different from that to which
the receiver is connected.
(4) Consult the dealer or an experienced radio/TV technician for help.
RF Exposure Warning
This equipment must be installed and operated in accordance with provided instructions and the
antenna(s) used for this transmitter must be installed to provide a separation distance of at least 20 cm
from all persons and must not be co-located or operating in conjunction with any other antenna or trans-
mitter. End-users and installers must be provide with antenna installation instructions and transmitter
operating conditions
IC Warning
This device complies with Industry Canada License-exempt RSS standard(s).
Operation is subject to the following two conditions:
(1) This device may not cause harmful interference, and
(2) This device must accept any interference, including interference that may cause undesired
operation of the device. Changes or modifications not expressly approved by the party responsible
for compliance could void the user’s authority to operate the equipment. The battery or batteries
shall not be exposed to excessive heat such as sunshine, fire or the like.
Radio Frequency (RF) Exposure Information
The radiated output power of the Wireless Device is below the Industry Canada (IC) radio frequency
exposure limits. The Wireless Device should be used in such a manner such that the potential for human
contact during normal operation is minimized.
This device has also been evaluated and shown compliant with the IC RF Exposure limits under mobile
exposure conditions. (antennas are greater than 20cm from a person’s body).

SUBWOOFER ASSY SB5500
SPEAKER ASSY SB5500

BAR CONTROLS
Front Panel:
1. Learn—Puts the bar into “learning mode” so
you can program it to respond to commands
from your existing remote control.
2. Source—Changes which input source
you are listening to.
Source 1: digital/optical
Source 2: analog
Source 3: analog
Source 4 Bluetooth ( ):Bluetooth®wireless
technology (See “PAIR AND CONNECT YOUR
BLUETOOTH DEVICE WITH THE SOUNDBAR”
on page 8.)
LED—Blue light indicates which Source has
been selected (see Source LED Guide above).
Source 1 LED will light green if Dolby Digital
signal is being decoded.
3. Power ( )—Turns on the bar or puts
it in standby mode.
LED—A light that shines green, orange
or red to indicate operating status.
4. Mute—Mutes and unmutes the sound
coming from the SoundBar5500,
indicated by green slow flash.
5. Volume Up and Down ( / )—Adjusts
the volume of the SoundBar5500.
Back Panel:
6. Power Switch—Turns the bar on or off,
but you can leave it on all the time.
7. Power Connection—The bar power supply connects here.
8. Audio Inputs (Source 1, 2, or 3)—Where you connect
your TV (or other sources) to the SoundBar5500.
Use the 6' optical cable (Source 1) provided or 1/8"
analog cable (Source 2 or 3) provided.
9. SYNC—The SYNC button ensures the subwoofer
and bar are communicating. (See “SYNCING THE
BAR AND WIRELESS SUBWOOFER” on page 7.)
BAR POWER ( ) LED
Normal Operating Mode:
Green Steady—Power is on; all is well.
Red Steady—The bar is in standby mode.
Green Two Blinks—A remote control or keypad
operation signal is received successfully.
Green Slow Blinking—System is muted.
Green Fast Blinking (After pressing volume up
button)—You have reached the maximum volume.
Green Fast Blinking (At power up)—The bar and
subwoofer have established a wireless connection.
BAR POWER ( ) LED
Learning Mode: (See page 10 for instructions.)
Orange Blinking—The bar is in learning mode.
Orange Steady—The bar is in learning mode
and a function has been selected.
Green Blinking—The bar has successfully
learned a remote control command.
Red Blinking—The bar has failed to learn
a remote control command.
Red and Orange Blinking—Learned IR codes
have been successfully erased.
SOURCE LED
Green Blinking—Dolby Digital source
recognized (Source 1 only).
Green Steady—Dolby Digital source received
and is being decoded (Source 1 only).
Blue Steady—PCM or analog source received.
123
45
6789
SOURCE MUTELEARN
SOURCE LED GUIDE
FRONT
BACK
SOURCE 1
SOURCE 2
SOURCE 3
Bluetooth
2.2A
20V
132
SOURCE SYNC
POWER
OFF
ON
44W
4 Polk Audio Customer Service 800-377-7655 (Outside USA & Canada: 410-358-3600)

SUBWOOFER CONTROLS
1. Power Switch—Turns the wireless subwoofer on
or off, but you can leave it on all the time if you wish.
2. Power Connection—The subwoofer power
cord connects here.
THE STATUS LIGHT ON THE WIRELESS
SUBWOOFER INDICATES THE FOLLOWING:
When light shines green:
a. Green Steady—The bar and subwoofer are connected.
b. Green Slow Blinking—The subwoofer is searching
for the bar.
c. Green Fast Blinking—The subwoofer is in the
process of connecting with the bar.
When light shines red:
a. Red Steady—The subwoofer is in standby mode.
b. Red Blinking—The subwoofer is in protection mode.
REMOTE CONTROL
1. Power ( )—Turns on the bar or puts
it in standby mode.
2. Mute—Mutes and unmutes the sound
coming from the SoundBar5500.
3. Source 1, 2, 3 or —Changes which
input source you are listening to.
4. Volume Up and Down ( + / – )—Adjusts
the master volume of the SoundBar
5500 system.
5. SUB Volume Up and Down ( + / – )
Adjusts the volume of the subwoofer.
Specifications
Dimensions
SoundBar 3 3/4" H x 31" W x 2 1/4" D
(9.53 cm x 78.74 cm x 5.72 cm)
Subwoofer 10" H x 10 1/4" W x 10 3/4" D
(25.4 cm x 26.04 cm x 27.31 cm)
Weight
SoundBar 5 lbs (2.3 kg)
Subwoofer 7 lbs (3.2 kg)
Power Requirements
SoundBar 20V, 2.2 A
Subwoofer 100V - 240V~50Hz - 60Hz, 50W
Model SoundBar5500
Remote Battery CR2025
1
2
Customer Service Hours of Operation: Monday-Friday, 9AM-5:30PM EST polkcs@polkaudio.com 5
12
3
45

WHERE TO LOCATE YOUR BAR
FOR THE BEST SOUND
It’s easy. The bar comes with rubber feet already attached,
so it will sit securely on any flat surface. Just center the bar
under your TV screen. If your TV is housed in a media center,
you can place the bar above the TV.
If your TV is wall mounted, the bar can mount right beneath
it. The bar has built-in keyhole slots that make it easy.
Note: The rubber feet are detachable and may be removed
entirely (for wall-mounting the bar) or moved along the bottom
surface of the bar, depending upon your installation.
WHERE TO LOCATE YOUR SUBWOOFER
FOR THE BEST SOUND
Your wireless subwoofer is really easy to place and can
go just about anywhere in the room. Plus you don’t have
to worry about connecting wires, because the only wire
you have to plug in is the power cord. And that’s it.
Here’s a little trick: If you place
your subwoofer in a corner of
your room, it will reinforce the
subwoofer’s output, making it
sound louder.
Overall Dimensions
1. 3 3/4" H (9.53 cm)
2. 31" (78.74 cm)
Keyhole Slots
3. 19 13/16" W (50.32 cm)
Top of Bar to Keyhole Slots
4. 1 5/8" (4.13 cm)
Note: If you wall mount your SoundBar, ensure that your wall
anchors secure properly into the wall and that they can bear the
weight of the SoundBar, which is 5 lbs (2.3 kg).
SOURCE
MUTE
LEARN
SOURCE
MUTE
LEARN
Shelf mounted bar sits in front of TV Wall mounted bar
6 Polk Audio Customer Service 800-377-7655 (Outside USA & Canada: 410-358-3600)
2
1
2
3
4

HOW TO CONNECT YOUR BAR
This is really easy too. You likely have many sources for your
audio signal: your TV, your DVD player, or a cable/satellite box.
The bar is able to accept audio from up to three different sources.
The simplest approach is to connect the optical audio output of
your TV to the optical input on the back of the bar. This method
will provide the highest quality audio regardless of whether you
are watching TV or watching your favorite DVD.
If your TV does not have an optical output, you can use the optical
output from your DVD player or your cable/satellite box to connect
to the optical input on the bar. Then simply use the other bar
inputs for your other audio sources.
SYNCING THE BAR AND WIRELESS SUBWOOFER
The SoundBar5500 bar and wireless subwoofer come
from the factory preset to work together. If the wireless
subwoofer stops receiving an audio signal, follow these
instructions to re-establish the connection.
1. Turn off the subwoofer’s AC Mains switch.
2. Press and hold the SYNC button on the back
of the bar for three (3) seconds.
3. The LED on the back of the bar will blink,
indicating that the bar and the subwoofer
are ready to be connected.
4. Turn on the subwoofer’s AC Mains switch. When
the subwoofer LED turns solid green the bar
and subwoofer are connected and ready to use.
HOW TO CONNECT YOUR SUBWOOFER
Your subwoofer receives a wireless audio signal from the bar,
so all you need to do is plug in the power cord and make
sure the main power switch is ON.
2.2A
20V
132
SOURCE SYNC
POWER
OFF
ON
44W L
R
ANALOG
AUDIO OUTPUT
DIGITAL OPTICAL
AUDIO OUTPUT
TV or Cable/Sat Box
Customer Service Hours of Operation: Monday-Friday, 9AM-5:30PM EST polkcs@polkaudio.com 7
Note: Remove the
protective cap prior
to inserting cable.

BLUETOOTH®WIRELESS TECHNOLOGY
To use your Bluetooth wireless technology device
with the SoundBar5500, you must first pair your
device with your SoundBar.
Pairing creates the ability of your Bluetooth device to connect
with your SoundBar wirelessly. Pairing is like a handshake
between your Bluetooth device and your SoundBar5500
in which they meet and exchange information.
You only have to pair your SoundBar with your Bluetooth device
one time for this exchange of information to take place. After that
you simply select the “polk soundbar” from your
device list to make the connection to your SoundBar.
The SoundBar can hold 8 Bluetooth devices in its memory.
If enough devices pair after yours, your device could
be dropped from the memory list.
Pair and connect your Bluetooth device
with the SoundBar:
1. Make sure your Bluetooth device and SoundBar5500
are both powered on.
2. Activate the Bluetooth function on your Bluetooth source
device. See your device’s manual for instructions.
3. Press the Bluetooth source button from the SoundBar
remote or press the SOURCE button on the SoundBar
until the Bluetooth source is selected.
The Bluetooth symbol will illuminate, then begin slowly
pulsing as it looks for the paired device.
4. Your SoundBar will now be displayed on your source
device and available to pair and/or connect. Select the
“polk soundbar” on your device to initiate
the connection process.
5. After a short delay (5 seconds), the two devices should
now be connected. You should hear a short tone and
the Bluetooth source symbol will now be steady blue.
6. Play your music from your device!
Note: If your device asks for a passcode to pair to the SoundBar,
enter “0000.”
How to disconnect with a Bluetooth device:
1. Press and release the Remote Control Bluetooth button, or
2. Press and release the Bluetooth Source button, or
3. Turn off or disconnect the Bluetooth feature
on your Bluetooth device.
The SoundBar will emit a short tone and the
Bluetooth source symbol will begin slowly pulsing
when disconnected.
Automatic connection:
Any time you want to connect the last paired device
and play it through the SoundBar, do the following:
1. Turn your device’s Bluetooth function on.
2. Enter Bluetooth source by pressing the Bluetooth source
button from the remote or press the SOURCE button
on the SoundBar until the Bluetooth source is selected.
3. After a short delay, the two devices will automatically
connect, you will hear a short tone, and the Bluetooth
source symbol will now be steady blue.
Note: By default, the last connected Bluetooth device
will automatically connect if available.
Pair and/or connect to a device when in Bluetooth
source, but disconnected:
1. Engage the Bluetooth function on your Bluetooth source
device. See your device’s manual for instructions.
a. The SoundBar will be displayed on your source
device as available to pair and connect. Select
the “polk soundbar” on your device to initiate
the pairing and connection process.
After a short delay, the two devices should now be paired
and connected. You should hear a short tone and the
Bluetooth source symbol will now be steady blue.
How to disconnect:
Note: Anytime The SoundBar exits SLEEP mode and is in
Bluetooth source, the SoundBar will automatically connect
to the last paired Bluetooth device if the paired device’s
Bluetooth feature is on.
8 Polk Audio Customer Service 800-377-7655 (Outside USA & Canada: 410-358-3600)
SOURCELEARN OR
Customer Service Hours of Operation: Monday-Friday, 9AM-5:30PM EST polkcs@polkaudio.com 9
HOW TO OPTIMIZE THE SOUND
WHEN TV SPEAKERS ARE ON
You should hear sound from the bar. If you don’t, turn up
the volume on the bar using its volume control buttons.
If your bar is connected to your TV, there’s a very good chance
your TV speakers are also playing. It’s impossible to give specific
instructions on how to turn off the speakers for every TV, but
here’s a way to do it that covers many of the TVs out there.
1. On your TV remote control, find a “menu” or “setup” button.
2. Press this button. You should see an on-screen menu.
3. Next, look for an option to control audio functions
and select it.
The setting to turn off your TV’s internal speakers should be here.
If you can’t turn off your TV internal speakers, don’t worry.
Your SoundBar5500 will make your TV sound much better.
To enjoy the best performance from your bar, you’ll want
it to play louder than your TV. Use the following steps
to adjust the volume balance between your TV and the bar:
1. If necessary, program your bar to respond to the volume
up and down control commands of your TV remote.
(See “HOW TO SETUP A REMOTE CONTROL FOR
YOUR SOUNDBAR5500” on page 10.)
2. Turn your TV volume all the way down using the control
buttons on your TV.
3. Then, using the volume keys on your bar, set the volume
to a normal listening level (do not use the remote control).
After you make these adjustments, your SoundBar5500 should
always be louder than your TV speakers. Then use the
TV remote control to adjust the volume as you normally do.
FINE TUNING YOUR SUBWOOFER VOLUME LEVEL
The next thing you’ll want to do is adjust the subwoofer
to blend with your bar. This will ensure the system produces
the best sound.
To set the subwoofer’s volume, play a variety of source material—
some music, a movie sound track with great special effects,
a movie chapter or a part of a concert in which people are
speaking. Adjust the volume until what you hear sounds
natural to you in your normal viewing location.

2
LED
3
5
4
LED
VOL
SOURCELEARN
MUTE
LED
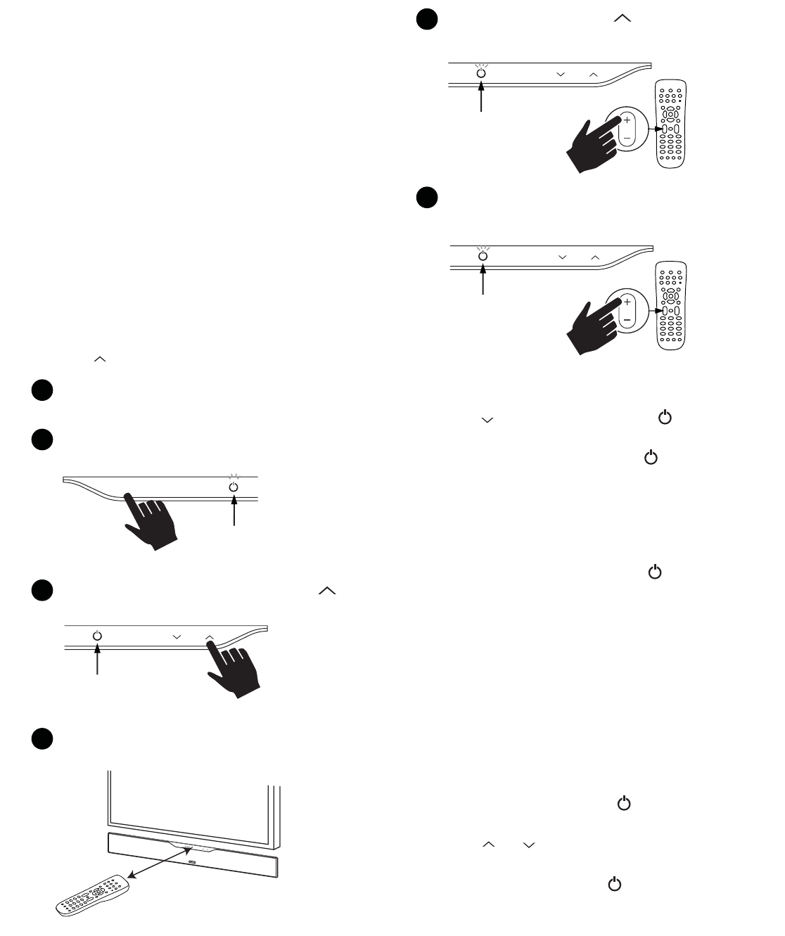
Press and hold “LEARN” for 2 seconds, or until LED
blinks orange, then release the “LEARN” button.
1
The SoundBar is turned on and the LED is solid green.
And you have sound coming from the bar.
Hold TV remote 1' - 2' from SoundBar.
Press and release Volume Up “ .”
LED turns solid orange.
Blinks orange
Solid orange
LED blinks with
each button press
LED
LED blinks green,
then turns solid green
Tap “Volume Up” button on your TV’s remote control
4 - 8 times, once per second. Tap, do not hold.
6
VOL
When the LED blinks green quickly for 3 seconds,
the command has been learned. The LED will
become solid green.
SOURCE
MUTE
LEARN
1' - 2'
10 Polk Audio Customer Service 800-377-7655 (Outside USA & Canada: 410-358-3600)
HOW TO SET UP A REMOTE CONTROL
FOR YOUR SOUNDBAR
SMARTBAR™PROGRAMMING NOTE:
For your SoundBar to respond to your remote control, you
MUST FIRST program the bar to respond to your television’s
original IR (Infra-Red) remote. An RF (Radio Frequency)
remote will not work. Other remotes (cable, satellite) will
work only after you have programmed the bar to respond
to the TV’s IR remote.
Programming Instructions: Your SoundBar is currently
programmed to respond to the remote control that is included
with the product. However, we strongly recommend program-
ming the SoundBar to also respond to your existing remote con-
trol using the steps illustrated below. This will enable
you to operate all of your components using a single remote
control. While programming the SoundBar, ignore
anything that may be displayed on the TV screen.
Example: To teach your bar the “Volume Up”
command of your remote control:
Verify command works.
Repeat steps 1-6 to program “Volume Down” ( ), Source,
Mute and Power buttons ( ).
Note: If your bar fails to learn certain IR remote codes, the power
LED will blink red. Try erasing any previously programmed codes
(see below) and carefully repeat steps 1-6 above.
Code Erasing Procedure: If you have programmed your
SoundBar to respond to a remote control and you no longer want
it to do so, erase the codes by pressing the LEARN key for about
two seconds while the unit is in standby mode (power LED
is red). You’ll know that previously learned codes have been
successfully erased when the power LED blinks orange twice.
Note: This procedure removes ALL of your bar’s remote control
programming. If you only need to change the programming for
some of the bar buttons, follow the six steps in the sequence
previously described to redo any previous programming.
The SoundBar will continue to respond to the provided
credit card remote control.
SUB VOLUME CONTROL ON THE BAR
While unit is on and LED is solid green.
1. Tap LEARN once, LED ()turns orange.
2. To adjust sub volume, tap up ()or down ().
3. To return to master volume, tap LEARN again,
LED ( ) turns green.
NOTE: Bass can also be adjusted with included remote control.
TROUBLESHOOTING

Customer Service Hours of Operation: Monday-Friday, 9AM-5:30PM EST polkcs@polkaudio.com 11
The bar does not power on.
Ensure you have plugged the power supply
into a live wall outlet.
Ensure that all components of the power
supply are connected properly.
Ensure the power supply is properly connected
to the bar power input.
Ensure the rear panel power switch is in the “ON” position.
The subwoofer does not power on.
Ensure the subwoofer is plugged into a live wall outlet.
Ensure the rear panel power switch is in the “ON” position.
No sound from the bar.
Check that the TV or cable box is providing a signal.
If necessary, check using an alternate source.
Check that the bar is receiving power and is turned on.
Turn up the volume of the bar.
Check the input cables to make sure they
are connected securely.
Turn up the volume of your television or cable box.
Check mute status: Is the bar status light slowly blinking
green? If so, press the MUTE button on the bar.
No sound from the subwoofer.
See section “Subwoofer does not power on.”
Turn up the subwoofer volume using the remote control.
Is the subwoofer status indicator blinking green? If so,
the bar and subwoofer’s wireless connection has been
lost. Turn off both the bar and subwoofer. Then turn them
back on to re-establish communication. If this does not
fix the issue, refer to the section “SYNCING THE
BAR AND WIRELESS SUBWOOFER,” on page 7.
The sound coming from the bar is distorted.
Try turning down the volume of your audio
source, if possible.
Audio processing (see FAQ’s on page 12)—
there may be audio processing occurring prior
to reaching the bar. Disable this processing.
The included remote control won’t work.
Ensure the battery’s protective plastic tab
has been removed.
Replace the battery (CR2025).
Bass output is not loud enough.
Turn up the subwoofer’s volume using the remote control.
Place the subwoofer closer to a corner of the room.
Move subwoofer closer to viewing location within the room.
The bar won’t learn my remote control commands.
Carefully follow the programming instructions
on the previous page of this manual.
Hold the remote steady and 1-2 feet
from the front of the bar.
Quickly “tap” the button on your existing
remote until the status LED blinks green.
Note: The bar learns almost all IR commands,
but some IR protocols cannot be programmed.
The volume of my television speakers gets louder
than my SoundBar5500 system over time.
Turn off your TV speakers per the instructions
on page 9 of this manual.
When the remote control volume button is held down,
your television may change volume levels faster than
the bar. Use the buttons on the bar to adjust the volume
of the bar to the correct balance with the TV speakers.
The subwoofer’s output is intermittent,
or sounds weak or is distorted.
The wireless subwoofer could be too far away
from the bar to receive a sufficiently strong signal.
Try moving the subwoofer closer.
My Bluetooth device and bar will not disconnect.
Some Bluetooth devices will constantly attempt
to connect to a paired device, so you must turn off
the Bluetooth function on your device to allow other
devices to connect to the bar.

12 Polk Audio Customer Service 800-377-7655 (Outside USA & Canada: 410-358-3600)
FAQ’S (FREQUENTLY ASKED QUESTIONS)
My TV does not have an optical output.
How do I connect my audio?
You have several options for connecting your audio:
Use the optical output of your source unit (cable/satellite box,
DVD player, etc.) and connect directly to the SoundBar5500
using the supplied optical cable.
Use the 1/8" (3.5mm) analog / headphone output of your TV
(if available) and connect directly to the SoundBar5500
using the supplied 1/8" (3.5mm) to 1/8" (3.5mm) analog cable.
Use the RCA audio outputs (white/red pair) on your TV
(if available) and connect directly to the SoundBar5500
using the supplied 1/8" (3.5mm) to 1/8" (3.5mm) analog
cable and 1/8" (3.5mm) to RCA adapter.
What if my provided optical cable is too short?
We did our best to provide a cable of adequate length;
however, there might be a few setup instances in which
the cable may be too short. If that is your situation,
your local electronics store will have cables that
meet your required length.
My audio sounds strange and distorted.
Your SoundBar5500 requires a clean, unaltered stereo
or Dolby Digital signal for proper audio performance. If the
sound from your SoundBar5500 is strange or distorted,
then check the audio menus of whatever source(s) are
connected to your SoundBar5500 and make sure
any audio processing is turned off.
Why can’t I successfully program the SoundBar5500
to respond to my remote control?
There are many remote control formats, and we have done
our best to make the SoundBar5500 compatible with the
most popular brands. However, there are likely some cases
in which the bar will not be able to learn your remote codes.
In this case, please use the remote control provided with
the SoundBar5500 product or try a different universal
remote control.
Note: RF only remotes will not work with this system.
How do I control the SoundBar5500?
There are three ways to control your SoundBar5500:
Use the touch-sensitive buttons on the front of the bar.
Use the provided remote control.
Program the SoundBar5500 to respond to your existing
remote (see included instructions).
My SoundBar5500 was responding to commands,
but now it isn’t. What should I do?
In this rare event, simply turn off the power (switch located
on the back of the bar), wait a few seconds, and then turn
the power back on. This should restore control.
How do I erase previously learned remote
control commands?
If you have programmed your SoundBar5500 to respond
to a remote control and you no longer want it to do so, then
you can erase the codes by pressing the LEARN key for about
two seconds while the unit is in standby mode (power LED
is red). The SoundBar5500 will continue to respond
to the provided credit card remote control.
Can I adjust the subwoofer level control from the bar
keypad if I cannot locate the provided remote control?
Yes. You can control the subwoofer volume from the
bar keypad by tapping the LEARN key prior to using the
volume buttons. When the power LED shines orange,
the volume keys ( / ) control the subwoofer volume.
Tap the LEARN key again when you are done with
the adjustment.
To contact Customer Service/Technical Support:
If you have a question or comment, please feel free to call
us or email us. In North America and Canada, call Polk Audio
Customer Service: 800-377-7655 (M-F 9-5:30 EST) or via email
polkcs@polkaudio.com. Outside the US, call 410-358-3600.

Like all wireless devices, your SoundBar5500 may be susceptible
to RF interference from such sources as microwave ovens, Wi-Fi computer
systems, video game systems, cordless telephones, blue tooth systems,
baby monitors and other devices. In particular, any devices operating in the
2.4GHz band may cause intermittent wireless connections between the
SoundBar5500 speaker and the subwoofer. It is also possible that your
SoundBar5500 System may affect other wireless systems. For the
most part, you can avoid wireless performance problems by physically
separating these devices from your SoundBar5500 System. Maintaining a dis-
tance of several feet or more between your SoundBar5500 speaker and any
wireless device should prevent any mutual interference effects. If you do notice
any subwoofer signal dropouts take care to identify the root cause (most com-
monly having other wireless devices too close) and resolve accordingly. Any
interference effects from a microwave oven will cease once the oven stops
operating and may be resolved on a long-term basis by increasing the physical
distance between your SoundBar5500 System and the microwave oven.
A Note Regarding Wireless Performance:
WARNING: LISTEN CAREFULLY
Polk Audio loudspeakers and subwoofers are capable of playing at extremely high volume levels,
which could cause serious or permanent hearing damage. Polk Audio, Inc. accepts no liability
for hearing loss, bodily injury or property damage resulting from the misuse of its products.
Keep these guidelines in mind and always use your own good judgment when controlling volume:
• You should limit prolonged exposure to volumes that exceed 85 decibels(dB).
Refer to the Occupational Health and Safety Administration (OSHA) guidelines at:
www.osha.gov/dts/osta/otm/noise/standards_more.html.
Customer Service Hours of Operation: Monday-Friday, 9AM-5:30PM EST polkcs@polkaudio.com 13
Polk Audio is a DEI Holdings, Inc. Company. Polk Audio, Polk,
The Speaker Specialists, Polk Digital Logic and SmartBar
are registered trademarks of Polk Audio, Inc.
Products that have earned the Energy Star®are designed to protect
the environment through superior energy efficiency.
Manufactured under licence from Dolby Laboratories. Dolby and the
double-D symbol are registered trademarks of Dolby Laboratories.
The Bluetooth®word mark and logos are registered trademarks owned by
Bluetooth SIG, Inc. and any use of such marks by Polk Audio is under license.
Other trademarks and trade names are those of their respective owners.
The “aptX®software is copyright CSR plc or its group companies. All rights
reserved. The aptX®mark and the aptX logo are trade marks of CSR plc or one
of its group companies and may be registered in one or more jurisdictions.”

Déclaration de la FCC
1. Ce dispositif est conforme à la section 15 des règlements de la FCC. Son utilisation est sujette aux
deux conditions suivantes:
1) Ce dispositif ne doit causer aucune interférence délétère.
2) Ce dispositif doit accepter toute interférence reçue, incluant les interférences qui pourraient compromettre
son fonctionnement.
AVERTISSEMENT:
Toute modification ou tout changement qui n’a pas été expressément approuvé par la partie responsable de la
conformité pourrait annuler le droit de l’utilisateur de faire fonctionner cet équipement.
Déclaration de la Federal Communications Commission sur l’interférence
Cet équipement a été testé et jugé conforme aux limites d’un appareil numérique de classe B, en vertu de la
partie 15 des règlements de la FCC. Ces limites sont conçues pour offrir une protection raisonnable contre
des interférences nuisibles dans une installation résidentielle. Cet équipement génère, utilise et peut émettre
de l’énergie de radiofréquences et, s’il n’est pas installé et utilisé conformément aux instructions, peut causer
des interférences nuisibles aux communications radio. Toutefois, il n’y a aucune garantie que des inter-
férences ne seront pas générées dans une installation particulière. Si cet équipement cause des interférences
nuisibles à la réception radiophonique ou télévisuelle, ce qui peut être déterminé en éteignant et rallumant
l’équipement, il est conseillé à l’utilisateur d’essayer de corriger ces interférences en prenant une des
mesures suivantes:
1. Réorientez ou déplacez l’antenne de réception.
2. Augmentez l’écart entre l’équipement et le récepteur.
3. Branchez l’équipement dans une prise de courant d’un circuit différent de celui du récepteur.
4. Consultez un revendeur ou un technicien radio/télévision qualifié pour obtenir conseil.
Avertissement en matière de RF
Cet équipement doit être installé et utilisé selon les instructions fournies et l’antenne (ou les antennes) utilisée
par cet émetteur ne doit pas être installée et utilisée à une distance inférieure à 20 centimètres de toute per-
sonne et ne doit pas être utilisée conjointement ou située à proximité de tout autre émetteur ou antenne. Les
instructions d’installation et les conditions d’utilisation du transmetteur satisfaisant aux normes d’exposition
aux radiofréquences doivent être fournies aux utilisateurs et installateurs.
Avertissement d’Industrie Canada
Cet appareil est conforme à la norme d’Industrie Canada sur les appareils radio exempts de licence. Son
utilisation est soumise aux deux conditions suivantes:
(1) cet appareil ne doit pas causer d’interférence nuisible, et
(2) cet appareil doit accepter toute autre interférence reçue, y compris les interférences pouvant entraîner
un fonctionnement non désiré. Toute modification ou tout changement qui n’a pas été expressément
approuvé par la partie responsable de la conformité pourrait annuler le droit de l’utilisateur de faire
fonctionner cet équipement. La pile (ou les piles) ne doit jamais être exposée à une source de chaleur
excessive telle que le soleil, le feu ou autre source de chaleur élevée.
Informations sur l’exposition aux radiofréquences (RF)
La puissance RF rayonnée par le dispositif sans fil est sous les limites d’exposition aux radiofréquences
établies par Industrie Canada (IC). Le dispositif sans fil doit être utilisé de façon à ce que la possibilité de
contact humain soit minimisée pendant son utilisation normale. Ce dispositif a également été évalué et
déclaré conforme aux limites d’exposition RF IC en conditions d’exposition mobiles (antennes à plus de
20 cm du corps d’une personne).

SUBWOOFER ASSY SB5500
SPEAKER ASSY SB5500

CONTRÔLES DE LA SOUNDBAR
Panneau avant:
1. Learn—Met la SoundBar en mode d’apprentissage,
vous permettant de la programmer pour qu’elle
réponde à votre télécommande.
2. Source—Détermine la source d’entrée audio.
Source 1: numérique/optique.
Source 2: analogique.
Source 3: analogique.
Source 4 Bluetooth ():technologie sans fil Bluetooth®
(Voir «APPARIEMENT ET CONNEXION DE VOTRE APPAREIL
BLUETOOTH À LA SOUNDBAR» à la page 8.)
DEL—La DEL luit bleu pour indiquer la source
sélectionnée (voir SOURCE LED GUIDE ci-dessus).
La DEL Source 1 luit vert si un signal Dolby®Digital
est en décodage.
3. Interrupteur ( )—Allume la SoundBar
ou la met en mode de veille.
DEL—Cette DEL luit vert, orange ou rouge
pour indiquer l’état d’activité.
4. Mute—Active ou désactive le mode «sourdine» de
la SoundBar5500. Clignote vert lorsqu’activé.
5. Volume ( / )—Règle le volume
de la SoundBar5500 .
Panneau arrière:
6. Power—Ce commutateur allume (ON)/éteint (OFF)
la barre, mais vous pouvez le laisser à la position
ON en permanence.
7. 20V—Branchez le bloc d’alimentation de la Soundbar ici.
8. Source 1, 2 ou 3 (Entrées audio)—Connectez ici la sortie
de votre télé (ou autres sources) à la SoundBar5500.
Utilisez le câble optique fourni (SOURCE 1) ou le câble
analogique 1/8" fourni ( SOURCE 2 ou SOURCE 3 ).
9. SYNC—Le bouton SYNC assure que le subwoofer
et la Soundbar communiquent. (Voir «SYNCHRONISATION
DE LA BARRE AU SUBWOOFER SANS FIL» à la page 19.)
DEL DE TENSION ( ) DE LA SOUNDBAR
Mode D’Opération Normal:
Vert continu—Sous tension— tout va bien.
Rouge continu—Sous tension et en mode de veille.
Vert - deux clignotements—Un signal du pavé numérique
ou de la télécommande a été reçu avec succès.
Vert clignotant - lent—Système en sourdine (mute).
Vert clignotant—rapide (après avoir appuyé sur la touche
volume ( )—Vous avez atteint le volume maximum.
Vert clignotant—rapide (à la mise sous tension)—La barre
et le subwoofer ont établi une connexion sans fil.
DEL DE TENSION ( ) DE LA SOUNDBAR
Mode D’Apprentissage: (instructions à la page 22)
Orange clignotant—La barre est en mode d’apprentissage.
Orange continu—La barre est en mode d’apprentissage
et une fonction a été sélectionnée.
Vert clignotant—La barre a acquis un code
de la télécommande avec succès.
Rouge clignotant—La barre n’a pas réussi
à acquérir un code de la télécommande.
Rouge et orange clignotant—Les codes
IR acquis ont été effacés avec succès.
DEL—SOURCE
Vert clignotant —Source Dolby Digital repérée
(SOURCE 1 seulement).
Vert continu—Source Dolby Digital reçue et en
cours de décodage (SOURCE 1 seulement).
Bleu continu—Source PCM ou analogique reçue.
123
45
6789
SOURCE MUTELEARN
SOURCE 1
SOURCE 2
SOURCE 3
Bluetooth
GUIDE DEL
DES SOURCES
AVANT
ARRIÈRE
2.2A
20V
132
SOURCE SYNC
POWER
OFF
ON
44W
16 Polk Audio Customer Service 800-377-7655 (Outside USA & Canada: 410-358-3600)

CONTRÔLES DU SUBWOOFER
1. Power—Cet interrupteur allume/éteint le subwoofer,
mais vous pouvez le laisser à la position ON
(sous tension) en permanence.
2. AC Input—Branchez le cordon d’alimentation
du subwoofer ici.
DEL DU SUBWOOFER
Le voyant d’activité DEL du subwoofer sans
fil indique son état d’activité.
Lorsque le voyant luit vert:
a. Vert continu—La SoundBar et le subwoofer
sont connectés.
b. Vert clignotant lent—Le subwoofer recherche
le signal de la SoundBar.
c. Vert clignotant rapide—Le subwoofer est en cours
de connexion avec la SoundBar.
Lorsque le voyant luit rouge:
a. Rouge continu: Le subwoofer est en mode d’attente.
b. Rouge clignotant: Le subwoofer est en mode de protection.
TÉLÉCOMMANDE
1. Interrupteur ( )—Allume la SoundBar
ou la met en mode d’attente.
2. Mute—Active ou désactive le mode
sourdine de la SoundBar.
3. Source 1, 2, 3 ou )—Sélectionne
la source d’entrée audio.
4. VOL ( + / – )—Règle le volume global
du système SoundBar5500 .
5. SUB ( + / – )—Règle le volume du subwoofer.
Spécifications
Dimensions
SoundBar 3 3/4" H x 31" L x 2 1/4" P
(9,53 cm x 78,74 cm x 5,72 cm)
Subwoofer 10" H x 10 1/4" L x 10 3/4" P
(25,4 cm x 26,04 cm x 27,31 cm)
Poids
SoundBar 5 lb (2,3 kg)
Subwoofer 7 lb (3,2 kg)
Puissance requise
SoundBar 20V, 2,2 A
Subwoofer 100V - 240V, 50Hz - 60Hz, 50W
Modèle SoundBar5500
Pile de la télécomande CR2025
1
2
12
3
45
Customer Service Hours of Operation: Monday-Friday, 9AM-5:30PM EST polkcs@polkaudio.com 17

OÙ INSTALLER VOTRE SOUNDBAR
POUR MAXIMISER LE SON
C’est simple. La Soundbar est livrée avec des coussinets
de caoutchouc lui permettant d’être installée sur n’importe
quelle surface plate. Vous n’avez qu’à centrer la SoundBar
sous l’écran de votre télé. Si votre télé est installée dans
un meuble multimédia, vous pouvez placer la SoundBar
au dessus de la télé.
Si votre télé est fixée au mur, installez la SoundBar juste
en dessous. La SoundBar est munie de fentes en trou
de serrure vous permettant de l’installer facilement au mur.
Note: Les coussinets de caoutchouc sont détachables
et peuvent être retirés (pour installation murale) ou
repositionnés le long de la surface inférieure de
la SoundBar selon vos besoins d’installation.
OÙ PLACER VOTRE SUBWOOFER
POUR MAXIMISER SA PERFORMANCE
Vous pouvez placer le subwoofer
sans fil à peu près n’importe où
dans la pièce puisqu’il ne requiert
aucun fil audio. Vous n’avez qu’à
brancher son câble d’alimentation
dans une prise de courant et le
tour est joué.
Un petit conseil: Si vous placez le subwoofer dans un coin,
sa sortie acoustique sera accrue et il semblera jouer plus fort.
Dimensions hors-tout
1. 3 3/4" H (9.53 cm)
2. 31" (78.74 cm)
Fentes en trou de serrure
3. 19 13/16" W (50.32 cm)
Du dessus de la barre aux fentes en trou de serrure
4. 1 5/8" (4.13 cm)
Note: Si vous installez votre Soundbar au mur, assurez-vous que
les chevilles d’ancrage sont bien fixées au mur et qu’elles peu-
vent supporter le poids de la SoundBar–2,3 kg (5 lb).
SOURCE
MUTE
LEARN
SOURCE
MUTE
LEARN
Soundbar placée devant votre télé Soundbar installée au mur
2
1
2
3
4
18 Polk Audio Customer Service 800-377-7655 (Outside USA & Canada: 410-358-3600)

COMMENT CONNECTER VOTRE SOUNDBAR
C’est également très facile. Vous avez probablement plusieurs
sources de signal audio: télé, lecteur DVD ou boîtier câble/
satellite. Vous pouvez connecter jusqu’à trois sources
différentes à la Soundbar. Nous vous recommandons
de connecter la sortie optique de votre télé à l’entré optique
située à l’arrière de la SoundBar pour assurer la meilleure
qualité audio possible.
Si votre télé n’a pas de sortie optique, vous pouvez connecter
la sortie optique de votre lecteur DVD ou de votre boîtier câble/
satellite à l’entrée optique de la SoundBar et connecter
vos autres sources audio à une des entrées analogiques
de la Soundbar.
SYNCHRONISATION DE LA BARRE
AVEC LE SUBWOOFER
La SoundBar5500 et le subwoofer sans fil sont préréglés
à l’usine pour fonctionner ensemble. Si le subwoofer sans
fil cesse de recevoir un signal audio, suivez ces simples
instructions pour rétablir la connexion.
1. Éteignez le subwoofer (POWER–OFF).
2. Appuyez sur la touche SYNC (situé à l’arrière de la
Soundbar) et tenez-la enfoncée pour trois (3) secondes.
3. Le voyant DEL situé à l’arrière du subwoofer clignotera
signalant que la Soundbar et le subwoofer sont
prêts à se connecter.
4. Allumez le subwoofer (POWER—ON). Lorsque
la DEL du subwoofer luit vert continu, la Soundbar
et le subwoofer sont connectés et prêts à être utilisés.
COMMENT CONNECTER VOTRE SUBWOOFER
Votre subwoofer reçoit un signal audio sans fil de la SoundBar
alors vous n’avez qu’à le brancher dans une prise de courant CA
et vous assurer que l’interrupteur POWER est à la position ON.
L
R
ANALOG
AUDIO OUTPUT
DIGITAL OPTICAL
AUDIO OUTPUT
Télé ou Boîtier
Câble/Satellite
2.2A
20V
132
SOURCE SYNC
POWER
OFF
ON
44W
Note: Si nécessaire,
retirez le capuchon
avant d’insérer le câble.
Customer Service Hours of Operation: Monday-Friday, 9AM-5:30PM EST polkcs@polkaudio.com 19

TECHNOLOGIE SANS FIL BLUETOOTH®
Pour utiliser un appareil sans fil à technologie Bluetooth
avec la SoundBar5500, vous devez d’abord apparier
l’appareil et la SoundBar.
L’appariement permet à l’appareil Bluetooth de se connecter
sans fil à la SoundBar et d’échanger des données.
Vous ne devrez apparier la SoundBar et votre appareil Bluetooth
qu’une seule fois. Par la suite, vous n’aurez qu’à sélectionner
«polk soundbar» depuis la liste de dispositifs de votre appareil
pour établir la connexion avec la SoundBar.
La SoundBar peut mémoriser jusqu’à huit appareils Bluetooth.
Si plus de huit appareils sont appariés, certains pourraient
disparaitre de la liste en mémoire.
Appariement et connexion de votre appareil
Bluetooth et de la SoundBar:
1. Assurez-vous que votre appareil Bluetooth
et la SoundBar5500 sont allumés.
2. Activez la fonction Bluetooth de votre appareil. Consultez
le manuel de votre appareil pour des instructions.
3. Appuyez sur le bouton Bluetooth de la télécommande
de la SoundBar ou le bouton SOURCE situé
sur la Soundbar jusqu’à ce que le symbole
Bluetooth apparaisse.
Le symbole Bluetooth luira, puis clignotera lentement tandis
que la barre recherche l’appareil avec lequel s’apparier.
4. Votre SoundBar apparaitra maintenant sur la liste
de votre appareil de source et sera prête à s’apparier
ou à se connecter. Sélectionnez «polk soundbar»
pour lancer la connexion.
5. En quelques secondes les deux appareils devraient
s’être connectés. Vous entendrez une brève tonalité
et le symbole Bluetooth luira bleu continu.
6. La SoundBar est prête à reproduire votre musique.
Note: Si votre appareil vous demande un code pour
s’apparier à la SoundBar, entrez «0000.»
Déconnexion d’un appareil Bluetooth:
1. Enfoncez et relâchez le bouton Bluetooth
de la télécommande; ou
2. enfoncez et relâchez le bouton de source
Bluetooth de la barre; ou
3. éteignez ou déconnectez la fonction Bluetooth
de votre appareil.
La SoundBar émettra une brève tonalité et le symbole Bluetooth
clignotera lentement lors de la déconnexion.
Connexion automatique:
Lorsque vous désirez connecter le dernier appareil apparié
à la SoundBar, suivez les instructions suivantes:
1. Activez la fonction Bluetooth de votre appareil.
2. Appuyez sur le bouton Bluetooth de la télécommande
de la SoundBar ou le bouton SOURCE situé sur
la barre jusqu’à ce que le symbole de la source
Bluetooth apparaisse.
3. En quelques secondes, les deux appareils se connecteront
automatiquement; vous entendrez une brève tonalité
et le symbole Bluetooth luira bleu continu.
Note: Le dernier appareil Bluetooth connecté se connectera
automatiquement par défaut s’il est disponible.
Appariement ou connexion d’un appareil lorsque
la barre est en mode de source Bluetooth, mais
n'a pas établi de connexion:
1. Activez la fonction Bluetooth de votre appareil. Consultez
le manuel de votre appareil pour des instructions.
a. Votre SoundBar apparaitra maintenant sur
votre appareil de source et sera prête à s’apparier
ou se connecter. Sélectionnez «polk soundbar»
pour lancer la connexion.
En quelques secondes, les deux appareils se seront appariés
et connectés; vous entendrez une brève tonalité et le symbole
Bluetooth luira bleu continu.
Déconnexion:
Note: Lorsque la SoundBar quitte le mode SLEEP (veille)
et est en mode de source Bluetooth, elle se connectera
automatiquement au dernier appareil Bluetooth apparié
si la fonction Bluetooth de cet appareil est active.
20 Polk Audio Customer Service 800-377-7655 (Outside USA & Canada: 410-358-3600)
SOURCELEARN OU
COMMENT OPTIMISER LE SON QUAND LES
HAUT-PARLEURS DE LA TÉLÉ SONT ACTIFS
Vous devriez entendre du son provenant de la SoundBar.
S’il n’y a pas de son, montez le volume de la SoundBar
à l’aide des touches de contrôle de volume.
Si votre SoundBar est connectée à votre télé, les haut-
parleurs de la télé sont probablement actifs. Il est impossible
d’offrir des instructions spécifiques sur comment désactiver
les haut-parleurs de toutes les télés mais voici comment
désactiver les haut-parleurs de la plupart télés courantes:
1. Sélectionnez «menu» ou «setup»
sur la télécommande de la télé.
2. Appuyez sur ce bouton. Vous devriez
obtenir un menu à l’écran.
3. Du menu, sélectionnez «réglages des fonctions audio.»
Le réglage qui permet de désactiver les haut-parleurs
de la télé devrait s’y trouver.
Si vous ne pouvez pas désactiver les haut-parleurs de votre
télé, ne vous inquiétez pas. Votre SoundBar5500
améliorera quand même considérablement le son de votre
télé. Pour vous permettre d’apprécier sa performance, votre
SoundBar devra jouer plus fort que votre télé. Suivez
les étapes suivantes pour ajuster l’équilibre entre le volume
de votre télé et celui de votre SoundBar.
1. Si nécessaire, programmez votre SoundBar pour qu’elle
réponde au contrôle de volume de la télécommande de votre
télé. (Consultez la section «COMMENT PROGRAMMER
UNE TÉLÉCOMMANDE POUR CONTRÔLER VOTRE
SoundBar5500 » page 22.)
2. Baissez le volume de votre télé au minimum utilisant
les boutons de contrôle de volume de votre télé.
3. Ensuite, utilisant les touches de contrôle de volume
de votre SoundBar, réglez le volume à un niveau
d’écoute normal (n’utilisez pas la télécommande).
Suite à ces réglages, votre SoundBar5500 devrait
toujours jouer plus fort que les haut-parleurs de votre télé.
Utilisez ensuite la télécommande de votre télé pour ajuster
le volume comme d’habitude.
RÉGLAGE PRÉCIS DU VOLUME DE VOTRE SUBWOOFER
Vous devez maintenant régler le volume du subwoofer sans
fil de façon à équilibrer sa sortie avec celle de la SoundBar. Vous
harmoniserez ainsi le son global du système.
Pour ajuster le volume du subwoofer, faites jouer une variété
de contenus sonores—de la musique, un concert, un film
avec effets sonores abondants, un film plus intimiste avec
des conversations…puis réglez le volume du subwoofer
jusqu’à ce que le son soit naturel et bien équilibré depuis
votre position d’écoute habituelle.
Customer Service Hours of Operation: Monday-Friday, 9AM-5:30PM EST polkcs@polkaudio.com 21

2
DEL
3
5
4
DEL
VOL
SOURCELEARN
MUTE
DEL
Appuyez sur la touche LEARN pour deux secondes—
ou jusqu’à ce que la DEL clignote orange - puis relâchez-la.
1La SoundBar est allumée, le voyant DEL luit vert continu
et du son provient de la barre.
Tenez la télécommande de la télé à 30-60cm
de la SoundBar.
Appuyez brièvement sur la touche de volume “ .”
La DEL luit orange continu.
clignote orange
luit orange continu
La DEL clignote
à chaque pression
DEL
La DEL clignote vert
puis luit vert continu.
Pressez la touche de volume “ ” de la télécommande
de votre télé 4 à 8 fois en autant de secondes.
Ne la tenez pas enfoncée.
6
VOL
Lorsque la DEL clignote vert pour 3 secondes,
la commande a été programmée. La DEL luit
vert continu.
SOURCE
MUTE
LEARN
30-60cm
PROGRAMMATION D’UNE TÉLÉCOMMANDE
POUR CONTRÔLER VOTRE SOUNDBAR
NOTE SUR LA PROGRAMMATION SMARTBARMC:
Pour que la SoundBar réponde à votre télécommande,
vous DEVEZ D’ABORD la programmer pour qu’elle réponde
à la télécommande IR (infrarouge) originale de votre télé.
Les télécommandes RF (radiofréquences) ne sont pas
compatibles. Les autres télécommandes IR (câble, satellite)
ne peuvent être programmées que lorsque vous aurez
programmé la barre pour qu’elle réponde à la télécommande
IR de votre télé.
Guide de programmation: La SoundBar est programmée à l’u-
sine pour répondre à la télécommande fournie. Mais il est forte-
ment recommandé de programmer votre SoundBar pour qu’elle
réponde également à votre télécommande préférée en suivant
les étapes illustrées ci-dessous. Ceci vous permettra de contrôler
toutes vos composantes en utilisant une seule télécommande.
Au cours de la programmation de votre SoundBar, ignorez
toute image qui pourrait apparaître
à l’écran de votre télé.
Exemple: pour programmer la barre à répondre au contrôle
de volume ()de votre télécommande:
Vérifiez si la commande fonctionne.
Répétez les étapes 1 à 6 pour programmer les touches
de volume ( ), Source, Mute et Tension ( ).
Note: si votre barre ne réussit pas à acquérir certains codes
IR de la télécommande, la DEL de tension ()clignotera rouge.
Tentez d’effacer les codes précédemment programmés (voir
ci-dessous) et répétez les étapes 1 à 6 précédentes.
Procédure pour effacer les codes: Si vous avez programmé
votre SoundBar pour qu’elle réponde à une télécommande
et que vous désirez supprimer cette programmation, appuyez
sur la touche LEARN pour environ deux secondes lorsque
la SoundBar est en mode d’attente (la DEL ()luit rouge
continu). Vous saurez que les codes précédemment programmés
ont été effacés lorsque la DEL clignote orange deux fois.
Note: Cette procédure efface toute votre programmation de la
SoundBar. Si vous désirez modifier la programmation de seule-
ment certaines des touches de la barre, suivez les instructions
des six étapes précédentes pour reprogrammer la SoundBar selon
vos besoins. Elle répondra quand même toujours à la petite télé-
commande fournie.
RÉGLER LE VOLUME DU SUBWOOFER
DEPUIS LA SOUNDBAR BAR
Lorsque la barre et le sub. sont allumés et que la DEL
luit vert continu.
1. Pressez LEARN une fois, la DEL ()de la barre luit orange.
2. Pour régler le volume du subwoofer, pressez
volume ()ou ().
3. Pour retourner au contrôle de volume principal, pressez
LEARN une autre fois - la DEL ( ) luit vert continu.
NOTE: Le volume du subwoofer peut également être réglé
à l’aide de la petite télécommande fournie.
22 Polk Audio Customer Service 800-377-7655 (Outside USA & Canada: 410-358-3600)

Customer Service Hours of Operation: Monday-Friday, 9AM-5:30PM EST polkcs@polkaudio.com 23
GUIDE DE DÉPANNAGE
La SoundBar ne s’allume pas.
Assurez-vous que le bloc d’alimentation est branché
dans une prise de courant active.
Assurez-vous que tous les composants du bloc
d’alimentation sont connectés correctement.
Assurez-vous que le bloc d’alimentation est branché correc-
tement à la prise d’alimentation 20V de la SoundBar.
Assurez-vous que l’interrupteur «POWER» du panneau
arrière est à la position «ON.»
Le subwoofer ne s’allume pas.
Assurez-vous que le subwoofer est branché
dans une prise de courant active.
Assurez-vous que l’interrupteur «POWER»
du panneau arrière est à la position «ON.»
Pas de son de la SoundBar
Assurez-vous qu’il y a un signal provenant de la télé
ou du boîtier câble/sat. Si nécessaire, utilisez une autre
source pour vérifier le fonctionnement.
Assurez-vous que la SoundBar est bien branchée
et sous tension.
Montez le volume de la SoundBar.
Vérifier la connexion des câbles d’entrée.
Montez le volume de la télé ou du boîtier câble/sat.
Vérifier l’état du mode MUTE: le voyant DEL
clignote-t-il vert lentement? Si oui, appuyez
sur la touche MUTE de la SoundBar.
Pas de son du subwoofer.
Consultez la section «Le subwoofer ne s’allume pas.»
Montez le volume du subwoofer à l’aide de la télécommande.
Le voyant DEL du subwoofer clignote-il vert? Si oui,
la connexion sans fil entre la SoundBar et le subwoofer
ne se fait plus. Éteignez la SoundBar et le subwoofer
puis rallumez-les pour rétablir la communication.
Si ça ne règle pas le problème, consultez la section
«SYNCHRONISATION DE LA SOUNDBAR
AU SUBWOOFER SANS FIL» à la page 19.
Le son provenant de la SoundBar est distortionné.
Si possible, essayer de réduire le volume de la source d’entrée.
Traitement audio (voir FAQ à la page 24)—Il y a peut-être
un traitement audio actif entre la source et la SoundBar.
Désactivez ce traitement.
La télécommande fournie ne fonctionne pas.
Assurez-vous que la languette de plastique
qui protège les piles a été retirée.
Remplacez la pile (CR2025).
Le volume des graves n’est pas suffisant.
Montez le contrôle de volume du subwoofer
à l’aide de la télécommande.
Placez le subwoofer plus proche d’un coin dans la pièce.
Placez le subwoofer plus proche de votre position
d’écoute dans la pièce.
La SoundBar n’acquiert pas
les codes de ma télécommande.
Suivez attentivement les instructions de programmation
contenues à la page précédente de ce manuel.
Tenez fermement la télécommande à 30-60 cm
de l’avant de la SoundBar.
Toquez rapidement le bouton de votre propre télécommande
jusqu’à ce que la DEL d’activité clignotte vert.
Note: La SoundBar peut acquérir presque toutes
les commandes IR mais certains protocoles IR ne
peuvent pas être programmés.
Le volume des haut-parleurs de ma télé devient graduelle-
ment plus fort que celui de mon système SoundBar5500.
Désactivez les haut-parleurs de votre télé en suivant
les instructions contenues à la page 21 de ce manuel.
Lorsque vous tenez le bouton de volume de la télécommande
enfoncé, il se peut que le volume de votre télé change plus
rapidement que celui de la SoundBar. Utilisez les touches
situées sur la SoundBar pour régler le volume de
la SoundBar en fonction du volume de votre télé.
La sortie du subwoofer est intermittente
ou le son est faible ou distortionné.
Le subwoofer sans fil est peut-être trop éloigné
de la SoundBar pour recevoir un signal adéquat.
Essayez de le rapprocher.
Mon appareil Bluetooth et la barre ne se connectent pas.
Certains appareils Bluetooth tentent toujours de se
connecter à un appareil avec lequel ils sont appariés;
vous devez désactiver la fonction Bluetooth de ces
appareils pour permettre à d’autres appareils
de se connecter à la SoundBar.

FAQ’S (FOIRE AUX QUESTIONS)
Ma télé n’est pas dotée d’une sortie optique.
Comment puis-je connecter mon audio ?
Il y plusieurs options de connexion audio:
Utilisez la sortie optique de votre composant de source
(récepteur câble/satellite, lecteur DVD, etc.) et connectez-la
directement à la SoundBar5500 en utilisant le câble
optique fourni.
Utilisez la sortie analogique/écouteurs 1/8" (3,5mm)
de votre télé (si disponible) et connectez-la directement
à la SoundBar5500 en utilisant le câble analogique
1/8" (3,5mm) à 1/8" (3,5mm) fourni.
Utilisez les sorties audio RCA (paire blanc/rouge) de votre
télé (si disponible) et connectez-les directement à la
SoundBar5500 en utilisant l’adaptateur 1/8" (3,5mm)
à RCA fourni et le câble analogique 1/8” (3,5mm) à 1/8"
(3,5mm) fourni.
Que faire si mon câble optique est trop court?
Le câble fourni est normalement assez long mais en certains
cas, il pourrait s’avéré trop court. Les magasins d’électronique
pourront vous en fournir un plus long.
Le son semble anormal et distortionné. Pourquoi?
Votre SoundBar5500 requiert une source stéréo
ou Dolby Digital pure et intégrale pour atteindre sa
performance maximale. Si le son vous semble anormal
ou distortionné, vérifiez les menus audio des sources
qui sont connectées à votre SoundBar et assurez-
vous que tout traitement audio est désactivé.
Pourquoi est-ce que je n’arrive pas à programmer la
SoundBar5500 à répondre à ma télécommande?
Il existe plusieurs types de télécommandes et nous nous
sommes efforcés d’assurer la compatibilité de la SoundBar
5500 avec la plupart des marques populaires. Cependant
il se peut que la SoundBar ne soit pas compatible avec
certaines télécommandes. Dans ce cas utilisez la télécom-
mande fournie avec la SoundBar5500 ou essayez
une autre télécommande universelle.
Note: Les télécommandes RF seulement ne fonctionnent
pas avec ce système.
Comment puis-je contrôler la SoundBar5500?
Il y a trois façons de contrôler votre SoundBar5500:
Utilisez les touches tactiles situées à l’avant de la SoundBar.
Utilisez la télécommande fournie.
Programmez la SoundBar5500 à répondre à votre
télécommande actuelle (voir les instructions contenues
dans ce manuel).
Ma SoundBar5500 répondait aux commandes
mais ne répond plus. Que dois-je faire?
Dans cette rare éventualité, éteignez la SoundBar
(interrupteur situé à l’arrière), attendez quelques instants
puis rallumez-la. Ceci devrait rétablir la communication.
Comment effacer une programmation
antécédente de ma télécommande?
Si vous avez programmé votre SoundBar5500 pour
qu’elle réponde à une télécommande et que vous désirez
effacer cette programmation, enfoncez la touche «LEARN»
pour deux secondes lorsque la SoundBar est en mode
d’attente (DEL rouge). La SoundBar répondra toujours
à la petite télécommande fournie.
Est-ce que je peux contrôler le volume du subwoofer
à l’aide des touches tactiles de la SoundBar
si j’ai égaré la télécommande fournie?
Oui. Vous pouvez contrôler le volume du subwoofer
à l’aide des touches tactiles de la SoundBar en toquant
la touche «LEARN» avant d’utiliser les touches de volume.
Lorsque la DEL luit orange, les touches de volume ( / )
contrôlent le volume du subwoofer. Lorsque vous aurez
terminé le réglage, toquez «LEARN» une autre fois.
Pour contacter le Service à la
Clientèle/l’Assistance Technique:
Si vous avez des questions ou des commentaires, n’hésitez
pas à communiquer avec nous par courriel à l’adresse
polkcs@polkaudio.com – ou par téléphone au 800-377-7655
(L-V, 9h-17h30 HE, Canada et É.U. seul.); à l’extérieur des
É.-U. et du Canada, composez le (410)-358-3600.
24 Polk Audio Customer Service 800-377-7655 (Outside USA & Canada: 410-358-3600)

Customer Service Hours of Operation: Monday-Friday, 9AM-5:30PM EST polkcs@polkaudio.com 25
Polk Audio est une compagnie de la DEI Holdings, Inc. Polk Audio,
Polk, The Speaker Specialists, Polk Digital Logic, Instant Home Theater
et SmartBar sont des marques de commerce déposées de Polk Audio, Inc.
Les produits qui se sont mérité le symbole Energy Star®sont conçus
pour protéger l’environnement en réduisant la consommation d’énergie
par leur efficacité énergétique.
Fabriqué sous license de Dolby Laboratories. Dolby et le symbole double-D
sont des marques de commerce déposées de Dolby Laboratories.
La marque de mot Bluetooth®et ses logos sont des marques de commerce
déposées détenues par Bluetooth SIG, Inc. et tout usage des ces marques
par Polk Audio est sous licence. Les autres marques de commerce et appellations
commerciales appartiennent aux sociétés qui en sont respectivement détentrices.
Le logiciel aptX®est protégé par les droits d’auteur de la CSR plc ou d’une
de son groupe d’entreprises. Tous droits réservés. La marque aptX®
et le logo aptX sont des marques de commerce de la CSR plc ou d’une
de son groupe d’entreprises et pourraient être enregistrées dans
un ou plusieurs pays.
Comme tous les dispositifs sans fil, votre SoundBar5500 pourrait être suscepti-
ble à de l’interférence RF provenant de sources comme les fours à micro-ondes,
les systèmes WiFi, les systèmes de jeux vidéo, les téléphones sans fil, les sys-
tèmes Bluetooth, les interphones de surveillance ou autres dispositifs sans fil.
En particulier, tout dispositif utilisant la fréquence 2,4GHz pourrait causer des
ruptures de signal entre le SoundBar5500 et le subwoofer sans fil. Il est aussi
possible que votre système SoundBar5500 affecte d’autres systèmes sans fil.
En général, vous pouvez éviter ces problèmes en éloignant physiquement ces
dispositifs de votre système SoundBar5500. Si possible, gardez une distance de
quelques mètres ou plus entre votre système SoundBar5500 et tout autre dis-
positif sans fil; ceci devrait éliminer les problèmes d’interférence mutuelle. Si
vous percevez des pertes de signal du subwoofer, identifiez d’abord les causes
probables (généralement la proximité d’autres dispositifs sans fil) et tentez de les
éliminer. Toute interférence provenant d’un four à micro-ondes devrait cesser
dès que le four est éteint et peut être éliminée de façon permanente en
éloignant le four du système SoundBar5500.
A NOTE REGARDING WIRELESS PERFORMANCE:
WARNING: LISTEN CAREFULLY
Les haut-parleurs et subwoofers Polk Audio sont capables de générer des niveaux de pression sonore extrêmement élevés
pouvant causer des dommages auditifs graves ou permanents. Polk Audio Inc. ne peut être tenue responsable de perte d’ouïe,
de blessure corporelle ou de dommages matériaux résultant de l’usage abusif de ses produits.
Tenez compte du conseil suivant et faites preuve de discernement lorsque vous contrôlez le volume:
• Limitez l’exposition prolongée à des niveaux sonores excédant 85 décibels (dB).
Référez-vous aux normes de la OSHA (Occupational Health and Safety Administration)
à l’adresse web: http://www.osha.gov/dts/osta/otm/noise/standards_more.html

Declaración de la FCC
1. Este equipo cumple con la Parte 15 del Reglamento de la FCC. Su funcionamiento está sujeto a lo
siguiente:
(1) Este dispositivo no debe causar interferencia perjudicial.
(2) Este dispositivo debe aceptar toda interferencia, incluso la que pueda causarle
un funcionamiento no deseado.
PRECAUCIÓN: Los cambios o modificaciones no aprobados expresamente por la parte responsable
de la conformidad pueden anular la autorización del usuario para hacer funcionar el equipo.
Declaración de interferencia de la Comisión Federal de Comunicaciones
Este equipo ha sido sometido a pruebas y se ha determinado que cumple con los límites establecidos
para un dispositivo digital Clase B en conformidad con la Parte 15 del Reglamento de la FCC. Estos límites se
han fijado para ofrecer una protección razonable contra la interferencia perjudicial en una instalación resi-
dencial. Este equipo genera, emplea y puede radiar energía de radiofrecuencias y, si no se instala y emplea
de acuerdo con las instrucciones, puede causar interferencia perjudicial en las comunicaciones de radio. Sin
embargo, no se garantiza que no se produzca interferencia en una instalación en particular. Si este equipo
causa interferencia perjudicial a la recepción de radio o de televisión, lo cual puede determinarse apagando
y encendiendo el equipo, el usuario puede tratar de corregir la interferencia por medio de una o varias de las
siguientes medidas:
(1) Reorientar o reubicar la antena de recepción.
(2) Alejar el equipo del receptor.
(3) Conectar el equipo y el receptor a tomacorrientes de circuitos diferentes.
(4) Consultar al distribuidor o a un técnico experimentado en radio y televisión.
Advertencia de exposición a las RF
Este equipo se debe instalar y hacer funcionar de acuerdo con las instrucciones. Las antenas de este trans-
misor se deben instalar a más de 20 cm de distancia de todas las personas y no se deben colocar o hacer
funcionar en conjunto con ninguna otra antena o transmisor. A los instaladores y usuarios finales se les deben
dar instrucciones sobre la instalación de la antena y las condiciones de funcionamiento del transmisor para
que cumplan las reglas de la exposición a las radiofrecuencias.
Advertencia de la IC
Este dispositivo cumple con las normas RSS exentas de licencia de Industry Canada.
Su funcionamiento está sujeto a lo siguiente:
(1) Este dispositivo no debe causar interferencia perjudicial.
(2) Este dispositivo debe aceptar toda interferencia, incluso la que pueda causarle un funcionamiento
no deseado. Los cambios o modificaciones no aprobados expresamente por la parte responsable
de la conformidad pueden anular la autorización del usuario para hacer funcionar el equipo.
Las pilas no se deben exponer a calores excesivos como los causados por la luz del sol,
el fuego o fuentes de calor similares.
Información sobre exposición a las radiofrecuencias (RF)
La potencia de salida radiada del dispositivo inalámbrico se encuentra por debajo de los límites de
exposición a las radiofrecuencias de Industry Canada (IC). El dispositivo inalámbrico se debe usar de
manera que la posibilidad de contacto humano durante el funcionamiento normal se minimice.
Este dispositivo ha sido evaluado y se ha demostrado que cumple con los límites de IC sobre
exposición a las radiofrecuencias en condiciones de exposición móvil (las antenas se deben
ubicar a más de 20 cm del cuerpo de las personas).

SUBWOOFER ASSY SB5500
SPEAKER ASSY SB5500

28 Polk Audio Customer Service 800-377-7655 (Outside USA & Canada: 410-358-3600)
CONTROLES DE LA BARRA
Panel de adelante:
1. Aprendizaje (LEARN)—Pone la barra en “modalidad
de aprendizaje” para que usted pueda programarla
a fin de que responda a los comandos de su
control remoto actual.
2. Fuente (SOURCE)—Cambia la fuente de entrada
que se está escuchando.
Fuente 1: digital u óptica
Fuente 2: analógica
Fuente 3: analógica
Fuente 4 Bluetooth ( ): Tecnología inalámbrica
Bluetooth®(Vea “EMPAREJAMIENTO Y CONEXIÓN DEL
DISPOSITIVO BLUETOOTH CON LA SOUNDBAR”
en la página 32.)
Indicador LED—La luz azul indica qué fuente se
ha seleccionado (vea arriba la guía del indicador LED
de la fuente). El indicador LED de la fuente 1 se
enciende de color verde si se está decodificando
una señal Dolby Digital®.
3. Alimentación ( )—Enciende la barra o la pone
en modalidad de espera.
Indicador LED—Se enciende de color verde, anaranjado
o rojo para indicar el estado de funcionamiento.
4. Silenciador (MUTE)—Elimina y restablece el sonido
de la SoundBar5500. El indicador LED parpadea lentamente
de color verde cuando el sonido se ha eliminado y se
ilumina de color verde continuo cuando el sonido
se ha restablecido.
5. Subida y bajada de volumen ( / )—Ajusta
el volumen de la SoundBar5500.
Panel trasero:
6. Interruptor de alimentación (POWER)—Enciende o apaga
la barra, pero se puede dejar encendida todo el tiempo.
7. Conexión de alimentación—La fuente de alimentación
de la barra se conecta aquí.
8. Entradas de sonido (SOURCE 1, 2 y 3)—Donde se conecta
el televisor (u otras fuentes) a la SoundBar5500. Utilice
el cable óptico de 1.82 m (6 pies) incluido (Fuente 1)
o el cable analógico de 3.5 mm (1/8 plg.) a 3.5 mm
(1/8 plg.) incluido (Fuente 2 ó 3).
9. Sincronización (SYNC)—El botón SYNC garantiza que
el subwoofer y la barra se están comunicando (Vea la
sección “SINCRONIZACIÓN DE LA BARRA Y EL
SUBWOOFER INALÁMBRICO” en la página 31).
INDICADOR LED DE ALIMENTACIÓN ( ) DE LA BARRA
Modalidad Normal de Funcionamiento:
Verde continuo—Encendida; todo bien.
Rojo continuo—La barra está en modalidad de espera.
Verde con dos parpadeo—Se ha recibido una señal
de control remoto o de teclado numérico.
Verde con parpadeo lento—Sistema silenciado.
Verde con parpadeo rápido (después de oprimir
el botón de subida de volumen)—Se ha llegado
al volumen máximo.
Verde con parpadeo rápido (al encender)—La barra y
el subwoofer han establecido una conexión inalámbrica.
INDICADOR LED DE ALIMENTACIÓN ( ) DE LA BARRA
Modalidad de Aprendizaje:
(Consulte las instrucciones que hay en la página 33.)
Anaranjado con parpadeo—La barra está
en modalidad de aprendizaje.
Anaranjado continuo—La barra está en modalidad de
aprendizaje y se ha seleccionado una de sus funciones.
Verde con parpadeo—La barra ha aprendido
un comando de control remoto.
Rojo con parpadeo—La barra no ha podido aprender
el comando de control remoto.
Rojo y anaranjado con parpadeo—Los códigos
de infrarrojo aprendidos han sido borrados.
INDICADOR LED DE LA FUENTE:
Verde parpadeando—Se ha reconocido
una fuente Dolby Digital (sólo Fuente 1).
Verde continuo—Se ha recibido la señal de una fuente
Dolby Digital y se está decodificando (sólo Fuente 1).
Azul continuo—Se ha recibido la señal de una fuente
PCM o analógica.
123
45
6789
SOURCE MUTELEARN
SOURCE 1
SOURCE 2
SOURCE 3
Bluetooth
GUÍA DEL INDICADOR
LED DE LA FUENTE
ADELANTE
ATRÁS
2.2A
20V
132
SOURCE SYNC
POWER
OFF
ON
44W

Customer Service Hours of Operation: Monday-Friday, 9AM-5:30PM EST polkcs@polkaudio.com 29
CONTROLES DEL SUBWOOFER
1. Interruptor de alimentación (POWER)—Enciende o apaga
el subwoofer inalámbrico, pero se puede dejar encendido
todo el tiempo.
2. Conexión de alimentación (AC INPUT)—El cordón
de alimentación del subwoofer se conecta aquí.
INDICADOR LED DEL SUBWOOFER
La luz de estado del subwoofer inalámbrico indica lo siguiente:
Cuando la luz se pone verde:
a. Continua—La barra y el subwoofer están conectados.
b. Parpadeando lentamente—El subwoofer
está buscando a la barra.
c. Parpadeando rápidamente—El subwoofer
está conectándose con la barra.
Cuando la luz se pone roja:
a. Continua—El subwoofer está en modalidad de espera.
b. Parpadeando—El subwoofer está en modalidad
de protección.
CONTROL REMOTO
1. Alimentación ( )—Enciende la barra o la pone
en modalidad de espera.
2. Silenciador (MUTE)—Elimina el sonido
de la SoundBar5500.
3. Fuente (SOURCE 1, 2, 3 y )—Cambia la fuente
de entrada que se está escuchando.
4. Subida y bajada de volumen (VOL, + / – )
Ajusta el volumen principal del sistema de
SoundBar5500.
5. Subida y bajada de volumen del subwoofer
(SUB, + / – )—Ajusta el volumen del subwoofer.
Especificaciones
Dimensiones
SoundBar 3 3/4 plg. de alto x 31 plg. de
ancho x 2 1/4 plg. de fondo
(9.53 cm x 78.74 cm x 5.72 cm)
Subwoofer 10 plg. de alto x 10 1/4 plg.
de ancho x 10 3/4 plg. de fondo
(25.4 cm x 26.04 cm x 27.31 cm)
Peso
SoundBar 5 lbs (2.3 kg)
Subwoofer 7 lbs (3.2 kg)
Requisitos de alimentación
SoundBar 20V, 2.2 A
Subwoofer 100V a 240V~50 Hz a 60 Hz, 50W
Modelo SoundBar5500
Pila del control CR2025
remoto
UBICACIÓN DE LA SOUNDBAR5500
1
2
12
3
45

30 Polk Audio Customer Service 800-377-7655 (Outside USA & Canada: 410-358-3600)
PARA LOGRAR EL MEJOR SONIDO
Es fácil. La barra viene con las patas de goma adheridas
de fábrica, de manera que se asienta firmemente en cualquier
superficie plana. Centre la barra debajo de la pantalla del televisor.
Si el televisor está alojado en un centro de medios, puede poner
la barra encima del televisor.
Si el televisor está montado en la pared, la barra se puede
montar directamente debajo. La barra tiene ranuras en forma
de ojo de cerradura para facilitar esto.
Nota: Las patas de goma son desprendibles y se pueden
quitar por completo (para montar la barra en la pared)
o pueden moverse a lo largo de la superficie inferior
de la barra, dependiendo de la instalación.
UBICACIÓN DEL SUBWOOFER
PARA LOGRAR EL MEJOR SONIDO
Es realmente fácil ubicar el sub-
woofer, que puede ir práctica-
mente en cualquier parte de
la sala. Además, no tiene que
preocuparse de conectar cables,
porque el único cable que hay
que enchufar es el cordón de
alimentación. Y eso es todo.
Este es un truquito: Si pone el
subwoofer en una esquina
de la sala, se le refuerza la salida y suena más fuerte.
Dimensiones generales
1. 3 3/4 plg. de alto (9.53 cm)
2. 31 plg. de ancho (78.74 cm)
Ranuras en forma de ojo de cerradura
3. 19 13/16 plg. de ancho (50.32 cm)
Desde la parte de arriba de la barra hasta
las ranuras en forma de ojo de cerradura
4. 1 5/8 plg. (4.13 cm)
Nota: Si la SoundBar se monta en la pared, las anclas
de pared se deben fijar correctamente en la pared y deben
soportar el peso de la SoundBar, que es 5 lbs (2.3 kg).
SOURCE
MUTE
LEARN
SOURCE
MUTE
LEARN
Barra montada sobre una repisa frente al televisor Barra montada en la pared
2
1
2
3
4

Customer Service Hours of Operation: Monday-Friday, 9AM-5:30PM EST polkcs@polkaudio.com 31
CONEXIÓN DE LA BARRA
Esto es realmente fácil también. Es probable que usted tenga
varias fuentes de audio: el televisor, el reproductor de DVD
o la caja de cable o satélite. La barra es capaz de aceptar audio
de hasta tres fuentes diferentes. Lo más fácil es conectar la salida
de audio óptica del televisor a la entrada óptica ubicada en la parte
de atrás de la barra. Este método da la mayor calidad de audio
independientemente de que se esté viendo televisión
o su DVD preferido.
Si el televisor no tiene salida óptica, puede conectar la salida
óptica del reproductor de DVD o de la caja de cable o satélite
a la entrada óptica de la barra. Luego puede conectar sus
otras fuentes de audio a las otras entradas de la barra.
SINCRONIZACIÓN DE LA BARRA
Y EL SUBWOOFER INALÁMBRICO
La SoundBar5500 y el subwoofer inalámbrico vienen preestableci-
dos de fábrica para que funcionen juntos. Si
el subwoofer inalámbrico deja de recibir la señal de audio,
siga estas instrucciones para restablecer la conexión.
1. Pase el interruptor principal de corriente alterna
del subwoofer a la posición de apagado (OFF).
2. Oprima y mantenga oprimido el botón SYNC ubicado
en la parte de atrás de la barra durante tres (3) segundos.
3. El indicador LED ubicado en la parte de atrás de la barra
parpadea indicando que la barra y el subwoofer están
preparados para conectarse.
4. Pase el interruptor principal de corriente alterna del
subwoofer a la posición de encendido (ON). Cuando
el indicador LED del subwoofer se ponga verde continuo,
la barra y el subwoofer están conectados y listos para usar.
CONEXIÓN DEL SUBWOOFER
El subwoofer recibe una señal de audio inalámbrica de la barra;
lo único que usted tiene que hacer es enchufar el cordón de
alimentación y asegurarse de que el interruptor de alimentación
principal esté en la posición de encendido (ON).
2.2A
20V
132
SOURCE SYNC
POWER
OFF
ON
44W
L
R
ANALOG
AUDIO OUTPUT
DIGITAL OPTICAL
AUDIO OUTPUT
Televisión o Caja
de Cable/Satélite
Nota: Si es necesario
quite la tapa protectora
antes de insertar el cable.

32 Polk Audio Customer Service 800-377-7655 (Outside USA & Canada: 410-358-3600)
TECNOLOGÍA INALÁMBRICA BLUETOOTH®
Para usar su dispositivo de tecnología inalámbrica Bluetooth
con la SoundBar5500, lo primero que debe hacer
es emparejar el dispositivo con la SoundBar.
El emparejamiento le permite a su dispositivo Bluetooth
conectarse con la SoundBar inalámbricamente.
El emparejamiento es como un apretón de manos en
el cual el dispositivo Bluetooth y la SoundBar5500
se conocen e intercambien información.
Es necesario emparejar la SoundBar con el dispositivo Bluetooth
sólo una vez para que se produzca este intercambio de informa-
ción. Después de eso, basta seleccionar “polk soundbar”
de la lista de su dispositivo para establecer la conexión
con la SoundBar.
La SoundBar puede memorizar ocho dispositivos Bluetooth.
Si se emparejan demasiados dispositivos después del suyo,
es posible que su dispositivo sea retirado de la memoria.
Emparejamiento y conexión del dispositivo
Bluetooth con la SoundBar:
1. Asegúrese de que el dispositivo Bluetooth
y la SoundBar5500 estén encendidos.
2. Active la función Bluetooth del dispositivo fuente.
Consulte las instrucciones del manual del dispositivo.
3. Oprima el botón de fuente Bluetooth del control
remoto de la SoundBar o el botón fuente (SOURCE)
de la SoundBar hasta seleccionar la modalidad
de fuente Bluetooth.
El símbolo Bluetooth se ilumina y comienza a pulsar lentamente
a medida que busca el dispositivo emparejado.
4. La SoundBar aparece en el dispositivo fuente lista para
emparejarse y/o conectarse. Seleccione “polk soundbar”
en su dispositivo para iniciar el proceso de conexión.
5. Después de un corto período de tiempo (5 segundos),
los dos dispositivos deben quedar conectados. Luego
se oye un tono corto y el símbolo de fuente Bluetooth
comienza a brillar de color azul continuo.
6. Reproduzca su música desde el dispositivo.
Nota: Si el dispositivo pide una contraseña para emparejarse
con la SoundBar, introduzca “0000.”
Desconexión de un dispositivo Bluetooth:
1. Oprima y suelte el botón Bluetooth del control remoto, u
2. Oprima y suelte el botón fuente (SOURCE)
de la SoundBar, o
3. Desactive o desconecte la función Bluetooth del dispositivo.
Cuando se desconecta, la SoundBar emite un tono corto y el
símbolo de fuente Bluetooth comienza a pulsar lentamente.
Conexión automática:
Cuando desee conectar la SoundBar al último dispositivo
con el cual se emparejo y escuchar música, haga lo siguiente.
1. Active la función Bluetooth de su dispositivo.
2. Oprima el botón de fuente Bluetooth del control remoto
o el botón fuente (SOURCE) de la SoundBar hasta
seleccionar la modalidad de fuente Bluetooth.
3. Después de un corto período de tiempo, los dos
dispositivos se conectan automáticamente, se oye
un tono corto y el símbolo de fuente Bluetooth
pasa a brillar de color azul continuo.
Nota: Por omisión, el último dispositivo Bluetooth conectado
se conecta automáticamente, si está disponible.
Emparejamiento y/o conexión con un dispositivo
desconectado cuando la SoundBar está
en modalidad de fuente Bluetooth:
1. Active la función Bluetooth del dispositivo fuente Bluetooth.
Consulte el manual de instrucciones del dispositivo.
a. La SoundBar aparecerá en el dispositivo fuente
lista para emparejarse y conectarse. Seleccione
“polk soundbar” en su dispositivo para iniciar
el proceso de emparejamiento y conexión.
Después de un corto período de tiempo, los dos dispositivos
deben quedar emparejados y conectados. Se oye un tono
corto y el símbolo de fuente Bluetooth pasa a brillar
de color azul continuo.
Desconexión:
Nota: Cuando la SoundBar sale de la modalidad dormir
(SLEEP) estando en modalidad de fuente Bluetooth,
la SoundBar se conecta automáticamente con el
último dispositivo emparejado si este tiene la función
Bluetooth encendida.
SOURCELEARN O
Customer Service Hours of Operation: Monday-Friday, 9AM-5:30PM EST polkcs@polkaudio.com 33
OPTIMIZACIÓN DEL SONIDO CON LOS
ALTAVOCES DEL TELEVISOR ENCENDIDOS
El sonido debe salir por la barra. Si no lo oye, súbale el volumen
a la barra con los botones de control de volumen.
Si la barra está conectada al televisor, es muy probable que
los altavoces del televisor también estén sonando. Es imposible
dar instrucciones específicas para silenciar los altavoces de todos
los televisores, pero hay una manera de hacerlo que sirve para
muchos de los televisores que hay en el mercado.
1. Busque el botón “Menú” o “Configuración”
(Setup) en el control remoto del televisor.
2. Oprímalo. Deberá ver un menú en pantalla.
3. Busque la opción que controla las funciones
de audio y selecciónela.
La configuración para silenciar los altavoces internos
del televisor debe estar ahí.
Si no puede silenciar los altavoces internos del televisor, no se
preocupe. La SoundBar5500 para hará que su televisor suene
mucho mejor. Para su desempeño óptimo, la barra debe sonar
más fuerte que el televisor. Siga estos pasos para ajustar
el balance de volumen entre el televisor y la barra:
1. Si es necesario, programe la barra para que responda
a los comandos de subida y bajada de volumen del control
remoto del televisor. (Vea la sección “CONFIGURACIÓN
DEL CONTROL REMOTO DE LA SOUNDBAR5500”
página 34.)
2. Baje al mínimo el volumen del televisor con los botones
de control del televisor.
3. Luego, con los botones de control de volumen de la barra,
fije el volumen a un nivel normal de audición (no lo haga
con el control remoto).
Después de hacer estos ajustes, la SoundBar5500 debe sonar
siempre más fuerte que los altavoces del televisor. Luego,
ajuste el volumen con el control remoto del televisor
como lo hace normalmente.
AJUSTES MENORES DEL
VOLUMEN DEL SUBWOOFER
Lo que hay que hacer a continuación es ajustar el subwoofer
para que se combine con la barra. Esto hace que el sistema
produzca el mejor sonido posible.
Para fijar el volumen del subwoofer, reproduzca una variedad
de materiales de sonido: un poco de música, la banda de sonido
de una película con grandes efectos especiales, un capítulo
de una película o la parte de un concierto en que haya gente
hablando. Ajuste el volumen hasta que lo que oiga le suene
natural desde la posición del espectador.
CONFIGURACIÓN DE UN CONTROL
REMOTO PARA LA SOUNDBAR
NOTA DE PROGRAMACIÓN SOBRE LA SMARTBAR™:
Para que la SoundBar responda a su control remoto, es
INDISPENSABLE programarla PRIMERO para que responda
al control remoto IR (infrarrojo) original del televisor. Los
controles remotos de RF (radiofrecuencias) no funcionan.
Se pueden programar otros controles remotos (de cable o
de satélite) sólo después de haber programado la barra para
que responda al control remoto infrarrojo del televisor.
Instrucciones de programación: La SoundBar viene
programada para responder al control remoto que se incluye
con el producto. Sin embargo, le recomendamos encarecida-
mente que, siguiendo las instrucciones que se presentan
a continuación, programe la SoundBar para que también responda
a su control remoto actual. Esto le permitirá hacer funcionar
todos los componentes con un solo control remoto.
Mientras esté programando la SoundBar, ignore todo
lo que aparezca en la pantalla del televisor.

34 Polk Audio Customer Service 800-377-7655 (Outside USA & Canada: 410-358-3600)
2
Indicador LED
3
5
4
Indicador LED
VOL
SOURCELEARN
MUTE
Indicador LED
Oprima y mantenga oprimido el botón de aprendizaje
(LEARN) durante 2 segundos o hasta que el indicador
LED parpadee de color anaranjado, luego suelte
el botón de aprendizaje (LEARN).
1La SoundBar está encendida y el indicador LED es de
color verde constante. La barra está produciendo sonido.
Mantenga el control remoto del televisor de
30 a 60 cm de distancia de la SoundBar.
Oprima y suelte el botón de subida de volumen “ .”
El indicador LED pasa a color anaranjado constante.
Parpadea de color
anaranjado
Anaranjado constante
Parpadea con cada golpecito
Indicador LED
Parpadea de color verde,
luego pasa a color
verde constante.
Dele de4a8apretoncitos al botón de subida
de volumen del control remoto del televisor,
un apretoncito por segundo. Dele apretoncitos,
no lo mantenga oprimido.
6
VOL
Cuando el indicador LED parpadee de color verde
durante 3 segundos, el comando ha sido aprendido.
El indicador LED pasa a color verde constante.
SOURCE
MUTE
LEARN
30a60cm
Ejemplo: Para enseñarle a la barra el comando de subida
de volumen de su control remoto:
Verifique que el comando funcione.
Repita los pasos del 1 al 6 para programar los botones
de bajada de volumen ( ), fuente (Source), silenciador
(Mute) y alimentación ( ).
Nota: Si la barra no aprende ciertos códigos de control remoto
IR, el indicador LED de alimentación parpadeará de color rojo.
Borre los códigos programados anteriormente (vea lo que
aparece a continuación) y repita cuidadosamente los pasos
1 a 6 que se han indicado.
Procedimiento de borrado de códigos: Si ha programado la
SoundBar para que responda a un control remoto y ya
no desea que lo haga, borre los códigos oprimiendo el botón
de aprendizaje (LEARN) durante aproximadamente dos segundos
mientras la unidad se encuentre en modalidad de espera (el indi-
cador LED está de color rojo). Sabrá que los códigos previamente
aprendidos han sido borrados cuando el indicador LED de
alimentación parpadee de color anaranjado dos veces.
Nota: Este procedimiento elimina TODA la programación del
control remoto de la barra. Si sólo desea cambiar la programación
de algunos de los botones de la barra, siga los seis pasos
previamente descritos para restablecer cualquiera de las
programaciones anteriores.
La SoundBar continuará respondiendo al control remoto
tipo tarjeta de crédito suministrado.
Control de volumen del subwoofer desde de la barra.
Mientras la unidad esté encendida y el indicador LED esté
de color verde constante.
1. Dele un apretoncito al botón de aprendizaje (LEARN), el
indicador LED de alimentación ( ) pasa a color anaranjado.
2. Para ajustar el volumen del subwoofer, dele apretoncitos
al botón de subida de volumen ( ) o bajada de volumen ( ).
3. Para volver al volumen principal, dele un apretoncito
al botón de aprendizaje (LEARN) nuevamente.
El indicador LED de alimentación ( ) pasa
a color verde.
Nota: Los bajos también se pueden ajustar con el control
remoto que se incluye.

DETECCIÓN Y REPARACIÓN DE AVERÍAS
La barra no se enciende.
Asegúrese de haber enchufado la fuente de alimentación
en un enchufe de pared con corriente.
Asegúrese de que todos los componentes de la fuente
de alimentación estén conectados correctamente.
Asegúrese de que la fuente de alimentación esté
correctamente conectada a la entrada de alimentación
de la barra.
Asegúrese de que el interruptor de alimentación del
panel trasero esté en la posición de encendido (ON).
El subwoofer no se enciende.
Asegúrese de que el subwoofer esté enchufado
en un enchufe de pared con corriente.
Asegúrese de que el interruptor de alimentación del
panel trasero esté en la posición de encendido (ON).
No sale sonido por la barra.
Vea si el televisor o la caja de televisión por cable está
produciendo señal. Si es necesario, pruebe con otra fuente.
Asegúrese de que a la barra le esté llegando corriente
y que esté encendida.
Súbale el volumen a la barra.
Revise los cables de entrada para asegurarse
de que están conectados firmemente.
Súbale el volumen al televisor o a la caja
de televisión por cable o satélite.
Revise el estado del silenciador: ¿Está la luz de estado
de la barra parpadeando lentamente en verde? De ser
así, oprima el botón MUTE de la barra.
No sale sonido por el subwoofer.
Vea la sección “El subwoofer no se enciende.”
Súbale el volumen al subwoofer con el control remoto.
¿Está la luz indicadora de estado del subwoofer parpadeando
de color verde? De ser así, se ha perdido la conexión inalám-
brica entre la barra y el subwoofer. Apague la SoundBar
5500 y el subwoofer. Luego vuelva a encenderlos para
restablecer la comunicación. Si esto no resuelve el problema,
consulte la sección “SINCRONIZACIÓN DE LA BARRA Y EL
SUBWOOFER INALÁMBRICO,” que aparece en la página 31.
El sonido de la barra sale distorsionado.
Bájele el volumen a la fuente de audio, si es posible.
Procesamiento de audio (vea las preguntas frecuentes que
hay en la página 36). Es posible que la señal se haya procesado
antes de llegar a la barra. Desactive este procesamiento.
El control remoto incluido no funciona.
Asegúrese de que se le haya quitado la lengüeta
protectora de plástico.
Cámbiele la pila (CR2025)
La salida de bajos no es suficientemente alta.
Súbale el volumen al subwoofer con el control remoto.
Acerque el subwoofer a una esquina de la sala.
Acerque el subwoofer a la posición de audición.
La barra no aprende los comandos del control remoto.
Siga cuidadosamente las instrucciones de programación
de la página anterior de este manual.
Sostenga establemente el control remoto a una distancia
aproximada de 30 a 60 cm (1 a 2 pies) de la parte
de adelante de la barra.
Dele golpecitos rápidos al botón de su control remoto
actual hasta que el indicador LED de estado parpadee
de color verde.
Nota: La barra aprende casi todos los comandos infrarrojos,
pero algunos protocolos infrarrojos no se pueden programar.
El volumen de los altavoces del televisor sube paulatina-
mente hasta superar el del sistema SoundBar5500.
Apague los altavoces del televisor según las instrucciones
de la página 33 de este manual.
Es posible que, cuando el botón de volumen del control
remoto se mantiene oprimido, el televisor cambie de volumen
más rápido que la barra. Ajuste el volumen de la barra con
sus propios botones para equilibrarlo con el de los altavoces
del televisor.
La salida del subwoofer es intermitente o el sonido
que produce es débil o distorsionado.
Es posible que el subwoofer inalámbrico esté demasiado
lejos de la barra para que le llegue una señal lo suficien-
temente fuerte. Acérquelo.
El dispositivo Bluetooth y la SoundBar no se desconectan.
Algunos dispositivos Bluetooth intentan continuamente
conectarse con el dispositivo emparejado, así es que
se debe desactivar la función Bluetooth del dispositivo
para que otros dispositivos se puedan conectar
a la SoundBar.
Customer Service Hours of Operation: Monday-Friday, 9AM-5:30PM EST polkcs@polkaudio.com 35

FAQ’S (PREGUNTAS FRECUENTES)
Mi televisor no tiene salida óptica.
¿Cómo conecto el audio?
Hay varias maneras de conectar el audio:
Conecte la salida óptica de la unidad fuente (caja de cable
o de satélite, reproductor de DVD, etc.) directamente a la
SoundBar5500 con el cable óptico que se suministra.
Conecte la salida analógica o de auriculares de 1/8 de plg.
(3.5 mm) del televisor (si tiene) directamente a la SoundBar
5500 con el cable analógico de 1/8 de plg. (3.5 mm)
a 1/8 de plg. (3.5 mm) que se suministra.
Conecte las salidas de audio RCA (par blanco y rojo) del
televisor (si tiene) directamente a la SoundBar5500
con el cable analógico de 1/8 de plg. (3.5 mm) a 1/8 de plg.
(3.5 mm) y el adaptador de 1/8 de plg. (3.5 mm) a RCA
que se suministran.
¿Qué pasa si el cable óptico que trae
la SoundBar5500 es demasiado corto?
Hicimos lo posible por suministrar un cable de longitud
adecuada; sin embargo, puede haber situaciones de con-
figuración en que el cable sea demasiado corto. Si esa
es su situación, en la tienda de aparatos electrónicos local
encontrará cables que satisfagan sus requisitos de longitud.
El sonido producido es extraño y está distorsionado.
La SoundBar5500 requiere una señal estereofónica
o Dolby Digital limpia y sin alteraciones para producir sonido
apropiado. Si la SoundBar5500 produce sonido extraño
o distorsionado, revise los menús de audio de las fuentes
conectadas a la SoundBar5500 y asegúrese de que
tengan desactivado el procesamiento de audio.
¿Por qué no puedo programar la SoundBar5500
para que responda a mi control remoto?
Hay muchos formatos de control remoto, y hemos hecho
lo posible para que la SoundBar5500 sea compatible
con los controles remotos de las marcas más populares.
Sin embargo, puede haber casos en que la SoundBar
5500 no sea capaz de aprender los códigos de su control
remoto. En ese caso, utilice el control remoto que viene
con la SoundBar5500 o pruebe con otro control
remoto universal.
Nota: Los controles remotos de sólo RF (radiofrecuencias)
no funcionan con este sistema
¿Cómo controlo la SoundBar5500?
Hay tres maneras de controlar la SoundBar5500:
Con los botones sensibles al tacto que hay en
la parte de adelante de la barra.
Con el control remoto que viene con la SoundBar5500.
Por medio de programación para que la SoundBar5500
responda al control remoto que usted ya tiene (vea las
instrucciones incluidas).
La SoundBar5500 estaba respondiendo a los comandos pero
ahora no. ¿Qué debo hacer?
En esta situación poco común, simplemente apague
la SoundBar5500 (con el interruptor ubicado en la parte
de atrás), espere unos segundos y luego vuelva a encenderla.
Esto debe restaurar el control.
¿Cómo borro los comandos de control
remoto previamente aprendidos?
Si ha programado la SoundBar5500 para que responda
a un control remoto y ya no desea que sea así, puede borrar
los códigos oprimiendo la tecla de aprendizaje (LEARN) durante
aproximadamente dos segundos con la unidad en modalidad
de espera (el indicador LED de alimentación iluminado de
color rojo). La SoundBar5500 continua respondiendo a los
códigos del control remoto tamaño tarjeta de crédito incluido.
¿Puedo ajustar el control de nivel del subwoofer
desde el teclado de la barra si no puedo ubicar
el control remoto incluido?
Sí. Se puede controlar el volumen del subwoofer desde
el teclado de la barra dándole un golpecito al botón
de aprendizaje (LEARN) antes de presionar los botones
de volumen. Cuando el indicador LED de alimentación
brilla de color naranja, las teclas de volumen ( / )
controlan el volumen del subwoofer. Cuando termine
con el ajuste, dele un golpecito al botón de aprendizaje
nuevamente.
Para comunicarse con el servicio al cliente o el apoyo técnico:
Si tiene preguntas o comentarios, no dude en llamarnos
o enviarnos un mensaje de correo electrónico. En Estados
Unidos y Canadá, llame al servicio al cliente de Polk:
800-377-7655 (lunes a viernes de 9 a 5:30, hora Este) o envíe
un mensaje de correo electrónico a polkcs@polkaudio.com.
Fuera de Estados Unidos, llame al 410-358-3600.
36 Polk Audio Customer Service 800-377-7655 (Outside USA & Canada: 410-358-3600)

Customer Service Hours of Operation: Monday-Friday, 9AM-5:30PM EST polkcs@polkaudio.com 37
Polk Audio es una empresa de DEI Holdings, Inc. Polk Audio, Polk,
The Speaker Specialists, Polk Digital Logic, Instant Home Theater
y SmartBar son marcas comerciales registradas de Polk Audio, Inc.
Los productos que han ganado la certificación Energy Star®han sido
diseñados para proteger el medio ambiente por medio de una mayor
eficiencia energética.
Fabricado bajo licencia de Dolby Laboratories. Dolby y el símbolo
de la doble D son marcas comerciales registradas de Dolby Laboratories.
La marca y los logotipos Bluetooth®son marcas comerciales propiedad
de Bluetooth SIG, Inc. y todo uso de tales marcas por parte de Polk Audio
se hace bajo licencia. Las otras marcas y nombres comerciales son
propiedad de sus respectivos dueños.
El software aptX®tiene derechos de autor de CSR plc o las empresas
de su grupo. Reservados todos los derechos. La marca aptX®y el logotipo
aptX son marcas comerciales de CSR plc o de una de las empresas
de su grupo y pueden estar registradas en una o varias jurisdicciones.
Como todos los dispositivos inalámbricos, la SoundBar5500 puede ser suscepti-
ble a interferencia de radiofrecuencia de fuentes tales como hornos de microon-
das, sistemas Wi-Fi de computadora, sistemas de juegos de video, teléfonos
inalámbricos, sistemas Bluetooth, monitores de bebé y otros dispositivos. En
particular, los dispositivos que funcionan en la banda de 2.4 GHz pueden causar
intermitencia en la conexión inalámbrica entre el altavoz SoundBar5500 y el sub-
woofer. También es posible que el sistema SoundBar5500 afecte a otros sis-
temas inalámbricos. En la mayoría de los casos, los problemas de funcionamien-
to inalámbrico se pueden resolver separando físicamente los dispositivos del sis-
tema de la SoundBar5500. Mantener una distancia de varios pies o más entre el
altavoz del sistema SoundBar5500 y cualquier otro dispositivo debe prevenir los
efectos de interferencia mutua. Si aún así usted nota que hay pérdidas de señal
del subwoofer, determine la causa original (que la mayoría de las veces es la
proximidad de otros dispositivos inalámbricos) y resuelva el problema según eso.
Los efectos de interferencia de los hornos de microondas cesan cuando el horno
se apaga, y la solución permanente es alejar el horno de microondas del sistema
SoundBar5500.
Nota sobre rendimiento inalámbrico:
ADVERTENCIA: ESCUCHE CUIDADOSAMENTE.
Los altavoces y subwoofers de Polk Audio son capaces de reproducir sonido a volúmenes extremadamente altos, lo cual puede
causar daños graves o permanentes al oído. Polk Audio, Inc. no acepta ninguna responsabilidad por pérdida del oído, lesiones
corporales o daños a la propiedad producidos por el uso inadecuado de sus productos.
Tenga en mente estas directrices y ponga siempre en práctica su sentido común al controlar el volumen:
• Limite la duración de la exposición prolongada a volúmenes de más de 85 decibles (dB).
O bien, consulte las directrices de la Administración de Seguridad y Salud Ocupacional (Occupational Health and
Safety Administration, OSHA) en http://www.osha.gov/dts/osta/otm/noise/standards_more.html.
38 Polk Audio Customer Service 800-377-7655 (Outside USA & Canada: 410-358-3600)
LIMITED WARRANTY
Polk Audio, Inc., warrants to the original retail purchaser only. This warranty will terminate
automatically prior to its stated expiration if the original retail purchaser sells or transfers the Product
to any other party. Polk Audio, Inc., warrants, to the original retail purchaser only, that the LOUD-
SPEAKER(S), PASSIVE CROSSOVER COMPONENT(S) and ENCLOSURE on this Polk Audio Loudspeaker
Product will be free from defects in material and workmanship for a period of three (3) years
from the date of original retail purchase from a Polk Audio Authorized Dealer. Furthermore, Polk
Audio, Inc., warrants, to the original retail purchaser only, that any AMPLIFIER OR OTHER ELECTRONIC
COMPONENT that may be included in this Polk Audio Loudspeaker Product will be free from defects
in material and workmanship for a period of one (1) year from the date of original retail purchase
from a Polk Audio Authorized Dealer. To allow Polk Audio to offer the best possible warranty service,
please fill out the Product Registration Card(s) and send it to the Factory at the address provided
on the Product Registration Card(s) within ten (10) days of the date of original purchase. Defective
Products must be shipped, together with proof of purchase, prepaid insured to the Polk Audio
Authorized Dealer from whom you purchased the Product, or to the Factory at 1 Viper Way, Vista,
California 92081. Products must be shipped in the original shipping container or its equivalent;
in any case the risk of loss or damage in transit is to be borne by you.
If upon examination at the Factory or Polk Audio Authorized Dealer it is determined that the unit
was defective in materials or workmanship at any time during this Warranty period, Polk Audio
or the Polk Audio Authorized Dealer will, at its option, repair or replace this Product at no additional
charge, except as set forth below. All replaced parts and Products become the property of Polk Audio.
Products replaced or repaired under this warranty will be returned to you, within a reasonable time,
freight prepaid. This warranty does not include service or parts to repair damage caused by accident,
disaster, misuse, abuse, negligence, inadequate packing or shipping procedures, commercial use,
voltage inputs in excess of the rated maximum of the unit, cosmetic appearance of cabinetry not
directly attributable to defect in materials or workmanship, or service, repair, or modification of the
Product which has not been authorized or approved by Polk Audio. This warranty shall terminate
if the serial number on the Product has been removed, tampered with or defaced.
This warranty is in lieu of all other expressed Warranties. If this Product is defective in materials or
workmanship as warranted above, your sole remedy shall be repair or replacement as provided above.
In no event will Polk Audio, Inc. be liable to you for any incidental or consequential damages arising
out of the use or inability to use the Product, even if Polk Audio, Inc., or a Polk Audio Authorized
Dealer, has been advised of the possibility of such damages, or for any claim by any other party. Some
states do not allow the exclusion or limitation of consequential damages, so the above limitation and
exclusion may not apply to you. All implied warranties on this Product are limited to the duration of
this expressed Warranty. Some states do not allow limitation on how long an implied Warranty lasts,
so the above limitations may not apply to you. This Warranty gives you specific legal rights, and you
also may have other rights which vary from state to state. This Warranty applies only to Products
purchased in the United States of America, its possessions, and U.S. and NATO armed forces
exchanges and audio clubs.The Warranty terms and conditions applicable to Products purchased
in other countries are available from the Polk Audio Authorized Distributors in such countries.
CUSTOMER SERVICE
Thank you for your Polk Audio purchase. If you have a question or comment, please feel free
to call us or email us. In North America and Canada, call Polk Audio Customer Service 800-377-7655
(M-F, 9-5:30 EST) or via email polkcs@polkaudio.com. Outside the US, call 410-358-3600.
GARANTIE LIMITÉE
La garantie de Polk Audio, Inc., n’est valide que pour l’acheteur au détail original. La garantie sera
automatiquement annulée avant sa date d’expiration spécifiée si l’acheteur original vend ou transfère
le produit à tout autre parti. Polk Audio, Inc., garantit—à l’acheteur au détail original seulement—
que le ou les HAUT-PARLEUR(S), COMPOSANTE(S) DE FILTRE PASSIF et CAISSON(S) de ce produit
Polk Audio seront exempts de tout défaut attribuable aux pièces d’origine et à la main d’oeuvre pour
une période de Trois (3) ans à partir de la date de l’achat au détail original chez un revendeur agréé
Polk Audio. En outre, Polk Audio, Inc., garantit—à l’acheteur au détail original seulement—que TOUT
AMPLIFICATEUR OU TOUT AUTRE COMPOSANTE ÉLECTRONIQUE qui pourrait faire partie ce produit
Polk Audio sera exempt de tout défaut attribuable aux pièces d’origine et à la main d’oeuvre pour
une période de un (1) ans à partir de la date de l’achat au détail original chez un revendeur agréé
Polk Audio. Pour permettre à Polk Audio de vous offrir le meilleur service de garantie possible,
veuillez enregistrer votre nouveau produit en ligne à l’adresse web: www.polkaudio.com/registration
ou contactez le Service à la Clientèle de Polk au 800-377-7655 aux États-Unis et au Canada
(à l’extérieur des. U.: 410-358-3600) dans les dix (10) jours suivant la date de l’achat original.
Assurez-vous de conserver votre reçu d’achat original. Les produits défectueux doivent être
expédiés, avec une preuve d’achat, francs de port et dûment assurés, au revendeur agréé
Polk Audio de qui vous avez acheté le produit, ou à l’usine Polk Audio, à l’adresse: 1 Viper Way,
Vista, California 92081. Les produits doivent être expédiés dans leur carton d’expédition original
ou dans un contenant équivalent. En tout cas le propriétaire doit assumer tout risque de perte
ou de dommage en transit.
Si, suite à l’examen du produit à l’usine Polk ou chez le marchand agréé Polk Audio, il est déter-
miné que la défectuosité est imputable aux matériaux d’origine ou à la main d’oeuvre au cours
de la période de la garantie spécifiée, Polk Audio ou le revendeur Polk Audio, à sa guise, réparera
ou remplacera le produit sans frais additionnels et selon les conditions décrites ci-dessous. Toute
pièce ou produit remplacé devient la propriété de Polk Audio. Les produits réparés ou remplacés
sous la garantie vous seront expédiés francs de port dans un délai raisonnable. Cette garantie
n’inclut pas le service ou les pièces nécessaires à la réparation des dommages provoqués par
accident, désastre, abus, négligence, mode d'expédition ou emballage inadéquat, utilisation
commerciale, tensions supérieures au maximum prescrit pour l’unité, aspect visuel du meuble
non directement attribuable à un défaut de pièces d’origine ou de main d’oeuvre, ou par le service,
la réparation, ou toute modification du produit qui n’a pas été autorisé ou approuvé par Polk Audio.
Cette garantie sera annulée si le numéro de série sur le produit a été enlevé, altéré ou falsifié. Cette
garantie prend préséance sur toutes autres garanties énoncées. Si la défectuosité de ce produit est
imputable aux pièces d’origine ou à la main d’oeuvre selon les conditions de la garantie exprimées
ci-dessus, votre seul recourt sera la réparation ou le remplacement selon les conditions décrites
ci-dessus. Dans aucun cas Polk Audio, Inc. pourra-t-elle être tenue responsable pour tout dommage
accessoire ou indirect causé par l’utilisation ou par l’incapacité d’utilisation du produit, même
si Polk Audio, Inc. ou un revendeur agréé Polk Audio, a été avisé de la possibilité de tel dommage,
ou pour toute réclamation par tout autre parti. Certains états ne permettant pas l’exclusion ou
la limitation des dommages indirects, les limitations et exclusions exprimées ci-dessus pourraient
ne pas s'appliquer dans votre cas. Toutes les garanties tacites sur ce produit sont limitées à la durée
de la garantie énoncée. Certains états ne permettant pas la limitation de la durée d’une garantie
tacite, les limitations ci-dessus pourraient ne pas s’appliquer dans votre cas. Cette garantie vous
accorde des droits légaux spécifiques; vous pourriez également avoir d’autres droits qui pourraient
varier d’état en état. Cette garantie s’applique seulement aux produits achetés au Canada, aux
États-Unis d’Amérique et ses possessions, et dans les clubs audio et d’échange des forces armées
des É.U. et de l’OTAN. Les modalités et les conditions de garantie applicables aux produits achetés
dans d’autres pays sont disponibles chez les distributeurs agréés Polk Audio établis dans ces pays.
SERVICE À LA CLIENTÈLE
Merci d’avoir choisi Polk Audio. Si vous avez des questions ou des commentaires, n’hésitez
pas à communiquer avec nous par courriel à l’adresse polkcs@polkaudio.com—ou par téléphone
au 800-377-7655 (L-V 9h-17h30 HE, Canada et É.U. seul.); à l’extérieur des É.-U. et du Canada,
composez le (410)-358-3600).
Customer Service Hours of Operation: Monday-Friday, 9AM-5:30PM EST polkcs@polkaudio.com 39

HBP3133
5601 Metro Drive
Baltimore, MD 21215

ENGLISH
FRANÇAIS
ESPAÑOL