LG Electronics USA B525 Cellular/PCS GSM Phone with WLAN and Bluetooth User Manual
LG Electronics MobileComm USA, Inc. Cellular/PCS GSM Phone with WLAN and Bluetooth Users Manual
Users Manual
LG-B525 User Guide - ENGLISH
This guide will help you understand your new mobile phone. It will provide you with
useful explanations of features on your phone.
Some of the contents in this manual may differ from your phone depending on the
software of the phone or your service provider.
2
Phone Components ...................................5
Using your touch screen ...........................7
Touch screen tips .....................................7
Control the touch screen.......................7
Installing the SIM Card ..........................8
Installing a Memory card .......................8
Formatting the Memory card ...............8
Calls .............................................................9
Making a Call ........................................9
Making a call from your contacts .......9
Answering and rejecting a call ..........10
Cost save mode .....................................10
Contacts ....................................................10
Searching for a contact........................10
Adding a new contact ..........................10
Messaging ..................................................11
Entering Text ............................................12
Setting up your email .............................13
Camera ......................................................13
Taking a quick photo ............................ 13
After taking a photo .............................. 13
Using the advanced settings .............14
Video camera ...........................................14
Making a quick video ............................14
After making a video ............................ 15
Using the advanced settings .............15
Music .........................................................15
Managing files..........................................16
QuickMemo ..............................................16
Contents
3
Banner .......................................................16
Safety Care ............................................... 17
Games and apps ...................................... 17
Setting your alarm ..................................17
Voice recorder ..........................................17
Using your calculator .............................17
Converting a unit ....................................17
Installing LG PC Suite on your computer
18
The web .....................................................18
Accessing the web ................................18
Dual SIM setting ......................................18
Settings .....................................................19
Changing your phone settings .......... 19
SOS Service settings ............................ 19
Changing your connectivity settings 20
Sending and receiving your files using
Bluetooth .................................................20
Wi-Fi ..........................................................21
Phone Software update ......................... 22
LG Mobile Phone Software update
from internet .........................................22
Guidelines for Safe and Efficient Use 23
Exposure to radio frequency energy 23
Product care and maintenance ........ 24
Efficient phone operation ...................26
Road safety .............................................26
Avoid damage to your hearing ......... 27
Glass Parts ..............................................28
4
Blasting area ...........................................28
Potentially explosive atmospheres ...28
In aircraft ..................................................28
Children ....................................................28
Emergency calls ....................................29
Battery information and care ............29
Accessories ...............................................31
Technical Data .........................................32
Troubleshooting ......................................33

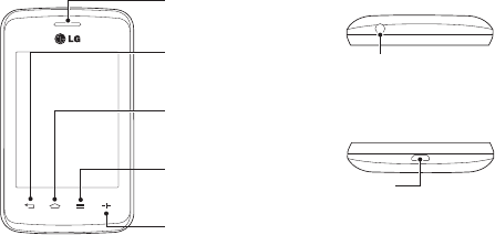
5
Phone Components
Earpiece
Back Key
Return to the previous
screen.
Home Key
Return to the Home
screen from any screen.
Menu Key
Display the available
options.
QuickButton Key
Select apps you wish to
get quick access to using
QuickButton.
Handsfree or Stereo earphone
connector
TOP
BOTTOM
Charger/
USB port

6
Volume keys
• In the Home screen: Ring tone
and touch tone volume.
• During a call: Earpiece volume.
• Down volume key: Press and
hold to activate/ deactivate
Silent mode.
•
How to start QuickMemo:
Press Volume up and down key
simultaneously. QuickMemo
allows you to write a memo on a
captured image
Power/Lock key
• Short press to turn on/off the
screen.
• Long press for power on/off.
7
Using your touch screen
Touch screen tips
• To select an item, touch the centre of the icon.
• Do not press too hard; the touch screen is
sensitive enough to pick up a light, yet firm
touch.
• Use the tip of your finger to touch the option
you require. Be careful not to touch any other
keys.
• Whenever your LG-B525 is not in use, it will
return to the lock screen.
Control the touch screen
The controls on the LG-B525 touch screen
change dynamically depending on the task you
are carrying out.
Opening Applications
To open any application, simply touch its icon.
Scrolling
Drag from side to side to scroll. On some
screens, such as the Logs list, you can also
scroll up or down.

8
Installing the SIM Card
When you subscribe to a cellular network, you
are provided with a SIM card loaded with your
subscription details, such as your PIN, any
optional services available and many others.
Important!
› The SIM card can be easily damaged by
scratches or bending, so be careful when
handling, inserting or removing the card.
Keep all SIM cards out of the reach of small
children.
› Only 2G/2.5G SIM cards are supported.
Installing a Memory card
Remove the Back cover and insert a micro
SD card with the golden contact area facing
downwards as shown in the diagram. To remove
the Memory card, gently pull it.
NOTE: Memory card is an optional accessory.
Formatting the Memory card
Select Settings from Menu, go to Device
settings Choose Memory info, then select
External memory and tap Format. Enter phone
password when prompted to formatting the
Memory card.
WARNING: When you format your Memory
card, all the content will be Erased. If you do not
want to lose the data on your Memory card, take
a backup first.

9
Calls
Making a Call
1. Touch to open the keypad.
2. Enter the number using the keypad.
3. Touch to initiate the call.
TIP! To enter + for making an international call,
touch and hold “0”.
Press the power key to lock the touch screen to
prevent calls being made by mistake.
Making a call from your contacts
1. From the home screen touch to open
the Contacts.
2. Tap the search field box on the top of the
screen and enter the first few letters of the
contact you would like to call using the
keypad.
3. From the filtered list, touch the contact ,then
touch Call icon to make a call. The call will
use the default number if there is more than
one number for that contact.
4. Or you can touch the contact name and
touch the number to call,if there is more
than one number for that contact. You can
also touch key to initiate the call to the
default number.
NOTE:
Self call - Self call imitates a real incoming call.
Enter ‘#*#’ on the Dialpad to activate a self call.
This doesn’t charge any fee.

10
Answering and rejecting a call
When your phone rings, touch key to
answer the call.
To mute the ringing, touch on Silent tab in
alerting screen. This is useful if you forgot to
change your profile to Silent for a meeting.
Touch on Reject tab to reject an incoming call
in alerting screen.
Cost save mode
Every contact is added along with assigned SIM
when adding in phone book. During Calling,
matching operator SIM is identified and the
operation is completed using the matching
operator SIM. This makes possible to use
benefit from using same operator.
To use Cost save mode feature,make sure
the feature is On [Settings > Call settings >
Common settings > Cost save mode]
NOTE: Cost save mode doesn’t work during in-call.
Contacts
Searching for a contact
1. Touch Contacts.
2. Enter the first few letters of the contact’s
name you want to call by touching Search
Adding a new contact
1. Touch Contacts and touch Add.
2. Choose whether to save the contact to your
Internal memory ,SIM1 or SIM2.
3. Enter your First and Last name.

11
4. You can enter up to five different numbers
per contact.
5. Add an email addresses. You can enter up to
two different email addresses per contact.
6. Assign the contact to one or more groups.
7. Touch Save to save the contact.
Messaging
Your LG-B525 combines SMS and MMS into
one intuitive and easy-to-use menu.
Sending a message
1. Touch Messages in menu and touch
Write message to begin composing a new
message.
2. Touch Insert to add an Image, Video, Sound,
Template and so on.
3. Touch To: field at the top of the screen to
enter the recipients, then enter the number
or touch to select a contact. You can
even add multiple contacts.
4. Touch when ready.
NOTE: To send a message from SIM2 touch the
forward arrow mark on icon.
WARNING: If an image, video, sound, New
slide and so on is added to an SMS it will be
automatically converted to an MMS and you will be
charged accordingly.

12
TIP: User can copy a selected text from any editor
and can paste the same in any other editor
Ex: Go to Message editor, type some text. Now
select the text you want to copy by scrolling over
the text and go to Option and tap on Copy . Now
place the cursor at a point you want to paste the
text. Go to Option and tap on Paste, so that copied
text will get pasted.
NOTE: Spam message - You can block the
unwanted messages by giving Spam numbers or
Spam words. Those messages will get stored in
Spam message Folder.
Entering Text
You can choose your input method by tapping
and Input method.
Touch to turn on T9 mode. This icon is
only shown when you choose Keypad as the
input method. Touch to change between
numbers, symbols and text input. Use Shift key
to change between capital or lowercase input.
TIP: You can send SMS to many contacts at a time.
User can select/deselect contacts for sending the
message. Only 20 contacts can be marked and
if user choose Select all only first 20 contacts will
be marked.
To send the SMS to a particular group of contacts
select Groups and select particular group.

13
NOTE: Excuse message - During Incoming call
alert, a preset message can be send by taping on
Excuse msg.
NOTE: SMS Sorting - Inbox Messages can be
sorted with the given sorting options for an easy
access of messages. (Date, Sender, Read and
unread)
Setting up your email
Touch E-mail from Apps Menu Screen 2.
If the email account is not set up, start the
email set up wizard and finish it. You can
check and edit settings also you can check
the additional settings that were filled in
automatically when you created the account.
Camera
Taking a quick photo
1. Touch Camera icon.
2. When the camera has focused on your
subject, touch to take a photo.
TIP: To switch to the camera mode or video mode,
slide up/down the camera or video icon on the
centre-right of the viewfinder.
After taking a photo
Your captured photo will appear on the screen.
The following options are available.
Touch .
Upload - Touch to upload the photo.

14
Send Via - Touch to send the photo as a
Message, E-mail or via Bluetooth.
Set as - Touch to set as Home screen wallpaper,
Lock screen wallpaper, Contacts image.
Touch to delete the image.
Touch to take another photo immediately.
Touch to view a gallery of your saved
photos.
Using the advanced settings
From the viewfinder, touch to open all
advanced settings options.
After selecting the option, touch the OK button.
Video camera
Making a quick video
To switch to the camera mode or video mode,
slide up/down the camera or video icon on the
right centre of the viewfinder.
1. Holding the phone horizontally, point the
lens towards the subject of the video.
2. Touch the red dot .
3. REC will appear at the bottom of the
viewfinder with a timer at the bottom
showing the length of the video.
4. To pause the video, touch and resume
by selecting .
5. Touch on screen to stop video recording.

15
After making a video
A still image representing your captured video
will appear on the screen. The name of the
video is displayed at the bottom of the screen.
The following options are available.
Touch to play the video.
Touch to
Send Via - To send the video as a Message,
E-mail or via Bluetooth.
Touch to delete the video you have just
made and confirm by touching Yes. The
viewfinder will reappear.
Touch to shoot another video immediately.
Your current video will be saved.
Touch to view a gallery of saved videos and
images.
Using the advanced settings
From the viewfinder, touch to open all
advanced settings options. You can change the
video camera setting after selecting the option,
touch the OK button.
Music
To access the music player, touch Music. From
here, you can access a number of folders:
Recently played - List of songs that you have
played recently.
All tracks - Contains the songs you have on
your phone except the pre-loaded default
music.
Artists - Browse through your music collection
by artist.
16
Albums - Browse through your music collection
by album.
Genres - Browse through your music collection
by genre.
Folders - Contains all the folders you have
created.
Playlists - Contains all the playlists you have
created.
Shuffle tracks - Play your tracks in a random
order.
Managing files
You can store multimedia files in your phone’s
memory so you have easy access to all your
images, sounds, videos, documents and other
content. You can also save your files to a
memory card. Using a memory card allows you
to free up space in your phone’s memory.
By touching My stuff, you can open a list of the
folders that store all your multimedia files.
QuickMemo
The QuickMemo allows you to create memos
and capture screen shots. Capture screens,
draw on them, and share them with family and
friends with QuickMemo.
To start QuickMemo press Volume up & down
keys simultaneously.
Banner
You can use it as a cheering tool in the concert
hall or performance theatre.
17
Safety Care
Go to Menu > Settings > Device settings >
Safety Care.
Safety care let people around you know your
emergency situations.
Safety care provides services as follow:
• Emergency call forwarding
• Phone non-usage notice
Games and apps
You can install new games and applications on
your phone to keep you amused when you have
spare time. Touch Games and apps and choose
Games, Applications, Phantom browser.
Setting your alarm
1. Touch Alarms.
2. Touch Add, then you can set and save your
alarm in this menu.
Voice recorder
Use your Voice recorder to record voice memos
or other audio files.
Using your calculator
1. Touch Calculator.
2. Touch the number keys to enter numbers.
Converting a unit
1. Touch Unit converter.
2. Choose whether you want to convert
Currency, Area, Length, Weight,

18
Temperature, Volume or Velocity.
3. Then select the unit and enter the value you
would like to convert from.
Installing LG PC Suite on
your computer
1. Go to www.lg.com and choose your country.
2. Select Support and Go to Mobile Support.
3. Follow the instructions on screen to complete
the LG PC Suite Installation on your PC.
The web
Internet gives you a fast, colourful world of
games, music, news, sport, entertainment and
loads more, straight to your mobile phone.
Wherever you are and whatever you’re into.
Accessing the web
1. Touch the Internet.
2. To go straight to the internet home page
touch Yes. In the page tap on option button
present at the right bottom corner for more
options.
NOTE: You will incur extra cost by connecting to
these services and downloading content. Check data
charges with your network provider.
Dual SIM setting
You can see two Network Signal icons on the
left-top of the screen when you insert two
SIM-Card.

19
To Activate/Deactivate the SIM card, Touch Dual
SIM settings from Menu.
Settings
Changing your phone settings
Use the freedom of adapting the LG-B525 to
your own preferences.
Touch Settings then select Device settings.
Anti-theft mobile tracker - When the handset is
stolen, handset sends the SMS to the numbers
configured by real owner. To activate the ATMT
feature, you will need to set ATMT on, and
configure the ATMT settings with Sender name
and Sending number list. Default ATMT Code
is “0000”.
NOTE: Anti Theft Mobile Tracker -
(Settings > Device settings > Security > Anti-
theft Mobile tracker) When the handset is
stolen, handset sends the SMS to the predefined
numbers configured by real owner.
ATMT SMS will contain information about the
stolen phone IMEI, Owner name & phone number
of the person who is using that handset.
SOS Service settings
• SOS Service - Enable “SOS service” at SOS
Service settings. After enabling, press down
volume key 4 times when screen is locked, the
SOS message is sent and the phone stays in
SOS Mode.
In the emergency situation SOS message
will be sent to the assigned receivers and
incoming calls by them will be automatically
20
accepted. All notification sound will be muted.
To exit the SOS mode, press the End key in
Homescreen.
Changing your connectivity settings
Your connectivity settings have already been set
up by your network operator, so you can enjoy
your new phone immediately. To change any
settings, use
Settings > Connectivity.
Sending and receiving your files using
Bluetooth
To send a file:
1. Open the file you want to send, typically this
will be a photo, video or music file.
2. Choose Send via. Choose Bluetooth.
3. If you have already paired the Bluetooth
device, your LG-B525 will not automatically
search for other Bluetooth devices. If not,
your LG-B525 will search for other Bluetooth
enabled devices within range.
4. Choose the device you want to send the
file to.
5. Your file will be sent.
To receive a file:
1. To receive files, your Bluetooth must be both
ON and Visible. See Bluetooth settings for
more information.
2. A message will prompt you to accept the
file from the sender. Touch Yes to receive
the file.
3. You will see where the file has been saved.
For image files, you can choose to View

21
the file. Files will usually be saved to the
appropriate folder in My stuff.
TIP!
1. When you use a Bluetooth headset , A2DP and
AVRCP profiles are not supported while you
play video. It means you will not listen video
sound if you use Bluetooth headset.
2. Bluetooth file transferring function will be
blocked under some applications running.
(Voice call, Camera, Music Player, UMS/
PCSync).
Wi-Fi
Wireless Manager allows you to manage
Internet connections your phone’s Wi-Fi (a
wireless LAN). It allows the phone to connect
to local wireless networks or access the Internet
wirelessly. Wi-Fi is faster and has a greater range
than Bluetooth wireless technology. It allows fast
emailing and Internet browsing.
NOTE: The LG-B525 supports WEP and WPA/
WPA2-PSK security. If your Wi-Fi service provider
or network administrator sets encryption for
network security, fill in the key in the pop-up
window. If encryption is not set, this pop-up window
will not be shown.
You can obtain the key from your Wi-Fi service
provider or network administrator.
22
Phone Software update
LG Mobile Phone Software update from
internet
For more information on using this function,
please visit the http://update.lgmobile.com or
http://www.lg.com/common/index.jsp ---->
select country.
This Feature allows you to update the firmware
of your phone to the latest version conveniently
from the internet without the need to visit a
service centre.
As the mobile phone firmware update requires
the user’s full attention for the duration of the
update process, please make sure to check all
instructions and notes that appear at each step
before proceeding. Please note that removing
the USB data cable or battery during the
upgrade may seriously damage your mobile
phone.
23
Guidelines for Safe and Efficient Use
Please read these simple guidelines. Not following
these guidelines may be dangerous or illegal.
Should a fault occur, a software tool is built into your
device that will gather a fault log.
This tool gathers only data specific to the fault, such
as signal strength, cell ID position in sudden call
drop and applications loaded. The log is used only to
help determine the cause of the fault. These logs are
encrypted and can only be accessed by an authorized
LG Repair centre should you need to return your
device for repair.
Exposure to radio frequency energy
Radio wave exposure and Specific Absorption
Rate (SAR) information. This mobile phone
model LG-B525 has been designed to comply
with applicable safety requirements for exposure
to radio waves. These requirements are based
on scientific guidelines that include safety
margins designed to assure the safety of all
persons, regardless of age and health.
• The radio wave exposure guidelines employ a
unit of measurement known as the Specific
Absorption Rate, or SAR. Tests for SAR are
conducted using standardised methods with
the phone transmitting at its highest certified
power level in all used frequency bands.
• While there may be differences between
the SAR levels of various LG phone models,
they are all designed to meet the relevant
guidelines for exposure to radio waves.
• The SAR limit recommended by the
International Commission on Non-Ionizing
Radiation Protection (ICNIRP) is 2W/kg
averaged over 10g of tissue.

24
• This device meets RF exposure guidelines
when used either in the normal use position
against the ear or when positioned at least
1.5 cm away from the body. When a carry
case, belt clip or holder is used for body-worn
operation, it should not contain metal and
should position the product at least 1.5 cm
away from your body. In order to transmit
data files or messages, this device requires
a quality connection to the network. In some
cases, transmission of data files or messages
may be delayed until such a connection
is available. Ensure the above separation
distance instructions are followed until the
transmission is completed.
Product care and maintenance
WARNING
Only use batteries, chargers and accessories
approved for use with this particular phone model.
The use of any other types may invalidate any
approval or warranty applying to the phone and
may be dangerous.
• Do not disassemble this unit. Take it to a
qualified service technician when repair work
is required.
• Repairs under warranty, at LG’s discretion,
may include replacement parts or boards that
are either new or reconditioned, provided that
they have functionality equal to that of the
parts being replaced.
• Keep away from electrical appliances such as
25
TVs, radios, and personal computers.
• The unit should be kept away from heat
sources such as radiators or cookers.
• Do not drop.
• Do not subject this unit to mechanical
vibration or shock.
• Switch off the phone in any area where you
are required to by special regulations. For
example, do not use your phone in hospitals
as it may affect sensitive medical equipment.
• Do not handle the phone with wet hands while
it is being charged. It may cause an electric
shock and can seriously damage your phone.
• Do not charge a handset near flammable
material as the handset can become hot and
create a fire hazard.
• Use a dry cloth to clean the exterior of the
unit (do not use solvents such as benzene,
thinner or alcohol).
• Do not charge the phone when it is on soft
furnishings.
• The phone should be charged in a well
ventilated area.
• Do not subject this unit to excessive smoke
or dust.
• Do not keep the phone next to credit cards or
transport tickets; it can affect the information
on the magnetic strips.
• Do not tap the screen with a sharp object as
it may damage the phone.
• Do not expose the phone to liquid or
moisture.
• Use the accessories like earphones cautiously.
Do not touch the antenna unnecessarily.
26
• Do not use, touch or attempt to remove or fix
broken, chipped or cracked glass. Damage to
the glass display due to abuse or misuse is
not covered under the warranty.
• Your phone is an electronic device that
generates heat during normal operation.
Extremely prolonged, direct skin contact in
the absence of adequate ventilation may
result in discomfort or minor burns. Therefore,
use care when handling your phone during or
immediately after operation.
Efficient phone operation
Electronic devices
All mobile phones may receive interference,
which could affect performance.
• Do not use your mobile phone near medical
equipment without requesting permission.
Avoid placing the phone over pacemakers, for
example, in your breast pocket.
• Some hearing aids might be disturbed by
mobile phones.
• Minor interference may affect TVs, radios,
PCs, etc.
• Use your phone in temperatures between 0ºC and
40ºC, if possible. Exposing your phone to extremely
low or high temperatures may result in damage,
malfunction, or even explosion.
Road safety
Check the laws and regulations on the use of
mobile phones in the area when you drive.
• Do not use a hand-held phone while driving.
• Give full attention to driving.
• Use a hands-free kit, if available.

27
• Pull off the road and park before making or
answering a call if driving conditions require
you to do so.
• RF energy may affect some electronic
systems in your vehicle such as car stereos
and safety equipment.
• If your vehicle is equipped with an air bag,
do not obstruct with installed or portable
wireless equipment. It can cause the air bag
to fail or cause serious injury due to improper
performance.
• If you are listening to music whilst out and
about, please ensure that the volume is at a
reasonable level so that you are aware of your
surroundings. This is of particular importance
when near roads.
Avoid damage to your hearing
To prevent possible hearing damage,
do not listen at high volume levels for
long periods.
Damage to your hearing can occur if you are
exposed to loud sounds for long periods of
time. We therefore recommend that you do not
turn the handset on or off close to your ear. We
also recommend that music and call volumes
are set to a reasonable level.
• When using headphones, turn the volume
down if you cannot hear the people speaking
near you, or if the person sitting next to you
can hear what you are listening to.
Note:
Excessive sound pressure from earphones
and headphones can cause hearing loss.
28
Glass Parts
Some parts of your mobile device are made
of glass. This glass could break if your mobile
device is dropped on a hard surface or receives
a substantial impact. If the glass breaks, do not
touch or attempt to remove. Stop using your
mobile device until the glass is replaced by an
authorised service provider.
Blasting area
Do not use the phone where blasting is in
progress. Observe restrictions, and follow any
regulations or rules.
Potentially explosive atmospheres
• Do not use your phone at a refuelling point.
• Do not use near fuel or chemicals.
• Do not transport or store flammable gas,
liquid or explosives in the same compartment
of your vehicle as your mobile phone or
accessories.
In aircraft
Wireless devices can cause interference in
aircraft.
• Turn your mobile phone off before boarding
any aircraft.
• Do not use it on the ground without
permission from the crew.
Children
Keep the phone in a safe place out of the reach
of small children. It includes small parts which
may cause a choking hazard if detached.
29
Emergency calls
Emergency calls may not be available on all
mobile networks. Therefore you should never
depend solely on your phone for emergency
calls. Check with your local service provider.
Battery information and care
• You do not need to completely discharge the
battery before recharging. Unlike other battery
systems, there is no memory effect that could
compromise the battery’s performance.
• Use only LG batteries and chargers. LG
chargers are designed to maximise battery
life.
• Do not disassemble or short-circuit the
battery pack.
• Keep the metal contacts of the battery pack
clean.
• Replace the battery when it no longer
provides acceptable performance. The battery
pack may be recharged hundreds of times
before it needs replacing.
• Recharge the battery if it has not been used
for a long time to maximise usability.
• Do not expose the battery charger to direct
sunlight or use it in high humidity, such as in
the bathroom.
• Do not leave the battery in hot or cold places,
as this may deteriorate battery performance.
• There is risk of explosion if the battery is
replaced with an incorrect type.
• Dispose of used batteries according to the
manufacturer’s instructions. Please recycle
when possible. Do not dispose as household
30
waste.
• If you need to replace the battery, take it to
your nearest authorised LG Electronics service
point or dealer for assistance.
• Always unplug the charger from the wall
socket after the phone is fully charged to
save unnecessary power consumption of the
charger.
• Actual battery life will depend on network
configuration, product settings, usage
patterns, battery and environmental
conditions.
• Make sure that no sharp-edged items such as
animal’s teeth or nails, come into contact with
the battery. This could cause a fire

31
There are various accessories for your mobile phone. You can select these options according to your
personal communication requirements.
Travel
Adapter
Standard
Battery
User Guide
LG-B525
Headset
NOTE
• Always use genuine LG accessories. Failure to do this may invalidate your warranty.
• Accessories may be different in different regions; please check with our regional service company or agent
for further enquires.
Accessories

32
DECLARATION OF CONFORMITY
Hereby, LG Electronics declares that this
LG-B525 product is in compliance with the
essential requirements and other relevant
provisions of Directive 1999/5/EC. A copy
of the Declaration of Conformity can be
found at
http://www.lg.com/global/declaration
NOTE:
• Illustrations may differ from those you see
on actual phone.
• Always use genuine LG accessories. Failure
to do this may void your warranty.
• Available accessories may vary depending
on your region, country or service provider.
• Some features and service may vary by
region, phone, service provider and software
version.
• All information in this document is subject
to change without notice.
Technical Data

33
Problem Possible Solution
Telephone cannot be
switched on
Please take out battery and insert again. Then press Power key to
power on the phone.
Battery empty Charge battery. Check charging indicator on display.
The battery doesn’t
charge properly or
the phone sometimes
turns itself off
Wipe the charging contacts, both on the phone and on the battery,
with a clear soft cloth.
Usage time of battery
becomes shorter
If the battery time is short, it may be due to the user environment, a
large volume of calls, or weak signals.
Charging error—
Temperature out of
range
Make sure the ambient temperature is right, wait for a while, and then
charge again.
Troubleshooting

34
Problem Possible Solution
Charging error—Wrong
charger
Only use original LG accessories.
Charging error—Battery
defective
Replace battery.
Charging error—No
battery icon appears
when charging
The battery is empty or has been not used for a long time. It may take
a while before the battery icon appears on the screen.
Forgot the phone code
or password
The default phone code is “0000”.
Enter PUK The PIN code has been entered incorrectly three times in succession,
and the phone is now blocked. Enter the PUK supplied by your service
provider.

35
Problem Possible Solution
Loss of Network You may be in a weak signal area. Move and try again. You are trying
to access an option for which you have no subscription with your
service provider. Contact the service provider for further details.
You have entered a
number but it was not
dialed
Be sure that you have pressed Call key.
Be sure that you have accessed the right network service.
Be sure that you have not set an outgoing call barring option.
Be sure that you have entered the area code.
Your correspondent
cannot reach you
Be sure that your phone is switched on. Be sure that you are
accessing the network service. Be sure that you have not set an
incoming call barring option.
Your correspondent
cannot hear you
speaking
Be sure that you have switched off the loudspeaker. Be sure that you
are holding the phone close enough to your mouth. The microphone
is located at the bottom of the phone.

36
Problem Possible Solution
The voice quality of the
call is poor
Check the signal strength indicator on the display. The number of bars
indicates the signal strength. Try moving the phone slightly or moving
closer to a window if you are in a building.
No number is dialed
when you recall a
contact
Use the Phonebook Search feature to ensure the number has been
stored correctly. Resave the number, if necessary.
Cannot use the
Browser
Your subscription does not include data capability. You will need to
contact your service provider to enable the service.
If the above guidelines
do not help you to
solve the problem
Take note of the model number of your mobile phone and a clear
description of the problem. Contact your phone dealer or LG Service
Center for help.

Body-worn Operation
This device was tested for typical body-worn operations with the back of the phone kept 0.59 inches
(1.5cm) from the body. To comply with FCC RF exposure requirements, a minimum separation
distance of 0.59 inches (1.5cm) must be maintained between the user’s body and the back of the
phone. Belt-clips, holsters and similar accessories containing metallic components may not be used.
Body-worn accessories that cannot maintain 0.59 inch (1.5cm) separation distance between the user’s
body and the back of the phone, and have not been tested for typical body-worn operations may not
comply with FCC RF exposure limits and should be avoided.
FCC Part 15.19 statement
This device complies with part 15 of FCC rules. Operation is subject to the following two conditions: (1)
This device may not cause harmful interference, and (2) this device must accept any interference
received, including interference that may cause undesired operation.
FCC Part 15.21 statement
Changes or Modifications that are not expressly approved by the manufacturer could void the user's
authority to operate the equipment.
FCC Part 15.105 statement
This equipment has been tested and found to comply with the limits for a class B digital device,
pursuant to Part 15 of the FCC Rules. These limits are designed to provide reasonable protection
against harmful interference in a residential installation. This equipment generates uses and can
radiate radio frequency energy and, if not installed and used in accordance with the instructions, may
cause harmful interference to radio communications. However, there is no guarantee that interference
will not occur in a particular installation. If this equipment does cause harmful interference or television
reception, which can be determined by turning the equipment off and on, the user is encouraged to try
to correct the interference by one or more of the following measures:
- Reorient or relocate the receiving antenna.
- Increase the separation between the equipment and receiver.
- Connect the equipment into an outlet on a circuit different from that to which the receiver is
connected.
- Consult the dealer or an experienced radio/TV technician for help.