User Manual
User manual
X5

1
English
1. Specications 3
2. Overview (Hardware) 4
2.1 Tray A 5
2.2 Tray B 6
2.3 Tray C 7
2.4 Mechanism 8
3. Using Your MAD Gaze Correctly 11
3.1 Using with Eyeglasses 11
3.2 Using Headbands 14
4. General Hardware Operation 16
4.1 General Hardware Operation 16
4.2 Operation - Touch Panel 17
5. Built-in Battery Precautions and Charging 20
6. Image Regulation 21
7. Sleep Mode 21
8. Keyboard Operation 22
8.1 By X5 In-built Keyboard 22
8.2 By MAD Gaze Connector - Remote Control 23
9. Home Screen 24
Content

2
English
10. Control Centre 26
10.1 Notication 28
11. Basic Settings 29
11.1 Wi-Fi Connection 29
30
11.2 Location Services 31
11.3 Password Settings 32
11.4 Sound and Display 33
11.5 Date and Time 34
11.6 Restore Factory Defaults 35
12. Pre-Installed Applications of MAD Gaze X5 38
13. MAD Store 39
14. MAD Gaze Connector 40
15. Data Transmission 41
16. Warranty 42
17. Limited Warranty 43
18. Cautions 44
20. Frequently Asked Questions 49
19. FCC statement 49

3
English
Operation System: Android 6.0
CPU: 1.3 GHz Quad-Core
RAM: 2GB
Capacity: 32 GB
Sensors: The 9-axis inertial motion sensor include: 3-axis gyroscope, 3-axis
accelerometer, 3-axis magnetometer
Display: 800 x 480(WVGA), see-through display
Audio: 3.5mm Stereo Audio, Microphone, Speaker
Camera: 8M pixels
Video playback; 1080P
Wi-Fi: 802.11 b/g/n
Position: GPS
Battery: 600mAh
Connection: Micro USB USB2.0
Control: Voice Recognition, Multi-touch Panel, Gesture Control, Light Sensor, Key
Buttons, Connector App
Language: English, Simplied Chinese, Traditional Chinese
1. Specications

4
English
The packaging box of MAD Gaze
X5 mainly consists of 3 parts,
including
Tray A (p.5)
Tray B (p.6)
Tray C (p.7)
2. Overview (Hardware)
A
B
C

6
English
2.2 Tray B
A MAD Gaze X5
B Glasses Case
C Glasses Clip (suitable for thick arm glasses)
D Glasses Clip (suitable for thin arm glasses)
E Headband and Glasses Bag
A
BE
C
D

7
English
2.3 Tray C
A Slip-resistant Ear Grip for Headband
B Headband
C Slip-resistant Ear Grip
D Nosepad
E MAD Gaze X5 Instructions Manual
F Quick Start Guide (4 sheets)
B C E
D
F
A

8
English
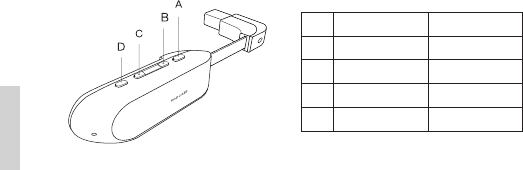
2.4 Mechanism
A Power Button
B Physical Buttons
C Touch Panel
D Adjustable Arm
E Light Sensor & Proximity Detection
F Front Camera
G Camera Indicator
H Microphone

9
English
I 3.5mm Earphone Jack
J Micro USB Port
K Transmissive Display
L Power Indicator
M Speaker

10
English
Best Sensing Area of the Panel
Please operate within the ambit of the Panel as shown. The edge of the device may
have weaker sensitivity.
The best sensing area is shown in grey.

11
English
3.1 Using with Eyeglasses
MAD Gaze X5 can be equipped with your prescription glasses or glasses we provided
• The Glasses Clip is used to x the position with your glasses.
• Please install the Glasses Clip on your glasses according to following gure.
3. Using Your MAD Gaze Correctly
Glasses Glasses Clip
A
B
C

12
English
• Ensure the Glasses Clip is putting near eyeglasses temple properly and push clip forward to
lock and x the position.
• Tilt the Glasses Clip to adjust the angle of view.
• To utilize the user experience, we also provide Nosepad and Slip-resistant Ear Grip.
A
B
C
Nose Pad
Slip-resistant Ear
Grip

13
English
• Athletic Headband can provide better stability under strenuous movement with connecting
the eyeglasses temples.
• Connect two ends of Athletic Headband to eyeglasses temples.
• Adjust the length of Althetic Headband to x the eyeglasses position.
After putting on Athletic Headband (Back)
A
B
C
Athletic
Handband

14
English
3.2 Using Headbands
MAD Gaze X5 can be equipped with your eyeglasses and compatiable to various types of
glasses.
• Install the Slip-resistant Ear Grip into Headband to x the headband position.
• Turn the headband stablizer perpendicular to the headband.
Headband
Slip-resistant
Ear Grip for
Headband
A
B
C

15
English
If you have equipped the Ear Grips and Headband properly, the Ear Grips and Headband
stabilizer should be aligned as shown in the following gure. The screen should now align with
your eyes at the same level.
Wearing Headband (Sideview) Wearing Headband (Backview)

16
English
4. General Hardware Operation
4.1 General Hardware Operation
The physical buttons for MAD Gaze X5 smartglass is located at the upper edge of the body.
There are two dierent controlling commands - “tap” and “long press for 1 second”.
Tap Long Press (1s)
AEnter Home
BRight/ Down App Settings
CLeft/Up Back
DSleep/ Awake Power On/ O

17
English
4.2 Operation - Touch Panel
Multi-touch Panel can sense the following two sliding forms of one nger.
• Tap & Swipe Forward/Backward • Tap & Swipe Up/Down

18
English
Multi-touch Panel can sense the following three forms of contact of one nger.
• Tap once with one
nger to conrm or enter
• Tap twice (on any page)
with one nger to back
• Long press (on any
page) with one nger to
home

19
English
Multi-touch Panel can sense the following three forms of contact of two ngers.
• Tap twice with two ngers (when an app
runs) to enter settings
• Long press (on any page) with two ngers
to control centre

20
English
5. Built-in Battery Precautions and Charging
• This product is equipped with a built-in battery. Users should not replace it by themselves.
Avoid charging in damp or overheat environment. Unauthorized replacement or attempt in
forcing the product to open will void the product warranty and might lead to safety hazards.
The device contains no user-serviceable parts.
• After unboxing MAD Gaze X5 smartglass, charge for at least 4 hours before use. Connect
the Micro USB cable that comes with X5 to the Micro USB port on the device body; connect
the other end of the Micro USB cable to the charger USB port. When power indicator is on,
the smartglass is charging. The smartglass can be charged either when its power is on or o.
• Contact our Customer Services Department at support@madgaze.com for repairing services
if necessary.

21
English
The Adjustable Arm is designed for a better user experience. To maintain the HUD screen at
eye level, you may pull the Arm closer in a zigzag way. The Arm can be bent to left or right for
not more than 40 degrees.
6. Image Regulation
Sleep Mode can save battery, as well as prevent unknown conditions triggered by inadvertently
touching the panel. MAD Gaze X5 will enter sleep mode under the following conditions:
• No operation within certain amount of time (the default idling limit is 60 seconds, it can be
changed in the “Settings”)
• Short press the power button; to wake up MAD Gaze, short press the power button again.
7. Sleep Mode

22
English
8. Keyboard Operation
8.1 By X5 In-built Keyboard
• Swipe up and down on the touch panel to
select keyboard (Alphabets, Capital Alphabets,
Numerics, Symbols and Control Pad), then
swipe left and right on the touch panel to input
content (e.g. 8). Select OK in the Control Pad
to nish input. Select the
keyboard type
Select and press
the input
Select and press
OK

23
English
• You may also use buttons to control keyboard operations (Details please refer to 4. General
Hardware Operation)
8.2 By MAD Gaze Connector - Remote Control
• To operate “MAD Gaze Connector”using mobile phone keyboard (Please refer to www.
madgaze.com/support)
Previous
Next Conrm

24
English
All apps are categorized according to their function. Apps in each category are sorted
according to the alphabetical order of their names.
To select App:
• Single Finger Operation - Long press, to enter “Home”from any interface.
• Swipe up/down on the touch panel to select App Category (e.g. Recent Used), then swipe
left/right on the touch panel to select app (e.g. Navigation). Tap to enter the app.
• You may perform the same operation by buttons. (Please refer to 4. General Hardware
Operation)
9. Home Screen
Go To Home Top Use

25
English
Top Use
Top Use
Control with Touch Panel
Control with physical button
Previous
Next Enter

26
English
Control Centre provides shortcut for accessing basic functions, such as turning on/o Wi- Fi,
Location services, or MAD Gaze Connector, etc. Notifcations, application updates,
media volume control, display brightness and font size adjustments are also available at the
Control Centre.
• Long press on the touch panel by two fingers to enter the Control Centre from any
interface.
• Swipe up/down on the touch panel, tap and select function.
• Physical buttons are also available for control and operation.
10. Control Centre
Go to Control Centre

27
English
Control with touch panel
Control with phlsical button
Previous
Next Enter
Security
Setting
LocationServices ON
MediaVolume
Brightness
FontSize Medium
32%
55%
ControlCentre

28
English
Notification
Youhavearrivedyourdestination
Deleteallnotifications
10.1 Notication
Notifications such as news, alarm clock,
application updates, etc. are available in
Control Centre.
• Swipe with one nger from back to front to
clear a notication.
Notification
Alarm3:00afterthereminder
Youhavearrivedyourdestination
Deleteallnotifications

29
English
Connect MAD Gaze Connector to Wi-Fi
You may also use MAD Gaze Connector to
connect Wi-Fi
(Please go to www.madgaze.com/support
for more information using the MAD Gaze
Connector.)
11.1 Wi-Fi Connection
Connect MAD Gaze X5 with Wi-Fi
Go to “Settings”-> “Wi-Fi”, turn on or o Wi-
Fi. You may also set up in the Control Centre.
The screen will list all previously connected
network, choose a network and connect. Use
keyboard to enter password if required. (Please
refer to 8. Keyboard Operation)
If you wish to join a new Wi-Fi network which
has never been connected before, pick “Scan
Wi-Fi”at the bottom of the list.
• To join a closed Wi-Fi network, please use
the mobile app, MAD Gaze Connector to do
so. You will need the network name, security
type and password.
• To forget a network, tap a previously joined
network, select “Forget this network”in the
network operation interface, connection record
and relevant data will be removed.
11. Basic Settings

31
English
11.2 Location Services
Location Services allow location based apps,
such as “Navigation” to gather and use data
that indicates your location. Your approximate
location is determined by available information
from your mobile data, local Wi-Fi networks (if
you have Wi-Fi turned on) and GPS (subject
to certain areas).
• Go to “Settings”-> “Location Services”,
either turn on or o.
Mode: You may switch to different levels of
positioning accuracy, the system sets high
accuracy (GPS and network) mode by default.

32
English
11.3 Password Settings
Password can be set to unlock and re-
activate MAD Gaze X5 for a higher security
level. It must be entered each time you turn on
or wake up your device.
• To set a password, go to “Settings”>
“Security”> “Screen Lock”, or “Control
Centre”> “Settings”> “Security”> “Screen
Lock”, then set password for screen locking
according to instructions, using the touch
panel.
• To change password, go to “Screen Lock”>
“Change Password”
• Note: Physical buttons cannot be used for
setting password.

33
English
11.4Sound and Display
To maintain the user experience level, the
volume and screen brightness can be adjusted
to an optimal level.
• To adjust the brightness, go to “Control
Centre”> “Settings”> “Brightness”, or go to
“Home” and look for “Settings”> “Brightness”,
then swipe left and right on the touch panel
to adjust, or adjust the brightness by physical
buttons.
• To adjust the volume, go to “Control
Centre”> “Settings”> “Volume”, or go to “Home”
and look for “Settings”> “Volume”, then swipe
left and right on the touch panel to adjust, or
adjust the volume by physical buttons.

34
English
11.5 Date and Time
The system automatically determines the
date and time when the device is connected
to a network. To change the date and time,
go to “Control Centre” > “Settings” > “Date
and Time”, or go to “Home” and look for
“Settings”> “Date and Time”, then turn o “Set
Automatically”.
• Swipe left and right on the touch panel to
switch from items (e.g. Month)
• Swipe up and down on the touch panel to
adjust the value (e.g. 9)

35
English
11.6 Restore Factory Defaults
Please note that all data and information will
be erased. Reset Action is irreversible and
unreconverable.
• To reset the device, go to "Control Centre"
> "Settings" > "Restore factory defaults",
follow the instructions to complete resetting
procedures.

36
English
• MAD Gaze X5 contains different sorts of original apps including voice assistant, which
provides instant news, weather, and all kinds of information; and GPS navigation which will be
your helpful partner; and also an eective translator that can analysis image and translate the
text contained.
• For details and tutorial, please refer to www.madgaze.com/cases
12. Pre-Installed Applications of MAD Gaze X5

37
English
Go to MAD Store and discover more
applications.
• Login to MAD Store at
http://store. madgaze.com with mobile phone
or computer
• Login with your MAD ID
• Click on any application
• Select the device to install in the pop up
screen
• Downloaded application will automatically
install onto the smartglass after connecting to
Wi-Fi
• Apps can be accessed via Home after
installation (Please refer to: 9. Home Description
and Operation)
13. MAD Store

38
English
MAD Gaze Connector is required to finish
the beginner’s tutorial. If it is not downloaded
yet, please go to Play Store or App Store and
search for “MAD Gaze Connector”
• To enter MAD Gaze Connector via MAD
Gaze X5, please go to “Home”> “MAD Gaze
Connector” or “Control Centre” > “MAD Gaze
Connector”
14. MAD Gaze Connector
Download MAD Gaze
Connector:
Enter MAD Gaze Connector with X5:

39
English
MAD Gaze Connector has 4 major functions
to help with easier smartglass operation,
including:
• MAD ID Conguration: Congure with MAD
ID
• Wi-Fi Connection: Connect to wireless
network (Wi-Fi)
• Account and Device: Check up information
of MAD ID and paired smartglass (including
maintenance period)
For operation guide and details of MAD Gaze
Connector, please refer to: www.madgaze.
com/support

40
English
• We will provide an all-round Three Guarantees Service for your product according to “The
Warranty Regulations of Three Guarantees” enacted by relevant authorities in the People’s
Republic of China.
• Warranty period will be counted from the day the product is activated, for one year. The
valid warranty period can be checked up on MAD Gaze Connector or “My Device”in MAD
Store.
• Within 7 days after the product is activated, if the product is malfunctioned, you can
either return or replace your product, or you may wish to have it repaired by an authorized
maintenance service provider.
• From the 8th to 30th day after the product is activated, if the product is malfunctioned, you
can either replace your product, or you may have it repaired by an authorized maintenance
service provider.
• Within 1 year after the product is activated, if the product is malfunctioned, you can have it
repaired by an authorized maintenance service provider.
• From the 30th day to 1 year after the product is activated if the product is malfunctioned,
and is still malfunctioning after repairing for twice, you can exchange for another device with
same model number and specication for free, by providing the maintenance records.
• MAD Gaze Warranty Centre located in mainland China, our company will not be liable for
any costs incurred as a result of the warranty procedures (including, but not limited to: freight,
taxes, customs fees, and all other other possible fees), all buyers must bear all relevant
16. Warranty

41
English
17. Limited Warranty
Your warranty services are valid under normal usage/application only, the following conditions
are excluded from the Three Guarantees and there will be reasonable charge for the warranty
service:
• The free maintenance period of the product has expired.
• Mechanical failure due to application of ttings not recognized by
• our company.
• Damage caused by disassembling the product by repairer who is unauthorized by our
company.
• Damage caused by failing to operate the product according to the manual, or incorrect/
improper handling of the product.
• Malfunction caused by improper use, maintenance or storage.
• Products natural wear and tear (including, but not limited to outer case, display,
attachments).
• Damage caused by force majeure.
• All the losses and damage caused by environmental factors, such as rough handling,
• Temperature, and other factors which beyond our company’s control.
• expenses.
*For details of activation steps, please refer to the tutorial in MAD Gaze Connector.

42
English
• If user cracked the Android system, or illegally obtained the root privileges, causing
malfunction of this product, we reserve the right to refuse providing warranty services.
• Use only the supplied USB cable. Using other USB cable may cause overheating, fire,
explosion, failure or leakage.
• Do not detach the power cable by coercive pulling.
• Do not allow metal objects, ammable materials or other objects insert or fall into the power
connector, power port or speaker it may cause short circuit and trigger re or electric shock.
• Some users might experience skin irritation or skin allergies with prolonged use of this
product. If you notice any symptoms, please discontinue wearing or using the product.
Continuous usage after symptoms subside might cause symptom reappearance. If the
condition persist, please consult your doctor.
• This product contains electronic equipment, improper use might result in injury.
• To avoid exceeding the weight-bearing limit of this product, do not put this product inside
bags directly or expose to any other heavy objects.
• This product has relatively low liquid ingression grade, avoid direct contact with water.
• Keep this product clean and dry regularly.
• Do not open the product outer case or disassemble it.
18. Cautions

43
English
• Stop using the product immediately if any cracks were found.
• Substances contained in this product and its battery might jeopardize the environment or
cause injury, please handle and dispose properly.
• Do not exert force, shake, or place this product in environment with excessive dust, or
uctuating temperature and humidity. Protect this product from vigorous shock or vibration.
• Do not place this product in any dishwashers, washing machines or dryers.
• Do not place this product under extreme temperatures.
• Do not place this product under long and direct sunlight exposure.
• Do not wipe this product with corrosive detergent.
• Do not allow this product to in contact with solvents, including, but not limited to alcohol,
benzene or thinner, nor use damp cloth or solvents to clean this product. When the outer case
of this product has cracked, it may induce short circuit, failure or re.
• Do not disassemble or reassemble this product, it may cause injury or intoxication.
• Do not place this product in re or heat up this product, nor place inammable objects,
including, but not limited to candles, near this product, otherwise it may cause re or (battery)
explosion.
• Do not wear this product while it is charging. 12.21 Do not charge this product when it is
wet.
• Immediately stop wearing if you feel unusual heat emitted from this product.
• If there is any known condition that might aect normal use of this product, please consult
your doctor in advance.

44
English
• Do not wear this product when handling hazardous tasks, it may cause accident or injury.
• Do not use this product in unsettling locations, including, but not limited to stairs or slope.
Moreover, do not use this product in crowded or dim places, it may cause accident or injury.
• Please stay alert to the surroundings if using this product while walking. Too focusing on
looking at the screen may cause accident or injury.
• Please be aware of the surroundings when using this product in
• compact area.
• Continuous or prolonged wearing of product may aect vision.
• Vision of children (especially pre-school children) is still under development, they should not
use this product.
• Do not allow children or animals to chew or swallow the equipment.
• Do not use this product if lights will cause you allergy or nausea. Otherwise, the symptoms
may exacerbate.
• Person who has chronic eye disease should not use this product, otherwise, symptoms,
including, but not limited to strabismus, amblyopia or anisometropia, may exacerbate.
• Take regular breaks when using this product. Prolonged viewing image may cause eye
fatigue or discomfort, stop using and take rest. Stop using immediately if fatigue or discomfort
persists after resting.
• If problem or failure occurs, stop using this product immediately. Continue using this product
may cause injury or induce nausea.
• If this product is to be taken to regions which prohibit the use of electromagnetic wave,

45
English
including, but not limited to planes, hospitals, the product should be turned off or having
wireless LAN functions disabled, according to the regional instructions. Do not
use wireless LAN functions near automatic control equipment, such as automatic
doors or re alarms. Disable the automatic power-on function before turning o this product.
Electromagnetic wave may cause electromagnetic interference or failure to the medical
equipment.
• Do not take this product into operating room, intensive care unit (ICU) or coronary care unit
(CCU).
• Turn this product o in ward, or shut down the electromagnetic wave emission.
• Turn this product o or shut down the electromagnetic wave emission if there is electronic
medical equipment nearby.
• Follow the medical regulations for prohibiting electromagnetic wave emitting equipment,
these equipment is prohibited in special area.
• If you are implanted with a pacemaker or debrillator, keep this product with your implanted
device at least 22cm away when using. Make sure no one with a pacemaker is near before
using this product, turn o the product if you are in a crowded place.
• Turn this product o or shut down the electromagnetic wave emission on planes.
• Eliminate static electricity from your body before using this product. To avoid electrostatic
disturbance, make use of small metal piece (e.g. keys), cotton wipe, or other applicable
objects,to touch the doors, door handles, faucets, etc., to eliminate static electricity, and then
touching any of these objects with your bare hands.

46
English
• The production and manufacture of this product is subject to the national specication of
sales territory. If you use this product outside the country of sales, please contact the support
centre.
• To use this product for application in high degree of functional reliability/safety and
precision, for example, transport-related equipment such as aviation, railways, shipping,
vehicle, disaster prevention equipment, safety equipment, you should consider including failure
• insurance and redundancy into your application to maintain safety and reliability of the whole
system, before using this product.
• This product is not designed for application that requires extremely high reliability/safety,
such as aviation equipment, main communication equipment, nuclear power control or medical
equipment directly related to medical use. User should access and judge for whether this
product is suitable for application.
• Any unauthorized operating system updates may pose risk to your information.
• Do not duplicate the content in this guide for any use unless permitted by our company.
The MAD Gaze X5 Instructions Manual will be updated regularly, please visit
www.madgaze.com/support from time to time to download the latest version
of Quick User Guide. The online English version for the Guide shall prevail
under all circumstances. Please scan the QR code below for demonstration and
introduction of more MAD Gaze Ares preset applications.

47
English
19. FCC Statement
This device complies with Part 15 of the FCC rules. Operation is subject to the following two
conditions: 1) this device may not cause harmful interference, and 2) this device must accept
any interference received, including interference that may cause undesired operation.
Note: This equipment has been tested and found to comply with the limits for a Class B digital
device, pursuant to part 15 of the FCC Rules. These limits are designed to provide reasonable
protection against harmful interference in a residential installation. This equipment generates
uses and can radiate radio frequency energy and, if not installed and used in accordance with
the instructions, may cause harmful interference to radio communications. However, there is no
guarantee that interference will not occur in particular installation. If this equipment does cause
harmful interference to radio or television reception, which can be determined by turning the
equipment off and on, the user is encouraged to try to correct the interference by one or more
of the following measures:
--Reorient or relocate the receiving antenna.
--Increase the separation between the equipment and receiver.
--Connect the equipment into an outlet on a circuit different from that to which the receiver is connected.
--Consult the dealer or an experienced radio/TV technician for help.
Changes or modifications not expressly approved by the party responsible for compliance could
void the user’s authority to operate the equipment.
This equipment complies with FCC radiation exposure limits set forth for an
uncontrolled environment. User should avoid un-intended operation of usage
when it is collocated with other transmitters or antenna.

47
English
A: When using the Navigation App, check if
the network connection is normal, then go
to Control Centre and turn on the “Location
Services”.
Q: Why is the Navigation App not functioning?
A: Please try to charge X5, the power indicator
will light up. If the device cannot power on
after full charging, please contact Customer
Service for maintenance.
Q: What should I do if X5 does not response
after long press of the power button?
20. Frequently Asked Questions

48
English
Tutorial Video
Please visit www.madgaze.com/support
Update
The MAD Gaze X5 Instructions Manual will be updated regularly, please visit http://www.
madgaze.com/X5/support from time to time to download the latest version of MAD Gaze
X5 Instructions Manual. The online English version for the MAD Gaze X5 Instructions Manual
shall prevail under all circumstances. Please scan the QR code below for demonstration and
introduction of more MAD Gaze X5 preset applications.