Microsoft RM-364 GSM850/900/1800/1900FDD1/FDD5 Cell Phone w/BT User Manual Athos FCCDraft Issue1 22Feb08 LH
Microsoft Mobile Oy GSM850/900/1800/1900FDD1/FDD5 Cell Phone w/BT Athos FCCDraft Issue1 22Feb08 LH
Manual

FCC Draft
RM-364 User Guide
9207764
Issue 1

FCC Draft
DECLARATION OF CONFORMITY
Hereby, NOKIA CORPORATION declares
that this RM-364 product is in
compliance with the essential requirements and other relevant provisions
of Directive 1999/5/EC. A copy of the Declaration of Conformity can be
found at http://www.nokia.com/phones/declaration_of_conformity/.
Copyright © 2008 Nokia. All rights reserved.
Nokia, Nokia Connecting People, Navi and Visual Radio are trademarks or
registered trademarks of Nokia Corporation. Nokia tune is a sound mark of
Nokia Corporation. Other product and company names mentioned herein
may be trademarks or tradenames of their respective owners.
Reproduction, transfer, distribution, or storage of part or all of the
contents in this document in any form without the prior written
permission of Nokia is prohibited.
US Patent No 5818437 and other pending patents. T9 text input software
Copyright (C) 1997-2008. Tegic Communications, Inc. All rights reserved.
Includes RSA BSAFE cryptographic or security protocol software
from RSA Security.
Java is a trademark of Sun Microsystems, Inc.
This product is licensed under the MPEG-4 Visual Patent Portfolio License
(i) for personal and noncommercial use in connection with information
which has been encoded in compliance with the MPEG-4 Visual Standard
0434
FCC Draft
by a consumer engaged in a personal and noncommercial activity and (ii)
for use in connection with MPEG-4 video provided by a licensed video
provider. No license is granted or shall be implied for any other use.
Additional information, including that related to promotional, internal,
and commercial uses, may be obtained from MPEG LA, LLC. See http://
www.mpegla.com.
Nokia operates a policy of ongoing development. Nokia reserves the right
to make changes and improvements to any of the products described in
this document without prior notice.
TO THE MAXIMUM EXTENT PERMITTED BY APPLICABLE LAW, UNDER NO
CIRCUMSTANCES SHALL NOKIA OR ANY OF ITS LICENSORS BE
RESPONSIBLE FOR ANY LOSS OF DATA OR INCOME OR ANY SPECIAL,
INCIDENTAL, CONSEQUENTIAL OR INDIRECT DAMAGES HOWSOEVER
CAUSED.
THE CONTENTS OF THIS DOCUMENT ARE PROVIDED "AS IS". EXCEPT AS
REQUIRED BY APPLICABLE LAW, NO WARRANTIES OF ANY KIND, EITHER
EXPRESS OR IMPLIED, INCLUDING, BUT NOT LIMITED TO, THE IMPLIED
WARRANTIES OF MERCHANTABILITY AND FITNESS FOR A PARTICULAR
PURPOSE, ARE MADE IN RELATION TO THE ACCURACY, RELIABILITY OR
CONTENTS OF THIS DOCUMENT. NOKIA RESERVES THE RIGHT TO REVISE
THIS DOCUMENT OR WITHDRAW IT AT ANY TIME WITHOUT PRIOR NOTICE.
The availability of particular products and applications and services for
these products may vary by region. Please check with your Nokia dealer for
details and availability of language options.
FCC Draft
Export controls
This device may contain commodities, technology or software subject to
export laws and regulations from the US and other countries. Diversion
contrary to law is prohibited.
The third-party applications provided with your device may have been
created and may be owned by persons or entities not affiliated with or
related to Nokia. Nokia does not own the copyrights or intellectual
property rights to the third-party applications. As such, Nokia does not
take any responsibility for end-user support, functionality of the
applications, or the information in the applications or these materials.
Nokia does not provide any warranty for the third-party applications.
BY USING THE APPLICATIONS YOU ACKNOWLEDGE THAT THE
APPLICATIONS ARE PROVIDED AS IS WITHOUT WARRANTY OF ANY KIND,
EXPRESS OR IMPLIED, TO THE MAXIMUM EXTENT PERMITTED BY
APPLICABLE LAW. YOU FURTHER ACKNOWLEDGE THAT NEITHER NOKIA
NOR ITS AFFILIATES MAKE ANY REPRESENTATIONS OR WARRANTIES,
EXPRESS OR IMPLIED, INCLUDING BUT NOT LIMITED TO WARRANTIES OF
TITLE, MERCHANTABILITY OR FITNESS FOR A PARTICULAR PURPOSE, OR
THAT THE APPLICATIONS WILL NOT INFRINGE ANY THIRD-PARTY PATENTS,
COPYRIGHTS, TRADEMARKS, OR OTHER RIGHTS.
FCC/INDUSTRY CANADA NOTICE
Your device may cause TV or radio interference (for example, when using a
telephone in close proximity to receiving equipment). The FCC or Industry
Canada can require you to stop using your telephone if such interference
cannot be eliminated. If you require assistance, contact your local service
facility. This device complies with part 15 of the FCC rules. Operation is
subject to the following two conditions: (1) This device may not cause
harmful interference, and (2) this device must accept any interference
FCC Draft
received, including interference that may cause undesired operation. Any
changes or modifications not expressly approved by Nokia could void the
user's authority to operate this equipment.
9207764/Issue 1

6
FCC Draft
Contents
SAFETY...................................................................................... 9
General information .............................................................. 11
About your device................................................................................................. 11
Network services................................................................................................... 13
Enhancements........................................................................................................ 14
Access codes........................................................................................................... 15
Software updates.................................................................................................. 17
Download content ................................................................................................ 18
Nokia support......................................................................................................... 18
1. Get started ......................................................................... 19
Install SIM card and battery ............................................................................. 19
Charge the battery................................................................................................ 21
Switch the phone on and off............................................................................. 22
Set the time, zone, and date.............................................................................. 23
Configuration settings service........................................................................... 23
Antenna ................................................................................................................... 25
Keys and parts ...................................................................................................... 26
microSD memory card ......................................................................................... 28
Standby mode ....................................................................................................... 30
Flight profile........................................................................................................... 32
2. Calls.................................................................................... 34
Make a voice call .................................................................................................. 34
Answer or reject a call......................................................................................... 35
Speed dialling......................................................................................................... 35
Options during a call............................................................................................ 36
Make a video call .................................................................................................. 37
7
FCC Draft
3. Messaging .......................................................................... 39
Write and send a text message......................................................................... 39
Write and send a multimedia message........................................................... 40
Read and reply to a message............................................................................. 41
E-mail application ................................................................................................ 42
Message settings................................................................................................... 45
4. Contacts ............................................................................. 51
Save names and phone numbers...................................................................... 51
Add contact details .............................................................................................. 51
Search for a contact............................................................................................. 52
Copy or move contacts........................................................................................ 52
Edit contacts........................................................................................................... 53
Groups ...................................................................................................................... 53
Contact settings .................................................................................................... 54
5. Log...................................................................................... 54
6. Settings .............................................................................. 55
Profiles ..................................................................................................................... 55
Themes ..................................................................................................................... 56
Tones......................................................................................................................... 57
Display...................................................................................................................... 57
Date and time ........................................................................................................ 59
My shortcuts........................................................................................................... 60
Sync and backup ................................................................................................... 61
Connectivity............................................................................................................ 62
Call ............................................................................................................................ 67
Phone........................................................................................................................ 69
Enhancements........................................................................................................ 71
Configuration ......................................................................................................... 71
Restore factory settings...................................................................................... 73
Phone software updates ..................................................................................... 73
8
FCC Draft
7. PC connectivity.................................................................. 74
Nokia PC Suite ....................................................................................................... 74
Data communication applications ................................................................... 75
8. Media ................................................................................. 76
Camera..................................................................................................................... 76
Video......................................................................................................................... 77
Music player ........................................................................................................... 77
9. Battery and charger information ..................................... 82
Nokia battery authentication guidelines........................................................ 85
Care and maintenance........................................................... 88
Additional safety information .............................................. 91
APPENDIX............................................................................. 100
A message from the CTIA.................................................................................. 100
Message from the FDA ...................................................................................... 107

SAFETY
9
FCC Draft
SAFETY
Read these simple guidelines. Not following them may be
dangerous or illegal. Read the complete user guide for
further information.
SWITCH ON SAFELY
Do not switch the device on when wireless
phone use is prohibited or when it may cause
interference or danger.
ROAD SAFETY COMES FIRST
Obey all local laws. Always keep your hands free
to operate the vehicle while driving. Your first
consideration while driving should be road
safety.
INTERFERENCE
All wireless devices may be susceptible to
interference, which could affect performance.

SAFETY
10
FCC Draft
SWITCH OFF IN RESTRICTED AREAS
Follow any restrictions. Switch the device off in
aircraft, near medical equipment, fuel,
chemicals, or blasting areas.
QUALIFIED SERVICE
Only qualified personnel may install or repair
this product.
ENHANCEMENTS AND BATTERIES
Use only approved enhancements and batteries.
Do not connect incompatible products.
WATER-RESISTANCE
Your device is not water-resistant. Keep it dry.

General information
11
FCC Draft
General information
■About your device
The wireless device described in this guide is
approved for use on the WCDMA 850 and 2100 (RM-
364), and GSM 850, 900,1800, and 1900 networks.
Contact your service provider for more information
about networks.
When using the features in this device, obey all laws
and respect local customs, privacy and legitimate
rights of others, including copyrights.
Copyright protection may prevent some images,
music, and other content from being copied,
modified, or transferred.
Your device may have preinstalled bookmarks and
links for third-party internet sites. You may also
access other third-party sites through your device.

General information
12
FCC Draft
Third-party sites are not affiliated with Nokia, and
Nokia does not endorse or assume liability for them.
If you choose to access such sites, you should take
precautions for security or content.
Warning: To use any features in this device,
other than the alarm clock, the device must
be switched on. Do not switch the device on
when wireless device use may cause interference or
danger.
Remember to make back-up copies or keep a written
record of all important information stored in your
device.
When connecting to any other device, read its user
guide for detailed safety instructions. Do not connect
incompatible products.
General information
13
FCC Draft
■Network services
To use the phone you must have service from a
wireless service provider. Many of the features
require special network features. These features are
not available on all networks; other networks may
require that you make specific arrangements with
your service provider before you can use the network
services. Your service provider can give you
instructions and explain what charges will apply.
Some networks may have limitations that affect how
you can use network services. For instance, some
networks may not support all language-dependent
characters and services.
Your service provider may have requested that
certain features be disabled or not activated in your
phone. If so, these features will not appear on your
phone menu. Your phone may also have a special
configuration such as changes in menu names, menu

General information
14
FCC Draft
order, and icons. Contact your service provider for
more information.
This device supports WAP 2.0 protocols (HTTP and
SSL) that run on TCP/IP protocols. Some features of
this device, such as multimedia messaging (MMS),
browsing, e-mail application, instant messaging,
remote synchronisation, and content downloading
using the browser or MMS, require network support
for these technologies.
■Enhancements
Warning: Use only batteries, chargers, and
enhancements approved by Nokia for use with
this particular model. The use of any other types
may invalidate any approval or warranty, and may be
dangerous.
For availability of approved enhancements, please check
with your dealer. When you disconnect the power cord of
any enhancement, grasp and pull the plug, not the cord.
General information
15
FCC Draft
■Access codes
Select Menu > Settings > Security to set how your
phone uses the access codes and security settings.
• To prevent accidental key presses, use the keypad
lock (keyguard).
Select Menu > Settings > Phone > Automatic
keyguard or Security keyguard > On or Off. If the
Security keyguard is set On, enter a security code
of your choice when requested.
To unlock the keys, select Unlock, and press the *
key.
To answer a call when the keyguard is on, press
the call key. When you end or reject the call, the
keys are automatically locked.
• The security code helps to protect your phone
against unauthorised use.
General information
16
FCC Draft
• The PIN code, supplied with the SIM card, helps to
protect the card against unauthorised use.
• The PIN2 code, supplied with some SIM cards, is
required to access certain services.
• PUK and PUK2 codes may be supplied with the
SIM card. If you enter the PIN or PIN2 code
incorrectly three times in succession, you will be
asked for the PUK or PUK2 code. If you do not
have them, contact your service provider.
• The barring password (four digits) is required
when using the Call barring service to restrict
calls to and from your phone (network service).
• To view or change the security module settings, if
installed, select Menu > Settings > Security >
Security module sett..

General information
17
FCC Draft
■Software updates
Important: Use only services that you trust and
that offer adequate security and protection
against harmful software.
Nokia may produce software updates that may offer new
features, enhanced functions, or improved performance.
You may be able to request these updates through the
Nokia Software Updater PC application. To update the
device software, you need the Nokia Software Updater
application and a compatible PC with Microsoft Windows
2000, XP, or Vista operating system, internet access, and a
compatible data cable to connect your device to the PC.
To get more information and to download the Nokia
Software Updater application, visit www.nokia.com/
softwareupdate or your local Nokia website.
Downloading software updates may involve the
transmission of large amounts of data through your service
provider's network. Contact your service provider for
information about data transmission charges.

General information
18
FCC Draft
Make sure that the device battery has enough power, or
connect the charger before starting the update.
If software updates over the air are supported by your
network, you may also be able to request updates through
the device. See “Phone,” p. 69.
■Download content
You may be able to download new content (for
example, themes) to your phone (network service).
For the availability of different services, pricing, and
tariffs, contact your service provider.
Important: Use only services that you trust
and that offer adequate security and
protection against harmful software.
■Nokia support
Check www.nokia.com/support or your local Nokia
website for the latest guides, additional information,

Get started
19
FCC Draft
downloads, and services related to your Nokia
product.
On the website, you can get information on the use
of Nokia products and services. If you need to contact
customer service, check the list of local Nokia
contact centres at www.nokia.com/customerservice.
For maintenance services, check your nearest Nokia
service centre at www.nokia.com/repair.
1. Get started
■Install SIM card and battery
Always switch the device off and disconnect the charger
before removing the battery.
The SIM card and its contacts can easily be damaged
by scratches or bending, so be careful when handling,
inserting, or removing the card. Insert the SIM card

Get started
20
FCC Draft
with the gold-coloured contact area facing down (6-
7).

Get started
21
FCC Draft
■Charge the battery
Charging the BL-4U battery with the AC-3 charger
takes approximately 2 hours 15 minutes while the
phone is in the standby mode.
1. Connect the charger
to a wall socket.
2. Connect the lead
from the charger to
the charger connector
at the bottom of your
phone.

Get started
22
FCC Draft
If the battery is completely discharged, it may take
several minutes before the charging indicator
appears on the display or before any calls can be
made.
■Switch the phone on and off
1. Press and hold the power key
as shown.
2. If the phone asks for a PIN or a
UPIN code, enter the code (for
example, displayed as ****), and
select OK.
When you switch on your phone
for the first time, and the phone is in the standby
mode, you are asked to obtain the configuration
settings from your service provider (network service).
Confirm or decline the query. See “Configuration,”
p. 71, and “Configuration settings service,” p. 23.
Get started
23
FCC Draft
■Set the time, zone, and date
When you switch on your phone for the first time, the
phone is in the standby mode, and you are asked to
set the time and date. Fill in the fields, and select
Save.
To access Date and time later, select Menu >
Settings > Date and time > Date & time settings,
Date and time format, or Auto-update of time
(network service) to change the time, time zone, and
date settings.
■Configuration settings service
To use some of the network services, such as mobile
internet services, MMS, Nokia Xpress audio
messaging, or remote internet server
synchronisation, your phone needs the correct
configuration settings. For more information on
availability, contact your network operator, service
Get started
24
FCC Draft
provider, nearest authorised Nokia dealer, or visit the
support area on the Nokia website, www.nokia.com/
support.
When you have received the settings as a
configuration message, and the settings are not
automatically saved and activated, Configuration
settings received is displayed. Select Show > Save. If
required, enter the PIN code supplied by the service
provider.

Get started
25
FCC Draft
■Antenna
Your device may have internal
and external antennas. As
with any radio transmitting
device, avoid touching the
antenna area unnecessarily
while the antenna is
transmitting or receiving.
Contact with such an antenna
affects the communication quality and may cause the
device to operate at a higher power level than otherwise
needed and may reduce the battery life.

Get started
26
FCC Draft
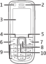
■Keys and parts
1. Front camera lens
2. Earpiece
3. Display
4. Left selection key
5. Right selection key
6. Call key
7. End key
8. Middle selection
key
9. Keypad
10.Navi™ key (herein
referred to as scroll
key)

Get started
27
FCC Draft
11.Microphone
12.Charger connector
13.Enhancements
connector
14.USB connector
15.Camera lens
16.Camera flash
17.Power key
18.Loudspeaker
19.Volume up key/PTT
20.Volume down key
New Graphics Needed

Get started
28
FCC Draft
■microSD memory card
The microSD memory card, inserted in
your phone, can be loaded with data
such as ringing tones, themes, tones,
images and videos. If you delete, reload, or replace
this card, these functions and features may not
function properly.
You can remove or replace a microSD card during
phone operation without switching the phone off.
Use only compatible microSD cards approved by Nokia for
use with this device. Nokia uses approved industry
standards for memory cards, but some brands may not be
fully compatible with this device. Incompatible cards may
damage the card and the device and corrupt data stored on
the card.
Important: Do not remove the memory card in
the middle of an operation when the card is being
accessed. Removing the card in the middle of an

Get started
29
FCC Draft
operation may damage the memory card as well as the
device, and data stored on the card may be corrupted.
1. Remove
the battery
cover of
the phone.
Insert the
card with
the gold-
coloured
contact
area facing
down (1).
2. Press the card into the slot until it clicks into
place (2). Replace the battery cover.

Get started
30
FCC Draft
■Standby mode
When the phone is ready for use, and you have not
entered any characters, the phone is in the standby
mode.
1. 3G indicator
2. Signal strength of the
cellular network
3. Battery charge level
4. Indicators. See
“Indicators,” p. 31.
5. Name of the network or
the operator logo
6. Clock
7. Display
8. The left selection key is Go to or a shortcut to a
function that you have selected. See “Left
selection key,” p. 60.

Get started
31
FCC Draft
9. The middle selection key is Menu.
10.The right selection key may be Names to access
the list of contacts in the Contacts menu, an
operator-specific name to access an
operator-specific website, or a shortcut to a
function that you have selected. See “Right
selection key,” p. 60.
Indicators
You have unread messages.
The phone registered a missed call. See “Log,”
p. 54.
The keypad is locked. See “Access codes,”
p. 15.
The phone does not ring for an incoming call
or text message when Incoming call alert

Get started
32
FCC Draft
and Message alert tone are set to Off. See
“Tones,” p. 57.
The alarm clock is set to On
, The packet data connection mode, Always
online is selected and the packet data
service is available, the indicator is shown.
, A GPRS or EGPRS connection is established.
, The GPRS or EGPRS connection is suspended
(on hold).
Bluetooth connectivity is activated. See
“Connecting with Bluetooth,” p. 62.
■Flight profile
You can deactivate all radio frequency functions and
still have access to offline games, calendar, music
player, and phone numbers. Use the flight profile in

Get started
33
FCC Draft
radio sensitive environments—on board aircraft or in
hospitals. When the flight profile is active, is
shown.
Select Menu > Settings > Profiles > Flight >
Activate or Personalise.
To set the phone to ask every time it is switched on
whether to use the flight profile, select Menu >
Settings > Phone > Flight query > On or Off.
To deactivate the flight profile, select any other
profile.
In the offline or flight profiles, you may need to unlock the
device and change to the calling profile before making a
call.
Warning: With the flight profile you cannot make
or receive any calls, including emergency calls, or
use other features that require network coverage.
To make calls, you must first activate the phone function by
changing profiles. If the device has been locked, enter the
lock code. If you need to make an emergency call while the

Calls
34
FCC Draft
device is locked and in the flight profile, you may be also
able to enter an official emergency number programmed in
your device in the lock code field and select 'Call'. The
device will confirm that you are about to exit flight profile
to start an emergency call.
2. Calls
■Make a voice call
Do one of the following:
• Enter the phone number, including the area code
if required, and press the call key.
For international calls, press * twice for the
international prefix (the + character replaces the
international access code), enter the country
code, the area code without the leading 0, if
necessary, and the phone number.
Calls
35
FCC Draft
• To list the last called numbers, press the call key
once. To call one of the numbers, select it, and
press the call key.
• Call a number saved in Contacts. See “Contacts,”
p. 51.
To increase or decrease the volume during a call,
press the volume key up or down.
■Answer or reject a call
To answer a call, press the call key. To end the call,
press the end key.
To reject a call, press the end key.
To mute the ringing tone, select Silence.
■Speed dialling
To assign a number to one of the speed-dialling keys,
3 to 9:
Calls
36
FCC Draft
1. Select Menu > Contacts > Speed dials.
2. Scroll to the speed-dialling number that you
want.
3. Select Assign, or if a number has already been
assigned to the key, select Options > Change.
4. Select Search and the contact you want to assign.
If the Speed dialling function is off, the phone asks
whether you want to activate it.
Select Menu > Settings > Call > Speed dialling > On
or Off.
To call a number, press and hold a speed-dialling key
until the call begins.
■Options during a call
Many of the options that you can use during a call
are network services. For availability, contact your
service provider.
Calls
37
FCC Draft
Possible options that your service provider may offer
include conference calls, video sharing and placing
calls on hold.
■Make a video call
1. To start a video call, enter the phone number in
the standby mode, or select Contacts and a
contact.
2. Press and hold the call key, or select Options >
Video call.
Starting a video call may take a while. Video call
and an outgoing animation is shown. If the call
does not succeed (for example, video calls are not
supported by the network, or the receiving device
is not compatible), you are asked if you want to
try a voice call or send a message instead.
To increase or decrease the volume during a call,
press the volume key up or down.
Calls
38
FCC Draft
3. To end the call, press the end key.
When you make a video call, you send a real-time
video to the recipient of the call. The video image
captured by the camera on the front of your phone is
shown to the video call recipient.
To make a video call, you must have a USIM card and
be connected to a WCDMA network. For availability
of and subscription to video call services, contact
your network operator or service provider. A video
call can only be made between two parties. The video
call can be made to a compatible phone or an ISDN
client. Video calls cannot be made while another
voice, video, or data call is active.
During extended operation such as an active video call and
high speed data connection, the device may feel warm. In
most cases, this condition is normal. If you suspect the
device is not working properly, take it to the nearest
authorised service facility.

Messaging
39
FCC Draft
3. Messaging
■Write and send a text message
1. Select Menu > Messaging > Create message >
Message.
2. Enter one or more phone numbers in the To: field.
To retrieve a phone number from a memory, select
Add.
3. Write your message in the Text: field.
To use a text template, scroll down, and select
Insert.
4. Select Send.
Messaging
40
FCC Draft
■Write and send a multimedia
message
1. Select Menu > Messaging > Create message >
Message.
2. Enter one or more phone numbers or e-mail
addresses in the To: field. To retrieve a phone
number or e-mail address from a memory, select
Add.
3. Write your message. To add a file, scroll down,
and select Insert.
4. To view the message before sending it, select
Options > Preview.
5. Select Send.
Only devices that have compatible features can receive and
display multimedia messages. The appearance of a message
may vary depending on the receiving device.

Messaging
41
FCC Draft
The wireless network may limit the size of MMS messages.
If the inserted picture exceeds this limit, the device may
make it smaller so that it can be sent by MMS.
To check availability and to subscribe to the
multimedia messaging service (MMS, network
service), contact your service provider.
■Read and reply to a message
1. To view a received message, select Show.
To read the message later, select Menu >
Messaging > Inbox.
2. To reply to a message, select Reply. Write the
reply message.
3. Select Send.
Important: Exercise caution when opening
messages. Messages may contain malicious
software or otherwise be harmful to your device
or PC.

Messaging
42
FCC Draft
■E-mail application
To activate the e-mail settings, select Menu >
Messaging > Message settings > E-mail messages.
To use the e-mail function on your phone, you need a
compatible e-mail system.
You may receive the e-mail configuration settings as
a configuration message.
E-mail setup wizard
Select Menu > Messaging > E-mail and enter your e-
mail address.
The e-mail application requires an internet access
point without a proxy. WAP access points normally
include a proxy and do not work with the e-mail
application.

Messaging
43
FCC Draft
Write and send e-mail
You can write your e-mail message before
connecting to the e-mail service; or connect to the
service first, then write and send your e-mail.
1. Select Menu > Messaging > Create message > E-
mail.
If more than one e-mail account is defined, select
the account from which you want to send the e-
mail.
2. Enter the recipient’s e-mail address, write the
subject, and enter the message. To attach a file to
the e-mail, select Options > Insert.
To save your e-mail, select Options > Save
message. To edit or continue writing your e-mail
later, select As draft message.
3. To send the e-mail message, select Send.

Messaging
44
FCC Draft
To send an e-mail from a draft folder, select Menu >
Messaging > Drafts and the desired message.
Read and reply to e-mail
1. Select Menu > Messaging, the account name,
and the desired message.
2. To reply to an e-mail, select Options > Reply.
Confirm or edit the e-mail address and subject,
and create your reply.
3. To send the message, select Send.
To end the e-mail session, select Options >
Disconnect.
Important: Exercise caution when opening
messages. Messages may contain malicious
software or otherwise be harmful to your device
or PC.

Messaging
45
FCC Draft
■Message settings
General settings
General settings are common for text and
multimedia messages.
Select Menu > Messaging > Message settings >
General settings and from the following options:
Save sent messages — to save the sent messages in
the Sent items folder
Overwrite sent items — to overwrite the old sent
messages with the new ones when the message
memory is full. This setting is shown only if you
selected Save sent messages.
Favourite recipient — to define easily available
message recipients or groups when sending
messages
Font size — to select the font size used in messages

Messaging
46
FCC Draft
Graphical smileys — to replace character-based
smileys with graphical ones
Text messages
The text message settings affect the sending,
receiving, and viewing of text messages.
Select Menu > Messaging > Message settings > Text
messages, and from the following options:
Delivery reports — to receive delivery reports about
your messages (network service)
Message centres — to add a message centre that is
required for sending text messages. You receive the
phone number of the message centre from your
service provider.
Msg. centre in use — to select the message centre in
use
Message validity — to select the length of time for
which the network attempts to deliver your message

Messaging
47
FCC Draft
Messages sent via — to select the format of the
messages to be sent: Text, Paging, or Fax (network
service)
Use packet data — to set GPRS as the preferred SMS
bearer
Character support — to select how characters in the
messages are sent. Select Full to send the characters
as they are viewed.
Rep. via same centre — to allow the recipient of your
message to send you a reply using your message
centre (network service)
Multimedia messages
The message settings affect the sending, receiving,
and viewing of multimedia messages. You may
receive the configuration settings for multimedia
messaging as a configuration message. See
“Configuration settings service,” p. 23. You can also
Messaging
48
FCC Draft
enter the settings manually. See “Configuration,”
p. 71.
Select Menu > Messaging > Message settings >
Multimedia messages and from the following
options:
Delivery reports — to receive delivery reports about
your messages (network service)
MMS creation mode — to restrict or allow various
types of multimedia to be added to messages
Image size in MMS — to set the image size in
multimedia messages
Default slide timing — to define the default time
between slides in multimedia messages
Allow MMS receptn. — to allow or block a multimedia
message. If you select In home network, you cannot
receive multimedia messages when outside your
home network. The default setting is generally In

Messaging
49
FCC Draft
home network. The availability of this menu depends
on your phone.
Incoming MMS msgs. — to decide how multimedia
messages are retrieved. This setting is not shown if
Allow MMS receptn. is set to No.
Allow adverts — to receive or reject advertisements.
This setting is not shown if Allow MMS receptn. is set
to No, or Incoming MMS msgs. is set to Reject.
Configuration sett. — to view the configurations that
support multimedia messaging. Select a service
provider, Default, or Personal config. for multimedia
messaging. Select Account and a MMS account
contained in the active configuration settings.
E-mail messages
The e-mail settings affect the sending, receiving, and
viewing of e-mail. You may receive the settings as a
configuration message. See “Configuration settings
Messaging
50
FCC Draft
service,” p. 23. You can also enter the settings
manually. See “Configuration,” p. 71.
Select Menu > Messaging > Message settings >E-
mail messages, and from the following options:
New e-mail notif. — to select whether a notification
is shown when new e-mail is received
Allow mail reception — to select whether e-mail can
be received when you are outside your home network
Reply with orig. msg. — to select whether the original
message is included in the reply
Image size in e-mail — to select the size of images in
e-mail
Edit mailboxes — to add new mailboxes or edit one in
use

Contacts
51
FCC Draft
4. Contacts
You can save names and phone numbers (contacts) in
the phone memory and in the SIM card memory.
■Save names and phone numbers
Select Menu > Contacts > Names > Options > Add
new contact. Names and numbers are saved in the
phone memory.
■Add contact details
Select Menu > Contacts > Settings, and ensure that
the Memory in use is Phone or Phone and SIM. In the
phone memory, you can save different types of phone
numbers, a tone or a video clip, and short text items
for a contact.
Contacts
52
FCC Draft
Search for the contact to which you want to add a
detail, and select Details > Options > Add detail.
Select from the available options.
■Search for a contact
Select Menu > Contacts > Names. Scroll through the
list of contacts, or enter the first characters of the
name you are searching for.
■Copy or move contacts
You can move and copy contacts from the phone
memory to the SIM card memory or vice versa. The
SIM card can save names with one phone number
attached to them.
To move or copy all contacts, select Menu >
Contacts > Move contacts or Copy contacts.
Contacts
53
FCC Draft
To move or copy contacts one by one, select Menu >
Contacts > Names. Scroll to the contact, and select
Options > Move contact or Copy contact.
To move or copy multiple contacts, select Menu >
Contacts > Names. Scroll to a contact, and select
Options > Mark. Mark the other contacts, and select
Options > Move marked or Copy marked.
■Edit contacts
Select Menu > Contacts > Names. Scroll to the
contact, and select Options > Edit, and scroll to the
details you want to change.
■Groups
Select Menu > Contacts > Groups to arrange the
names and phone numbers into caller groups with
different ringing tones and group images.

Log
54
FCC Draft
■Contact settings
Select Menu > Contacts > Settings, and from the
following options:
Memory in use — See “Add contact details,” p. 51.
Contacts view — to select how the names and
numbers in Contacts are displayed
Name display — to select whether the contact’s first
or last name is displayed first
Font size — to set the font size for the list of contacts
Memory status — to view the free and used memory
capacity
5. Log
Select Menu > Log > Missed calls, Received calls, or
Dialled numbers. To view your recent missed and
received calls and dialled numbers chronologically,

Settings
55
FCC Draft
select All calls. To view the contacts to whom you
most recently sent messages, select Msg. recipients.
To view how many text and multimedia messages
you have sent and received, select Menu > Log >
Message log.
Note: The actual invoice for calls and services
from your service provider may vary, depending on
network features, rounding off for billing, taxes,
and so forth.
6. Settings
■Profiles
Select Menu > Settings > Profiles, the desired
profile, and from the following options:
Activate — to activate the selected profile
Settings
56
FCC Draft
Personalise — to customise the profile with ringing
tones, ringing volume, vibrating alerts, light effects,
and message alert tones.
Timed — to set the profile to be active for a certain
time up to 24 hours. After this time the previous
profile becomes active.
■Themes
Select Menu > Settings > Themes, and from the
following options:
Select theme — to set a theme. A list of folders in
Gallery opens. Open the Themes folder, and select a
theme.
Theme downloads — to open a list of links to
download more themes

Settings
57
FCC Draft
■Tones
Select Menu > Settings > Tones.
Select Options > Save to save the settings or Cancel
to leave the settings unchanged.
If you select the highest ringing tone level, the ringing tone
reaches its highest level after a few seconds.
■Display
To personalise your display view, adjust the display
settings.
Standby mode settings
Select Menu > Settings > Display, and from the
following options:
Wallpaper — to set your phone to display an image or
a slide as wallpaper in the standby mode. Select
Settings
58
FCC Draft
Wallpapers > Image or Slide set, scroll to a folder,
and select an image or slide set.
Active standby — to select whether the active
standby mode is used.
Standby font colour — to select the colour for the
texts on the display in the standby mode
Navigation key icons — to display the icons of the
current scroll key shortcuts in the standby mode
when active standby is off
Notification details — to show or hide details such as
contact information, in both missed call and message
received notifications
Screen saver — to display a shifting pattern or image
when no function of the phone is used for a certain
time
Power saver — to save battery power, a digital clock is
displayed when no function of the phone is used for a
certain time
Settings
59
FCC Draft
Sleep mode — to save battery power, the display
turns black when no function of the phone is used for
a certain time
Font size — to set the font size for reading and
writing messages, and viewing contacts and web
pages
Operator logo — to set your phone to display or hide
the operator logo, if available
Cell info display — to receive information from the
network operator depending on the network cell used
(network service)
■Date and time
Select Menu > Settings > Date and time > Date &
time settings, Date and time format, or Auto-update
of time (network service) to change the time, time
zone, and date settings.

Settings
60
FCC Draft
■My shortcuts
Personal shortcuts give you quick access to
frequently used functions of the phone.
Left selection key
To select a function from the list, select Menu >
Settings > My shortcuts > Left selection key.
Right selection key
To select a function from the list, select Menu >
Settings > My shortcuts > Right selection key.
Navigation key
To assign other phone functions from a predefined
list to the scroll key, select Menu > Settings > My
shortcuts > Navigation key

Settings
61
FCC Draft
Active standby key
To select a function from the list, select Menu >
Settings > My shortcuts > Active standby key.
■Sync and backup
Select Menu > Settings > Sync and backup, to
synchronise or copy data between your phone and
another phone or remote server (network service).
Phone switch — to synchronise or copy data between
two phones
Create backup — to create a backup of selected
content and store it to your phone memory
Restore backup — to restore content previously
backed up on your phone memory
Server sync— to synchronise data between your
phone and a server

Settings
62
FCC Draft
■Connectivity
You can connect your phone to a compatible device
using Bluetooth wireless technology or a USB data
cable.
Connecting with Bluetooth
This device is compliant with Bluetooth Specification 2.0
supporting the following profiles: advanced audio
distribution, audio video remote control, dial-up
networking, file transfer, generic access, generic object
exchange, generic audio/video distribution9, hands-free,
headset, object push, phonebook access, serial port, service
discovery application, and SIM access. To ensure
interoperability between other devices supporting
Bluetooth technology, use Nokia approved enhancements
for this model. Check with the manufacturers of other
devices to determine their compatibility with this device.
Bluetooth technology allows you to connect your
phone to a compatible Bluetooth phone within a 10

Settings
63
FCC Draft
meter (33 feet) range. Since phones using Bluetooth
technology communicate using radio waves, your
phone and the other phones do not need to be in
direct line of sight, although the connection can be
subject to interference from obstructions, such as
walls, or from other electronic devices.
Features using Bluetooth technology increase the demand
on battery power and reduce the battery life.
Activate a Bluetooth connection
Select Menu > Settings > Connectivity > Bluetooth
> On.
Select My phone's name, to set or change the name
of your phone that is visible to other Bluetooth
devices.
indicates that Bluetooth is active. Remember
that Bluetooth uses battery power and may reduce
battery life.

Settings
64
FCC Draft
Connect a Bluetooth device
Select Menu > Settings > Connectivity > Bluetooth
> Connect audio enhan. and the device that you
want to connect to.
View a list of your Bluetooth
connections
Select Menu > Settings > Connectivity > Bluetooth
> Active devices.
Send data to a Bluetooth device
Select Menu > Settings > Connectivity > Bluetooth
> Paired devices. Select the device that you want to
connect to, and enter a passcode. To connect to
another device, you must agree on a passcode (up to
16 characters) to use. You only use the passcode once
to set up the connection and begin transferring data.

Settings
65
FCC Draft
If you do not see the device on the list, select New to
list Bluetooth devices in range.
Hide your Bluetooth device from
others
Select Menu > Settings > Connectivity > Bluetooth
> My phone's visibility. Select Hidden, or turn off
Bluetooth completely.
Synchronise from a compatible PC
To synchronise data from calendar, notes, and
contacts, install the Nokia PC Suite software for your
phone on a compatible PC. Use Bluetooth wireless
technology or a USB data cable, for the
synchronisation, and start the synchronisation from
the PC.

Settings
66
FCC Draft
Synchronise from a server
To use a remote internet server, subscribe to a
synchronisation service. For more information and
the settings required for this service, contact your
service provider.
USB data cable
You can use the USB data cable, CA-101, to transfer
data between the phone and a compatible PC or a
printer supporting PictBridge. You can also use the
USB data cable with Nokia PC Suite.
Ask on conn. — to set your phone to ask whether to
accept a connection
PC Suite — to use your phone to interact with
applications on a PC that has Nokia PC Suite
Printing & Media — to use your phone with a
PictBridge compatible printer, or to connect your
Settings
67
FCC Draft
phone to a PC to synchronise it with Windows Media
Player (music, video)
Data storage — to connect to a PC that does not have
Nokia software and use your phone for data storage
To change the USB mode, select Menu > Settings >
Connectivity > USB data cable > Ask on conn., PC
Suite, Printing & Media, or Data storage.
■Call
Select Menu > Settings > Call, and from the
following options:
Call divert — to divert your incoming calls (network
service). You may not be able to divert your calls if
some call barring functions are active. See Call
barring service in “Access codes,” p. 15.
Anykey answer > On — to answer an incoming call by
briefly pressing any key, except the power key, the
left and right selection keys, or the end key
Settings
68
FCC Draft
Automatic redial — to make a maximum of 10
attempts to connect the call after an unsuccessful
call attempt
Voice clarity — to enhance speech intelligibility,
especially in noisy environments
Speed dialling — See “Speed dialling,” p. 35.
Call waiting — to receive a notification when you
have an incoming call while you are on a call
(network service).
Summary after call — to display the approximate
duration and cost (network service) of the call after
each call
Send my caller ID — to show your phone number to a
person you are calling (network service). To use the
setting agreed upon with your service provider, select
Set by network.
Video sharing — to define video sharing settings
Settings
69
FCC Draft
■Phone
Select Menu > Settings > Phone, and from the
following options:
Language settings — to set the display language of
your phone, select Phone language. Automatic
selects the language according to the information on
the SIM card. To select the USIM card language,
select SIM language. To set a language for the voice
playback, select Recognition lang..
Memory status — to view the amount of used and
available phone memory
Automatic keyguard — See “Access codes,” p. 15.
Security keyguard — See “Access codes,” p. 15.
Voice recognition — to make a phone call by saying
the name that is saved in Contacts.
Flight query — See “Flight profile,” p. 32.
Settings
70
FCC Draft
Welcome note — to write the note that is shown
when the phone is switched on
Phone updates — to update your phone software if
there is an update available
Network mode — to select dual mode (UMTS or GSM).
You cannot access this option during an active call.
Operator selection — to set the phone to
automatically select one of the cellular networks
available in your area, select Automatic. With
Manual, you can select a network that has a roaming
agreement with your service provider.
Help text activation — to select whether the phone
shows help texts
Start-up tone — to select whether the phone plays a
tone when it is switched on
Settings
71
FCC Draft
■Enhancements
This menu or the following options are shown if the
phone is, or has been, connected to a compatible
mobile enhancement.
Select Menu > Settings > Enhancements. Select an
enhancement and, depending on the enhancement,
from the following options:
Default profile — to select the profile that you want
to be automatically activated when you connect to
the selected enhancement
Automatic answer — to set the phone to answer an
incoming call automatically after 5 seconds. If
Menu > Settings > Tones > Incoming call alert is set
to Beep once or Off, automatic answer is off.
■Configuration
You can configure your phone with settings that are
required for certain services to function correctly.
Settings
72
FCC Draft
Your service provider may also send you these
settings as a configuration message.
Select Menu > Settings > Configuration and from
the following options:
Default config. sett. — to view the service providers
saved in the phone. To set the configuration settings
of the service provider as default settings, select
Options > Set as default.
Activ. def. in all apps. — to activate the default
configuration settings for supported applications
Preferred access pt. — to view the saved access
points. Scroll to an access point, and select
Options > Details to view the name of the service
provider, data bearer, and packet data access point or
GSM dial-up number.
Connect to support — to download the configuration
settings from your service provider
Settings
73
FCC Draft
Personal config. sett. — to add new personal accounts
for various services manually, and to activate or
delete them. The parameters differ according to the
selected service type.
■Restore factory settings
To reset some of the menu settings to their original
values, select Menu > Settings > Rest. factory sett.
Enter the security code. The names and phone
numbers saved in Contacts are not deleted.
■Phone software updates
Your service provider may send phone software
updates over the air directly to your device. This
option may not be available, depending on your
phone.

PC connectivity
74
FCC Draft
Warning: If you install a software update,
you cannot use the device, even to make
emergency calls, until the installation is
completed and the device is restarted. Be sure to
back up data before accepting installation of an
update.
7. PC connectivity
You can send and receive e-mail, and access the
internet when your phone is connected to a
compatible PC through a Bluetooth connection or a
data cable. You can use your phone with a variety of
PC connectivity and data communications
applications.
■Nokia PC Suite
With Nokia PC Suite, you can synchronise contacts,
calendar, notes, and to-do notes between your phone
PC connectivity
75
FCC Draft
and a compatible PC or a remote internet server
(network service). You may find more information
and PC Suite at www.nokia.com/support or your local
Nokia website.
■Data communication applications
For information on using a data communication
application, refer to the documentation provided
with it.
Making or answering phone calls during a computer
connection is not recommended, as it might disrupt
the operation.
For better performance during data calls, place the
phone on a stationary surface with the keypad facing
downward. Do not move the phone by holding it in
your hand during a data call.

Media
76
FCC Draft
8. Media
You can take photos or record live video clips with
the built-in 2.0-megapixel camera.
■Camera
The camera produces pictures in .jpg format, and you
can digitally zoom up to eight times.
Take an image
Select Menu > Media > Camera > Capture. To take
another image, select Back; to send the image as a
multimedia message, select Send. Your phone saves
the image in Gallery > Images.
To zoom in or out, press the volume key up or down.

Media
77
FCC Draft
■Video
You can record video clips in .3gp or .mp4 format.
To set the quality of your video clips, select Menu >
Media > Video > Options > Settings > Video clip
quality > High, Normal, or Basic.
To select the file size limit, select Menu > Media >
Video > Options > Settings > Video clip length.
Record a video clip
Select Menu > Media > Video > Record. To zoom in
or out, press the volume key up or down.
■Music player
Your phone includes a music player for listening to
music tracks, recordings, or other MP3, MPEG4, AAC,
eAAC+, or WMA music files that you have transferred

Media
78
FCC Draft
to the phone with the Nokia Audio Manager
application, which is part of Nokia PC Suite.
To open the music player, select Menu > Media >
Music player.
Radio
The FM radio depends on an antenna other than the
wireless device antenna. A compatible headset or
enhancement needs to be attached to the device for
the FM radio to function properly.
Warning: Listen to music at a moderate level.
Continuous exposure to high volume may damage
your hearing. Do not hold the device near your ear
when the loudspeaker is in use, because the volume may be
extremely loud.
Select Menu > Media > Radio. To use the graphical
keys , , , or on the display, scroll left or
right to the key you want, and select it.

Media
79
FCC Draft
Save stations
1. To search for radio stations, select and hold or
. To change the radio frequency in 0.05 MHz
steps, press or .
2. To save the station to a memory location 1 to 9,
press and hold the corresponding number key.
3. To save the station in a memory location from 10
to 20, press 1 or 2, and press and hold a number
key from 0 to 9.
4. Enter the name of the station, and select OK.
Listen
1. Select Menu > Media > Radio.
2. To scroll to the radio station you want, select
or , or press the headset key.
3. To select a radio station location, briefly press the
corresponding number keys.
4. Select Options and one of the following options:
Media
80
FCC Draft
Switch off — to turn off the radio
Save station — to save a new radio station by
entering the station's name. This option is only
displayed when the selected radio station is not
saved.
Stations — to select a saved station from the list.
It is only possible to enter the station list if the
selected station has been previously saved.
Search all stations — to search for all radio
stations that the phone can receive
Set frequency — to enter the frequency of the
radio station.
Settings — to change the Radio Data System
(RDS) settings, select RDS on or RDS off. When
RDS is on, you can select Auto-freq. change on to
change to another frequency containing the same
radio station when the original signal becomes
weak.
Media
81
FCC Draft
Station directory — to open the Visual Radio
service using a web link to a radio station guide
Visual Radio — to set whether the Visual Radio
application is used. Some radio channels may
send text or graphical information that you can
view using Visual Radio.
Enable visual service — to set whether the Visual
Radio application starts automatically when you
turn on the radio
You can normally make a call or answer an incoming
call while listening to the radio. During the call, the
volume of the radio is muted.
When an application using a packet data or HSCSD
connection is sending or receiving data, it may
interfere with the radio.

Battery and charger information
82
FCC Draft
9. Battery and charger
information
Your device is powered by a rechargeable battery. The
battery intended for use with this device is BL-4U. This
device is intended for use when supplied with power from
the following chargers: AC-3. The battery can be charged
and discharged hundreds of times, but it will eventually
wear out. When the talk and standby times are noticeably
shorter than normal, replace the battery. Use only Nokia
approved batteries, and recharge your battery only with
Nokia approved chargers designated for this device. Use of
an unapproved battery or charger may present a risk of fire,
explosion, leakage, or other hazard.
If a battery is being used for the first time or if the battery
has not been used for a prolonged period, it may be
necessary to connect the charger, then disconnect and
reconnect it to begin charging the battery. If the battery is
completely discharged, it may take several minutes before
Battery and charger information
83
FCC Draft
the charging indicator appears on the display or before any
calls can be made.
Always switch the device off and disconnect the charger
before removing the battery.
Unplug the charger from the electrical plug and the device
when not in use. Do not leave a fully charged battery
connected to a charger, since overcharging may shorten its
lifetime. If left unused, a fully charged battery will lose its
charge over time.
Always try to keep the battery between 15°C and 25°C (59°F
and 77°F). Extreme temperatures reduce the capacity and
lifetime of the battery. A device with a hot or cold battery
may not work temporarily. Battery performance is
particularly limited in temperatures well below freezing.
Do not short-circuit the battery. Accidental short-circuiting
can occur when a metallic object such as a coin, clip, or pen
causes direct connection of the positive (+) and negative
(-) terminals of the battery. (These look like metal strips on
the battery.) This might happen, for example, when you
carry a spare battery in your pocket or purse. Short-
Battery and charger information
84
FCC Draft
circuiting the terminals may damage the battery or the
connecting object.
Do not dispose of batteries in a fire as they may explode.
Batteries may also explode if damaged. Dispose of batteries
according to local regulations. Please recycle when possible.
Do not dispose as household waste.
Do not dismantle, cut, open, crush, bend, deform, puncture,
or shred cells or batteries. In the event of a battery leak, do
not allow the liquid to come in contact with the skin or
eyes. In the event of such a leak, flush your skin or eyes
immediately with water, or seek medical help.
Do not modify, remanufacture, attempt to insert foreign
objects into the battery, or immerse or expose it to water or
other liquids.
Improper battery use may result in a fire, explosion, or other
hazard. If the device or battery is dropped, especially on a
hard surface, and you believe the battery has been
damaged, take it to a service centre for inspection before
continuing to use it.
Battery and charger information
85
FCC Draft
Use the battery only for its intended purpose. Never use any
charger or battery that is damaged. Keep your battery out of
the reach of small children.
■Nokia battery authentication
guidelines
Always use original Nokia batteries for your safety. To check
that you are getting an original Nokia battery, purchase it
from an authorised Nokia dealer, and inspect the hologram
label using the following steps:
Successful completion of the steps is not a total assurance
of the authenticity of the battery. If you have any reason to
believe that your battery is not an authentic, original Nokia
battery, you should refrain from using it, and take it to the
nearest authorised Nokia service point or dealer for
assistance. Your authorised Nokia service point or dealer
will inspect the battery for authenticity. If authenticity
cannot be verified, return the battery to the place of
purchase.

Battery and charger information
86
FCC Draft
Authenticate hologram
1. When you look at the
hologram on the label, you
should see the Nokia
connecting hands symbol
from one angle and the
Nokia Original
Enhancements logo when
looking from another angle.
2. When you angle the
hologram left, right, down
and up, you should see 1, 2, 3
and 4 dots on each side
respectively.
What if your battery is not authentic?
If you cannot confirm that your Nokia battery with the
hologram on the label is an authentic Nokia battery, please
do not use the battery. Take it to the nearest authorised
Battery and charger information
87
FCC Draft
Nokia service point or dealer for assistance. The use of a
battery that is not approved by the manufacturer may be
dangerous and may result in poor performance and damage
to your device and its enhancements. It may also invalidate
any approval or warranty applying to the device.
To find out more about original Nokia batteries, visit
www.nokia.com/battery.

Care and maintenance
88
FCC Draft
Care and maintenance
Your device is a product of superior design and
craftsmanship and should be treated with care. The
following suggestions will help you protect your warranty
coverage.
• Keep the device dry. Precipitation, humidity, and all
types of liquids or moisture can contain minerals that
will corrode electronic circuits. If your device does get
wet, remove the battery, and allow the device to dry
completely before replacing it.
• Do not use or store the device in dusty, dirty areas. Its
moving parts and electronic components can be
damaged.
• Do not store the device in hot areas. High temperatures
can shorten the life of electronic devices, damage
batteries, and warp or melt certain plastics.
• Do not store the device in cold areas. When the device
returns to its normal temperature, moisture can form
inside the device and damage electronic circuit boards.
Care and maintenance
89
FCC Draft
• Do not attempt to open the device other than as
instructed in this guide.
• Do not drop, knock, or shake the device. Rough handling
can break internal circuit boards and fine mechanics.
• Do not use harsh chemicals, cleaning solvents, or strong
detergents to clean the device.
• Do not paint the device. Paint can clog the moving parts
and prevent proper operation.
• Use a soft, clean, dry cloth to clean any lenses, such as
camera, proximity sensor, and light sensor lenses.
• Use only the supplied or an approved replacement
antenna. Unauthorised antennas, modifications, or
attachments could damage the device and may violate
regulations governing radio devices.
• Use chargers indoors.
• Always create a backup of data you want to keep, such
as contacts and calendar notes.
• To reset the device from time to time for optimum
performance, power off the device and remove the
battery.

Care and maintenance
90
FCC Draft
These suggestions apply equally to your device, battery,
charger, or any enhancement. If any device is not working
properly, take it to the nearest authorised service facility for
service.
Disposal
The crossed-out wheeled-bin symbol on your
product, literature, or packaging reminds you
that all electrical and electronic products,
batteries, and accumulators must be taken to separate
collection at the end of their working life. This requirement
applies to the European Union and other locations where
separate collection systems are available. Do not dispose of
these products as unsorted municipal waste.
By returning the products to collection you help prevent
uncontrolled waste disposal and promote the reuse of
material resources. More detailed information is available
from the product retailer, local waste authorities, national
producer responsibility organizations, or your local Nokia
representative. For the product Eco-Declaration or
instructions for returning your obsolete product, go to
country-specific information at www.nokia.com.

Additional safety information
91
FCC Draft
Additional safety information
■Small children
Your device and its enhancements may contain small parts.
Keep them out of the reach of small children.
■Operating environment
This device meets RF exposure guidelines when used either
in the normal use position against the ear or when
positioned at least 1.5 centimeters (5/8 inch) away from
the body. When a carry case, belt clip, or holder is used for
body-worn operation, it should not contain metal and
should position the device the above-stated distance from
your body.
To transmit data files or messages, this device requires a
quality connection to the network. In some cases,
transmission of data files or messages may be delayed until
such a connection is available. Ensure the above separation
distance instructions are followed until the transmission is
completed.

Additional safety information
92
FCC Draft
Parts of the device are magnetic. Metallic materials may be
attracted to the device. Do not place credit cards or other
magnetic storage media near the device, because
information stored on them may be erased.
■Medical devices
Operation of any radio transmitting equipment, including
wireless phones, may interfere with the functionality of
inadequately protected medical devices. Consult a
physician or the manufacturer of the medical device to
determine if they are adequately shielded from external RF
energy or if you have any questions. Switch off your device
in health care facilities when any regulations posted in
these areas instruct you to do so. Hospitals or health care
facilities may be using equipment that could be sensitive to
external RF energy.
Implanted medical devices
Manufacturers of medical devices recommend that a
minimum separation of 15.3 centimeters (6 inches) should
be maintained between a wireless device and an implanted
Additional safety information
93
FCC Draft
medical device, such as a pacemaker or implanted
cardioverter defibrillator, to avoid potential interference
with the medical device. Persons who have such devices
should:
• Always keep the wireless device more than 15.3
centimeters (6 inches) from the medical device when
the wireless device is turned on.
• Not carry the wireless device in a breast pocket.
• Hold the wireless device to the ear opposite the medical
device to minimise the potential for interference.
• Turn the wireless device off immediately if there is any
reason to suspect that interference is taking place.
• Read and follow the directions from the manufacturer
of their implanted medical device.
If you have any questions about using your wireless device
with an implanted medical device, consult your health care
provider.

Additional safety information
94
FCC Draft
Hearing aids
Some digital wireless devices may interfere with some
hearing aids. If interference occurs, consult your service
provider.
■Vehicles
RF signals may affect improperly installed or inadequately
shielded electronic systems in motor vehicles such as
electronic fuel injection systems, electronic antiskid
(antilock) braking systems, electronic speed control
systems, and air bag systems. For more information, check
with the manufacturer, or its representative, of your vehicle
or any equipment that has been added.
Only qualified personnel should service the device or install
the device in a vehicle. Faulty installation or service may be
dangerous and may invalidate any warranty that may apply
to the device. Check regularly that all wireless device
equipment in your vehicle is mounted and operating
properly. Do not store or carry flammable liquids, gases, or
explosive materials in the same compartment as the device,
its parts, or enhancements. For vehicles equipped with an
Additional safety information
95
FCC Draft
air bag, remember that air bags inflate with great force. Do
not place objects, including installed or portable wireless
equipment in the area over the air bag or in the air bag
deployment area. If in-vehicle wireless equipment is
improperly installed and the air bag inflates, serious injury
could result.
Using your device while flying in aircraft is prohibited.
Switch off your device before boarding an aircraft. The use
of wireless teledevices in an aircraft may be dangerous to
the operation of the aircraft, disrupt the wireless telephone
network, and may be illegal.
■Potentially explosive environments
Switch off your device when in any area with a potentially
explosive atmosphere, and obey all signs and instructions.
Potentially explosive atmospheres include areas where you
would normally be advised to turn off your vehicle engine.
Sparks in such areas could cause an explosion or fire
resulting in bodily injury or even death. Switch off the
device at refuelling points such as near gas pumps at service
stations. Observe restrictions on the use of radio equipment

Additional safety information
96
FCC Draft
in fuel depots, storage, and distribution areas; chemical
plants; or where blasting operations are in progress. Areas
with a potentially explosive atmosphere are often, but not
always, clearly marked. They include below deck on boats,
chemical transfer or storage facilities and areas where the
air contains chemicals or particles such as grain, dust, or
metal powders. You should check with the manufacturers of
vehicles using liquefied petroleum gas (such as propane or
butane) to determine if this device can be safely used in
their vicinity.
■Emergency calls
Important: This device operates using radio
signals, wireless networks, landline networks,
and user-programmed functions. If your device
supports voice calls over the internet (internet calls),
activate both the internet calls and the cellular phone. The
device will attempt to make emergency calls over both the
cellular networks and through your internet call provider if
both are activated. Connections in all conditions cannot be
guaranteed. You should never rely solely on any wireless

Additional safety information
97
FCC Draft
device for essential communications like medical
emergencies.
To make an emergency call:
1. If the device is not on, switch it on. Check for adequate
signal strength. Depending on your device, you may also
need to complete the following:
• Insert a SIM card if your device uses one.
• Remove certain call restrictions you have activated
in your device.
• Change your profile from offline or flight profile
mode to an active profile.
2. Press the end key as many times as needed to clear the
display and ready the device for calls.
3. Enter the official emergency number for your present
location. Emergency numbers vary by location.
4. Press the call key.
When making an emergency call, give all the necessary
information as accurately as possible. Your wireless device
Additional safety information
98
FCC Draft
may be the only means of communication at the scene of an
accident. Do not end the call until given permission to do so.
■Certification information (SAR)
THIS MOBILE DEVICE MEETS GUIDELINES FOR EXPOSURE TO
RADIO WAVES.
Your mobile device is a radio transmitter and receiver. It is
designed not to exceed the limits for exposure to radio
waves recommended by international guidelines. These
guidelines were developed by the independent scientific
organization ICNIRP and include safety margins designed to
assure the protection of all persons, regardless of age and
health.
The exposure guidelines for mobile devices employ a unit of
measurement known as the Specific Absorption Rate or
SAR. The SAR limit stated in the ICNIRP guidelines is 2.0
watts/kilogram (W/kg) averaged over 10 grams of tissue.
Tests for SAR are conducted using standard operating
positions with the device transmitting at its highest
certified power level in all tested frequency bands. The
actual SAR level of an operating device can be below the
Additional safety information
99
FCC Draft
maximum value because the device is designed to use only
the power required to reach the network. That amount
changes depending on a number of factors such as how
close you are to a network base station. The highest SAR
value under the ICNIRP guidelines for use of the device at
the ear is 0.86 W/kg.
Use of device accessories and enhancements may result in
different SAR values. SAR values may vary depending on
national reporting and testing requirements and the
network band. Additional SAR information may be provided
under product information at www.nokia.com.
Your mobile device is also designed to meet the
requirements for exposure to radio waves established by the
Federal Communications Commission (USA) and Industry
Canada. These requirements set a SAR limit of 1.6 W/kg
averaged over 1 gram of tissue. The highest SAR value
reported under this standard during product certification
for use at the ear is 0.80 W/kg and when properly worn on
the body is 0.96 W/kg. Information about this device model
can be found at

APPENDIX
100
FCC Draft
http://www.fcc.gov/oet/fccid by searching the equipment
authorization system using FCC ID: QTKRM-364.
APPENDIX
■A message from the CTIA
© 2001 Cellular Telecommunications & Internet
Association. All Rights Reserved. 1250 Connecticut Avenue,
NW Suite 800, Washington, DC 20036. Phone: (202) 785-
0081
Safety is the most important call you will ever make.
A Guide to Safe and Responsible Wireless Phone Use
Tens of millions of people in the U.S. today take advantage
of the unique combination of convenience, safety and value
delivered by the wireless telephone. Quite simply, the
wireless phone gives people the powerful ability to
communicate by voice--almost anywhere, anytime--with
the boss, with a client, with the kids, with emergency
personnel or even with the police. Each year, Americans
APPENDIX
101
FCC Draft
make billions of calls from their wireless phones, and the
numbers are rapidly growing.
But an important responsibility accompanies those
benefits, one that every wireless phone user must uphold.
When driving a car, driving is your first responsibility. A
wireless phone can be an invaluable tool, but good
judgment must be exercised at all times while driving a
motor vehicle--whether on the phone or not.
The basic lessons are ones we all learned as teenagers.
Driving requires alertness, caution and courtesy. It requires
a heavy dose of basic common sense---keep your head up,
keep your eyes on the road, check your mirrors frequently
and watch out for other drivers. It requires obeying all
traffic signs and signals and staying within the speed limit.
It means using seatbelts and requiring other passengers to
do the same.
But with wireless phone use, driving safely means a little
more. This brochure is a call to wireless phone users
everywhere to make safety their first priority when behind
the wheel of a car. Wireless telecommunications is keeping
us in touch, simplifying our lives, protecting us in
APPENDIX
102
FCC Draft
emergencies and providing opportunities to help others in
need.
When it comes to the use of wireless phones, safety is your
most important call.
Wireless phone "Safety Tips"
1. Get to know your wireless phone and its features such
as speed dial and redial. Carefully read your instruction
manual and learn to take advantage of valuable
features most phones offer, including automatic redial
and memory. Also, work to memorize the phone keypad
so you can use the speed dial function without taking
your attention off the road.
2. When available, use a hands free device. A number of
hands free wireless phone accessories are readily
available today. Whether you choose an installed
mounted device for your wireless phone or a speaker
phone accessory, take advantage of these devices if
available to you.
3. Position your wireless phone within easy reach. Make
sure you place your wireless phone within easy reach
APPENDIX
103
FCC Draft
and where you can grab it without removing your eyes
from the road. If you get an incoming call at an
inconvenient time, if possible, let your voice mail
answer it for you.
4. .Suspend conversations during hazardous driving
conditions or situations. Let the person you are speaking
with know you are driving; if necessary, suspend the call
in heavy traffic or hazardous weather conditions. Rain,
sleet, snow and ice can be hazardous, but so is heavy
traffic. As a driver, your first responsibility is to pay
attention to the road.
5. Do not take notes or look up phone numbers while
driving. If you are reading an address book or business
card, or writing a “to do” list while driving a car, you are
not watching where you are going. It’s common sense.
Don’t get caught in a dangerous situation because you
are reading or writing and not paying attention to the
road or nearby vehicles.
6. Dial sensibly and assess the traffic; if possible, place
calls when you are not moving or before pulling into
traffic. Try to plan your calls before you begin your trip
APPENDIX
104
FCC Draft
or attempt to coincide your calls with times you may be
stopped at a stop sign, red light or otherwise stationary.
But if you need to dial while driving, follow this simple
tip--dial only a few numbers, check the road and your
mirrors, then continue.
7. Do not engage in stressful or emotional conversations
that may be distracting. Stressful or emotional
conversations and driving do not mix--they are
distracting and even dangerous when you are behind
the wheel of a car. Make people you are talking with
aware you are driving and if necessary, suspend
conversations which have the potential to divert your
attention from the road.
8. Use your wireless phone to help others in emergencies.
Your wireless phone provides you a perfect opportunity
to be a “Good Samaritan” in your community. If you see
an auto accident, crime in progress or other serious
emergency where lives are in danger, call 9-1-1 or other
local emergency number, as you would want others to
do for you.
APPENDIX
105
FCC Draft
9. Use your wireless phone to call for help. Your wireless
phone is one of the greatest tools you can own to
protect yourself and your family in dangerous
situations--with your phone at your side, help is only
three numbers away. Dial 9-1-1 or other local
emergency number in the case of fire, traffic accident,
road hazard or medical emergency. Remember, it is a
free call on your wireless phone!
10. Use your wireless phone to help others in emergencies.
Your wireless phone provides you a perfect opportunity
to be a “Good Samaritan” in your community. If you see
an auto accident, crime in progress or other serious
emergency where lives are in danger, call 9-1-1 or other
local emergency number, as you would want others to
do for you.
11. Call roadside assistance or a special wireless non-
emergency assistance number when necessary. Certain
situations you encounter while driving may require
attention, but are not urgent enough to merit a call for
emergency services. But you still can use your wireless
phone to lend a hand. If you see a broken-down vehicle
APPENDIX
106
FCC Draft
posing no serious hazard, a broken traffic signal, a minor
traffic accident where no one appears injured or a
vehicle you know to be stolen, call roadside assistance
or other special non-emergency wireless number.
Careless, distracted individuals and people driving
irresponsibly represent a hazard to everyone on the road.
Since 1984, the Cellular Telecommunications Industry
Association and the wireless industry have conducted
educational outreach to inform wireless phone users of
their responsibilities as safe drivers and good citizens. As we
approach a new century, more and more of us will take
advantage of the benefits of wireless telephones. And, as
we take to the roads, we all have a responsibility to drive
safely.
The wireless industry reminds you to use your phone safely
when driving.
For more information, please call 1-888-901-SAFE.
For updates: http://www.wow-com.com/consumer/issues/
driving/articles.cfm?ID=85
APPENDIX
107
FCC Draft
■Message from the FDA
The U.S. Food and Drug Administration (FDA) provides the
following consumer information about wireless phones.
See http://www.fda.gov/cellphones/ for updated
information.
Do wireless phones pose a health hazard?
The available scientific evidence does not show that any
health problems are associated with using wireless phones.
There is no proof, however, that wireless phones are
absolutely safe. Wireless phones emit low levels of
radiofrequency energy (RF) in the microwave range while
being used. They also emit very low levels of RF when in the
stand-by mode. Whereas high levels of RF can produce
health effects (by heating tissue), exposure to low level RF
that does not produce heating effects causes no known
adverse health effects. Many studies of low level RF
exposures have not found any biological effects. Some
studies have suggested that some biological effects may
occur, but such findings have not been confirmed by
additional research. In some cases, other researchers have
APPENDIX
108
FCC Draft
had difficulty in reproducing those studies, or in
determining the reasons for inconsistent results.
What is FDA's role concerning the safety of wireless
phones?
Under the law, FDA does not review the safety of radiation-
emitting consumer products such as wireless phones before
they can be sold, as it does with new drugs or medical
devices. However, the agency has authority to take action if
wireless phones are shown to emit radiofrequency energy
(RF) at a level that is hazardous to the user. In such a case,
FDA could require the manufacturers of wireless phones to
notify users of the health hazard and to repair, replace or
recall the phones so that the hazard no longer exists.
Although the existing scientific data do not justify FDA
regulatory actions, FDA has urged the wireless phone
industry to take a number of steps, including the following:
• Support needed research into possible biological effects
of RF of the type emitted by wireless phones;
APPENDIX
109
FCC Draft
• Design wireless phones in a way that minimizes any RF
exposure to the user that is not necessary for device
function; and
• Cooperate in providing users of wireless phones with
the best possible information on possible effects of
wireless phone use on human health.
FDA belongs to an interagency working group of the federal
agencies that have responsibility for different aspects of RF
safety to ensure coordinated efforts at the federal level. The
following agencies belong to this working group:
• National Institute for Occupational Safety and Health
• Environmental Protection Agency
• Federal Communications Commission
• Occupational Safety and Health Administration
• National Telecommunications and Information
Administration
The National Institutes of Health participates in some
interagency working group activities, as well.
FDA shares regulatory responsibilities for wireless phones
with the Federal Communications Commission (FCC). All
APPENDIX
110
FCC Draft
phones that are sold in the United States must comply with
FCC safety guidelines that limit RF exposure. FCC relies on
FDA and other health agencies for safety questions about
wireless phones.
FCC also regulates the base stations that the wireless phone
networks rely upon. While these base stations operate at
higher power than do the wireless phones themselves, the
RF exposures that people get from these base stations are
typically thousands of times lower than those they can get
from wireless phones. Base stations are thus not the
primary subject of the safety questions discussed in this
document.
What is FDA doing to find out more about the possible
health effects of wireless phone RF?
FDA is working with the U.S. National Toxicology Program
and with groups of investigators around the world to ensure
that high priority animal studies are conducted to address
important questions about the effects of exposure to
radiofrequency energy (RF). FDA has been a leading
participant in the World Health Organization International
Electromagnetic Fields (EMF) Project since its inception in
APPENDIX
111
FCC Draft
1996. An influential result of this work has been the
development of a detailed agenda of research needs that
has driven the establishment of new research programs
around the world. The Project has also helped develop a
series of public information documents on EMF issues. FDA
and the Cellular Telecommunications & Internet
Association (CTIA) have a formal Cooperative Research and
Development Agreement (CRADA) to do research on
wireless phone safety. FDA provides the scientific oversight,
obtaining input from experts in government, industry, and
academic organizations. CTIA-funded research is conducted
through contracts to independent investigators. The initial
research will include both laboratory studies and studies of
wireless phone users. The CRADA will also include a broad
assessment of additional research needs in the context of
the latest research developments around the world.
What steps can I take to reduce my exposure to
radiofrequency energy from my wireless phone?
If there is a risk from these products--and at this point we
do not know that there is--it is probably very small. But if
you are concerned about avoiding even potential risks, you
APPENDIX
112
FCC Draft
can take a few simple steps to minimize your exposure to
radiofrequency energy (RF). Since time is a key factor in
how much exposure a person receives, reducing the amount
of time spent using a wireless phone will reduce RF
exposure.
If you must conduct extended conversations by wireless
phone every day, you could place more distance between
your body and the source of the RF, since the exposure level
drops off dramatically with distance. For example, you
could use a headset and carry the wireless phone away from
your body or use a wireless phone connected to a remote
antenna
Again, the scientific data do not demonstrate that wireless
phones are harmful. But if you are concerned about the RF
exposure from these products, you can use measures like
those described above to reduce your RF exposure from
wireless phone use.
What about children using wireless phones?
The scientific evidence does not show a danger to users of
wireless phones, including children and teenagers. If you
want to take steps to lower exposure to radiofrequency
APPENDIX
113
FCC Draft
energy (RF), the measures described above would apply to
children and teenagers using wireless phones. Reducing the
time of wireless phone use and increasing the distance
between the user and the RF source will reduce RF
exposure. Some groups sponsored by other national
governments have advised that children be discouraged
from using wireless phones at all. For example, the
government in the United Kingdom distributed leaflets
containing such a recommendation in December 2000. They
noted that no evidence exists that using a wireless phone
causes brain tumors or other ill effects. Their
recommendation to limit wireless phone use by children
was strictly precautionary; it was not based on scientific
evidence that any health hazard exists.
Do hands-free kits for wireless phones reduce risks from
exposure to RF emissions?
Since there are no known risks from exposure to RF
emissions from wireless phones, there is no reason to
believe that hands-free kits reduce risks. Hands-free kits
can be used with wireless phones for convenience and
comfort. These systems reduce the absorption of RF energy
APPENDIX
114
FCC Draft
in the head because the phone, which is the source of the
RF emissions, will not be placed against the head. On the
other hand, if the phone is mounted against the waist or
other part of the body during use, then that part of the body
will absorb more RF energy. Wireless phones marketed in
the U.S. are required to meet safety requirements regardless
of whether they are used against the head or against the
body. Either configuration should result in compliance with
the safety limit.
Do wireless phone accessories that claim to shield the
head from RF radiation work?
Since there are no known risks from exposure to RF
emissions from wireless phones, there is no reason to
believe that accessories that claim to shield the head from
those emissions reduce risks. Some products that claim to
shield the user from RF absorption use special phone cases,
while others involve nothing more than a metallic accessory
attached to the phone. Studies have shown that these
products generally do not work as advertised. Unlike "hand-
free" kits, these so-called "shields" may interfere with
proper operation of the phone. The phone may be forced to
APPENDIX
115
FCC Draft
boost its power to compensate, leading to an increase in RF
absorption. In February 2002, the Federal trade Commission
(FTC) charged two companies that sold devices that claimed
to protect wireless phone users from radiation with making
false and unsubstantiated claims. According to FTC, these
defendants lacked a reasonable basis to substantiate their
claim.
How does FCC Audit Cell Phone RF?
After FCC grants permission for a particular cellular
telephone to be marketed, FCC will occasionally conduct
“post-grant” testing to determine whether production
versions of the phone are being produced to conform with
FCC regulatory requirements. The manufacturer of a cell
phone that does not meet FCC’s regulatory requirements
may be required to remove the cell phone from use and to
refund the purchase price or provide a replacement phone,
and may be subject to civil or criminal penalties. In addition,
if the cell phone presents a risk of injury to the user, FDA
may also take regulatory action. The most important post-
grant test, from a consumer’s perspective, is testing of the
RF emissions of the phone. FCC measures the Specific
APPENDIX
116
FCC Draft
Absorption Rate (SAR) of the phone, following a very
rigorous testing protocol. As is true for nearly any scientific
measurement, there is a possibility that the test
measurement may be less than or greater than the actual
RF emitted by the phone. This difference between the RF
test measurement and actual RF emission is because test
measurements are limited by instrument accuracy, because
test measurement and actual use environments are
different, and other variable factors. This inherent
variability is known as “measurement uncertainty.” When
FCC conducts post-grant testing of a cell phone, FCC takes
into account any measurement uncertainty to determine
whether regulatory action is appropriate. This approach
ensures that when FCC takes regulatory action, it will have
a sound, defensible scientific basis.
FDA scientific staff reviewed the methodology used by FCC
to measure cell phone RF, and agreed it is an acceptable
approach, given our current understanding of the risks
presented by cellular phone RF emissions. RF emissions
from cellular phones have not been shown to present a risk
of injury to the user when the measured SAR is less than the
APPENDIX
117
FCC Draft
safety limits set by FCC (an SAR of 1.6 w/kg). Even in a case
where the maximum measurement uncertainty permitted
by current measurement standards was added to the
maximum permissible SAR, the resulting SAR value would
be well below any level known to produce an acute effect.
Consequently, FCC’s approach with measurement
uncertainty will not result in consumers being exposed to
any known risk from the RF emitted by cellular telephones.
FDA will continue to monitor studies and literature reports
concerning acute effects of cell phone RF, and concerning
chronic effects of long-term exposure to cellular telephone
RF (that is, the risks from using a cell phone for many years).
If new information leads FDA to believe that a change to
FCC’s measurement policy may be appropriate, FDA will
contact FCC and both agencies will work together to
develop a mutually-acceptable approach.
Updated July 29, 2003