Sharp HRO00041 PCS Cellular Phone W/Bluetooth User Manual 1 of 2

Sharp Corporation PCS Cellular Phone W/Bluetooth 1 of 2

Contents

User manual 1 of 2

Declaration of Conformity
Hereby, Sharp Telecommunications of Europe Limited, declares that this 903SH is
in compliance with the essential requirements and other relevant provisions of
Directive 1999/5/EC.
A copy of the original declaration of conformity can be found at the following
Internet address:
http://www.sharp-mobile.com
Introduction 1
Introduction
Congratulations on your new 3G/UMTS 903SH phone.
About This User Guide
This user guide is carefully designed to help you learn about your
phone’s features and operations quickly and effectively.
NOTICE
We strongly recommend that you keep separate permanent written
records of all important data. Data may be lost or altered in virtually
any electronic memory product under certain circumstances.
Therefore, we assume no responsibility for data lost or otherwise
rendered unusable, whether as a result of improper use, repairs,
defects, battery replacement, use after the specified battery life
has expired or any other cause.
We assume no responsibility, directly or indirectly, for financial
losses or claims from third parties resulting from the use of this
product and any of its functions, such as stolen credit card
numbers, the loss or alteration of stored data, etc.
All company and/or product names are trademarks and/or
registered trademarks of their respective holders.
Screen layout may differ from that illustrated in this user guide.
The information described in this user guide is subject to change
without notice.
All the functions described in this user guide may not be supported
by all networks.
We assume no responsibility for downloaded contents,
information, etc. from the network.
Occasionally, a few black or bright pixels may appear on the
screen. Please note that this will not have any impact on any of the
features or on performance.
Copyright
According to copyright laws, the reproduction, alteration and use of
material which is protected by copyright (music, pictures, etc.) is only
permitted for personal or private use. If the user is not in possession
of more extensive copyright or has not received the explicit
permission from the copyright owner to reproduce, alter or use a copy
which has been made or modified in this way, this is considered to be
a violation of the copyright laws and gives the copyright owner the
right to claim for damages. For this reason, avoid the illegal use of
material which is protected by copyright.
Windows is a registered trademark of Microsoft Corporation in the
United States and/or other countries.
2Introduction
Powered by JBlend™ Copyright 1997-2005 Aplix
Corporation. All rights reserved.
JBlend and all JBlend-based trademarks and logos
are trademarks or registered trademarks of Aplix
Corporation in Japan and other countries.
Powered by Mascot Capsule®/Micro3D Edition™
Mascot Capsule® is a registered trademark of HI Corporation
©2002-2005 HI Corporation. All Rights Reserved.
Licensed by Inter Digital Technology Corporation under one or more of the
following United States Patents and/or their domestic or foreign
counterparts and other patents pending, including U.S. Patents:
4,675,863: 4,779,262: 4,785,450: 4,811,420: 5,228,056: 5,420,896:
5,799,010: 5,166,951: 5,179,571 & 5,345,467
T9 Text Input is licensed under one or more of the following: U.S. Pat. Nos.
5,818,437, 5,953,541, 5,187,480, 5,945,928, and 6,011,554;
Australian Pat. No. 727539; Canadian Pat. No. 1,331,057; United
Kingdom Pat. No. 2238414B; Hong Kong Standard Pat. No. HK0940329;
Republic of Singapore Pat. No. 51383; Euro. Pat. No. 0 842 463
(96927260.8) DE/DK, FI, FR, IT, NL,PT.ES,SE,GB; Republic of Korea Pat.
Nos. KR201211B1 and KR226206B1; and additional patents are pending
worldwide.
miniSD™ is a trade mark of SD Card Association.
Bluetooth is a trademark of the Bluetooth SIG, Inc.
The Bluetooth word mark and logos are owned by the Bluetooth SIG, Inc.
and any use of such marks by Sharp is under license. Other trademarks
and trade names are those of their respective owners.
CP8 PATENT
Introduction 3
This product is licensed under the MPEG-4 Visual Patent Portfolio License for the
personal and non-commercial use of a consumer to (i) encode video in compliance
with the MPEG-4 Video Standard (“MPEG-4 Video”) and/or (ii) decode MPEG-4 Video
that was encoded by a consumer engaged in a personal and non-commercial
activity and/or was obtained from a licensed video provider. No license is granted or
implied for any other use. Additional information may be obtained from MPEG LA.
See http://www.mpegla.com.
This product is licensed under the MPEG-4 Systems Patent Portfolio License for
encoding in compliance with the MPEG-4 Systems Standard, except that an
additional license and payment of royalties are necessary for encoding in connection
with (i) data stored or replicated in physical media which is paid for on a title by title
basis and/or (ii) data which is paid for on a title by title basis and is transmitted to an
end user for permanent storage and/or use. Such additional license may be obtained
from MPEG LA, LLC. See http://www.mpegla.com for additional details.
MPEG Layer-3 audio coding technology licensed from Fraunhofer IIS and Thomson.
Useful Functions and Services
Your phone offers you the following features:
Video calls. You can talk while viewing each other on respective
screens.
3D and colour Java™ games and applications with a graphic
accelerator. You can also download various games and
applications from Vodafone via the mobile Internet.
A built-in digital camera for taking pictures and video clips.
A message function for reading and creating SMS messages.
MMS (Multimedia Messaging Services) for personalising your
phone in various ways.
A colour WAP browser for accessing information on the mobile
Internet.
Your own ringtones and ringvideos. You can use downloaded
sound or video clip files as a ringtone or ring video clip.
Playback of the downloaded sound and video clip files.
A voice recorder function for recording and playing back voice
clips.
•A Bluetooth ® wireless technology interface for establishing
contact and transmitting data with certain devices. You can
transmit pictures, sounds, and video clips to OBEX-enabled
phones.
An Infrared interface for data communication. You can transmit
pictures, sounds and video clips to OBEX-enabled phones.
A data synchronisation function for updating Contacts List entries
on the Internet.
A schedule alarm for creating and sending schedule entries with
alarm settings.
Video output. You can connect your phone to other devices, such
as TVs or videos set to output, and display Java™ data, images,
or video clips.
With the built-in digital camera, you can read texts and barcodes,
and create QR codes.
A miniSD™ memory card slot that expands connectivity with a PC
using the memory card.
4 Contents
Contents
Introduction .......................................................................1
Your Phone ........................................................................7
Getting Started ..................................................................8
Inserting the SIM Card and the Battery .......................11
Removing the SIM Card and the Battery .....................12
Charging the Battery .................................................13
Inserting the Memory Card ........................................14
Removing the Memory Card ......................................15
Turning Your Phone On and Off .................................15
Keypad Lock .............................................................15
Display Indicators .....................................................16
Opening Your Phone .................................................17
Navigating Functions ......................................................19
Using in the Normal Position of the Display .................19
Voice Call/Video Call Functions ......................................20
Making a Voice Call ..................................................20
Speed Dialling ..........................................................21
Redialling .................................................................21
Answering a Voice Call ..............................................21
In Call Menu (Voice Call) ............................................22
Making a Video Call ..................................................25
Answering a Video Call ..............................................25
In Call Menu (Video Call) ...........................................26
Entering Characters ........................................................28
Changing the Input Language ....................................29
Changing the Input Mode ......................................... 29
My Dictionary .......................................................... 29
Using Templates ...................................................... 30
Using the Menu .............................................................. 31
Main Menu .............................................................. 31
Shortcut Keys .......................................................... 32
Contacts List ................................................................... 33
Changing the Name Order ........................................ 33
Changing the List Displayed ..................................... 33
Selecting the Storage Memory .................................. 33
Sorting the Contacts List Entries ............................... 34
Add New Contact ..................................................... 34
Viewing My Contact Details ...................................... 34
Copying Contacts List Entries between SIM Card and
Handset .................................................................. 34
Finding a Name ....................................................... 35
Dialling from the Contacts List .................................. 35
Editing Contacts List Entries ..................................... 35
Assigning a Ringtone or a Ring Video Clip to Each
Entry ....................................................................... 36
Deleting Contacts List Entries ................................... 36
Manage Category ..................................................... 36
Contact Groups ........................................................ 37
Memory Status ........................................................ 38
Speed Dial List ........................................................ 38
Contents 5
Sending a Contacts List Entry ....................................38
Receiving a Contacts List Entry ..................................38
Sending a Voice Clip Message or Video Clip Message
Using an Address from the Contacts List ....................39
Synchronising Contacts List Entries with those on the
Internet ....................................................................39
Camera ............................................................................40
Taking Pictures ........................................................40
Recording Video Clips ...............................................41
Common Options Menu Indicators (viewer positions of
the display) ..............................................................41
Common Functions in the Photo and Video Camera
Modes .....................................................................42
Functions in the Photo Camera Mode ........................44
Functions in the Video Camera Mode .........................46
Messaging .......................................................................48
SMS ........................................................................48
MMS .......................................................................48
Email .......................................................................48
Creating a New Message ..........................................49
Messaging Settings ..................................................55
Vodafone live! .................................................................59
Navigating a WAP Page ............................................60
Music ...............................................................................62
Music Player ............................................................62
My Items .........................................................................64
Pictures ...................................................................64
Sounds & Ringtones .................................................65
Videos .....................................................................66
Other Documents .....................................................66
Common Option Menus ............................................67
Games & Applications ...............................................70
Text Templates .........................................................70
Memory Status .........................................................70
Entertainment .................................................................71
Games & Applications ...............................................71
Settings ...................................................................73
TV & Video ...............................................................75
Organiser & Tools ...........................................................79
Calendar ..................................................................79
Alarms .....................................................................82
Calculator ................................................................83
Voice Recorder .........................................................84
Scanner ...................................................................85
E-Book ....................................................................86
Stopwatch ................................................................87
Tasks ......................................................................87
World Clock .............................................................89
Countdown Timer .....................................................89
Expenses Memo .......................................................89
Phone Help ..............................................................90
SIM Application ...............................................................91
Settings ...........................................................................92
Profiles ....................................................................92
Setting the Display ....................................................95
Sound Settings .........................................................98
6 Contents
Date & Time .............................................................98
Language Setting ......................................................99
Call Settings ...........................................................100
Video Call Settings ..................................................104
Security .................................................................105
Master Reset ..........................................................106
Call Log ..........................................................................107
Call Timers .............................................................107
Data Counter ..........................................................107
Call Costs ...............................................................108
Connectivity ...................................................................109
Bluetooth ...............................................................109
Infrared ..................................................................111
Network Settings ....................................................112
Flight Mode ............................................................113
Internet Settings .....................................................113
Memory Card .........................................................114
Connecting 903SH to Your PC .......................................116
System Requirements .............................................116
3G/GSM Modem .....................................................116
Handset Manager ...................................................117
Software Installation ................................................117
Note ......................................................................117
Troubleshooting ............................................................118
Safety Precautions and Conditions of Use ...................120
CONDITIONS OF USE ..............................................120
ENVIRONMENT .......................................................123
PRECAUTIONS CONCERNING VEHICLE USE ..............123
SAR ...................................................................... 123
INFORMATION ON PROPER DISPOSAL .................... 124
PRECAUTIONS FOR USE IN USA .............................. 125
Specifications and Optional Accessories .................... 127
Specifications ........................................................ 127
Optional Accessories .............................................. 127
Index ............................................................................. 128
List of Menu Functions ................................................. 130
Your Phone 7
Your Phone
Please check the following carefully. Your phone should come
complete with:
3G (UMTS)/GSM 900/1800/1900/GPRS phone
Lithium-Ion Battery
Battery Cover
AC Charger
•Stereo Handsfree
•User Guide
Quick Start Guide
• CD-ROM
miniSD Memory Card
Video Cable
8 Getting Started
Getting Started
1
2
3
4
5
6
8
10
9
12
13
14
15
11
17
18
16
7
19
20
22
21
31
30
24
32
28
27
26
25
24
29
23
Getting Started 9
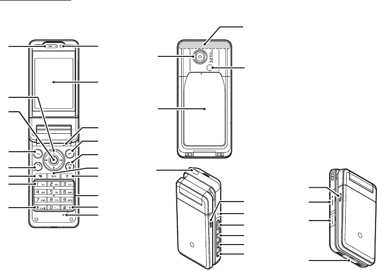
1. Earpiece
2. Navigation Keys (Arrow Keys):
a b c dMoves cursor to highlight a menu
item, etc.
Up/Down arrow keys: Displays Contacts List entries in
standby.
Left arrow key: Displays the message inbox in
standby.
Right arrow key: Displays the monthly or weekly
calendar in standby.
3. Centre Key: Displays Main menu in standby, and
executes functions.
4. Left Soft Key:
A
Executes the function in the lower left
of the screen.
Displays Messaging menu in standby.
5. Send/Redial Key:
D
Makes or accepts calls, displays the
call logs in standby.
6. Shortcut Key:
S
Press to open the shortcut menu to
access the desired applications.
7. Voicemail Key:
G
Press and hold to connect to the
Voicemail centre. (Depending on the
SIM card.)
8. * /Shift Key:
P
Switches character case between
four modes: Abc, ABC, 123 and abc
on the text entry screen.
Press to enter P, ?, – or * in standby.
Press and hold in standby to lock the
keypad.
9. Sub Camera (Internal Camera)
10. Main Display
11. Microphone (for the viewer position of the display)
12. Right Soft Key:
C
Executes the function in the lower
right of the screen.
Accesses “Vodafone live!” by opening
the browser in standby.
13. End/Power Key:
F
Ends a call and turns power on/off.
14. Clear/Back Key:
U
Clears the characters before the
cursor, returns to the previous
screen, etc.
15. Music Key:
E
Displays Music menu in standby.
16. Keypad
10 Getting Started
17. #/Silent Key:
R
Displays symbol screen on the text
entry screen.
Press and hold to switch languages
on the text entry screen.
Turns the flash/auxiliary light on or off
in camera mode.
Press and hold in standby to switch
Profiles settings between the mode
most recently activated and Silent
mode.
18. Microphone
19. Camera (External Camera)
20. Battery Cover
21. Built-in Aerial: Warning: Do not cover the top of the
phone with your hand when in use as
this may interfere with the
performance of the built-in aerial.
22. Mobile Light: Used as a flash or an auxiliary light in
camera mode.
23. Infrared Port: Sends and receives data via infrared.
24. Stereo Speakers
25. Small Light: Used as a battery charge indicator.
26. Side Keys (V/W): (These two keys work in reverse with
the viewer position of the display.)
Moves the highlight up or down.
Press in standby or during a call to
increase or decrease the earpiece
volume.
27. Menu Key:
X
Executes the function in the lower left
of the screen.
28. Camera Key:
Y
Displays the Main menu when
pressed in standby, then executes a
highlighted function.
Press and hold to activate the
camera.
Press during an incoming call alert to
answer the call.
29. Cancel Key:
Z
Executes the function in the lower
right of the screen.
Press and hold to reject an incoming
call.
Press during an incoming call alert to
send a busy tone to the caller.
Press to end the call.
30. Memory Card Slot Cover
31. VIDEO OUT/Handsfree/Microphone Connector
32.
External Connector
:Used to connect either the charger or
a USB data cable.
Getting Started 11
Inserting the SIM Card and the Battery
1. Slide off the battery cover ( ).
2. Slide the SIM card into the SIM holder.
3. Hold the battery so that the metal contacts of the battery are
facing down, slide the guides on the top of the battery into the
battery slots ( ), and then insert it ( ).
4. Replace the battery cover.
Note
Make sure that only 3V SIM cards are used.
Make sure that the standard accessory battery (XN-1BT70) is
used.
1
2
SIM card
4
3
12 Getting Started
Removing the SIM Card and the Battery
1. Ensure that the phone is turned off and that the charger and
other accessories are disconnected. Slide off the battery
cover.
2. Lift the battery using the protruding edge and remove the
battery from the phone.
3. Hold down gently while sliding the SIM card out of the SIM
holder ( ).
Battery Disposal
The device is battery-powered. In order to protect the environment,
please read the following points concerning battery disposal:
Take the used battery to your local waste depot, dealer or customer
service centre for recycling.
Do not expose the used battery to a naked flame, immerse in water
or dispose with the household waste.
1
2
Getting Started 13
Charging the Battery
You must charge the battery for at least 135 minutes before using
your phone for the first time.
Using the Charger
1. Open the cover of the external connector, connect the charger
to the external socket located at the bottom of the phone by
pressing both sides indicated with arrows, and connect to an
AC outlet.
The small light turns on.
Standard charging time: Approx. 135 minutes
Note
Charging time may vary depending on the state of the battery and
other conditions. (See “Battery” on page 120.)
To Disconnect the Charger
When charging is complete, the small light turns off.
1. Unplug the charger from the AC outlet, then unplug the
charger connector from the phone.
2. Close the cover.
Note
Do not use any non-approved chargers as they may damage your
phone and invalidate any warranties, see “Battery” on page 120
for details.
To Charge Using the Cigarette Lighter Charger
The optional cigarette lighter charger supplies power for charging
from the cigarette lighter socket of a car.
Battery Level Indicator
The current battery level is displayed in the upper right of the main
display.
Small light
14 Getting Started
Low Battery during Use
When the battery is running low, an alarm will sound and “ ” is
displayed on the main display.
If you are using your phone and you hear the low battery alarm, attach
your charger as soon as possible. The phone may not be able to
continue normal operation if you continue to use it.
Inserting the Memory Card
1. Turn off the phone.
2. Open the memory card slot cover and insert the card with the
label side facing down.
3. Insert the memory card all the way in until it clicks.
4. Close the cover.
Note
Make sure that the phone is turned off before inserting the memory
card.
Be sure to insert the card in the correct direction and orientation.
Do not open the memory card cover while the memory card is
being formatted or written to. The card may be damaged beyond
use.
Keep all memory cards out of the reach of small children.
Tip
You see the following indicators when the memory card is in use:
: Appears when the card is inserted.
: Appears when the card is damaged or unusable.
: Appears when the card is being written or read.
: Appears when the card is being formatted.
Battery Indicators Charge Level
Sufficiently charged
Charging recommended
Charging required
Empty
Getting Started 15
Removing the Memory Card
1. Open the memory card slot cover and slightly push the card so
it pops out. Remove the card and close the cover.
Note
Make sure that the phone is turned off before removing the
memory card.
Do not remove the memory card while the memory card is being
formatted or written to.
Turning Your Phone On and Off
To turn the power on or off, press and hold F for approximately 2
seconds.
To Enter the PIN Code
If activated you are asked to enter a PIN (Personal Identification
Number) code and handset lock code after turning on your phone.
1. Enter your PIN code.
The PIN code is 4 to 8 digits.
2. Press .
Note
If your PIN code is entered incorrectly three times in a row, the SIM
card is locked. See “Enabling/Disabling the PIN Code” on
page 105.
If the clock settings have not been entered, the date and time entry
screen is displayed (p. 98).
To Copy All Contacts List Entries from the SIM Card
When you insert the SIM card into your phone for the first time and
start the Contacts List application, you are asked whether you wish to
copy Contacts List entries on the SIM card. Follow the on-screen
instructions, or you can do it later using the Contacts List menu as
follows:
“Contacts”
“Advanced”
“Copy All Entries”
1. Select “From SIM to Handset”.
Keypad Lock
You can lock the keypad to prevent it from being pressed accidentally.
Locking the Keypad
1. Press and hold P in standby.
To unlock, press and hold P.
Tip
Emergency numbers (112, etc.) can be entered and dialled
regardless of the keypad lock.
16 Getting Started
Display Indicators
1. / : Strength of received signal/Service out of range
: 3G (UMTS)/GPRS
: GSM/GPRS
: Roaming outside network
2. : Flight mode
3. : Data exchange with external device
4. / : Connection to the server [established/
communicating]
5. : Memory card inserted
6. / : Voice call [incoming/in progress]
7. //:
Video call communication mode enabled [voice and
video/voice/video]
8. : “Voice Calls” diverts set to “Always”
9. : Secure WAP page displayed
10. / : Alerts [text message and multimedia message/
Email]
11. /////:
Connection status
[USB cable/Infrared ON/Infrared exchanging
information/Bluetooth wireless setting [enabled (in
standby or except in standby)/exchanging
information/talking with the Bluetooth headset]]
12. / : Java™ application [executed (colour)/suspended
(grey)]
01.01.05
12:00
Indicator area
Right soft
key
Left soft
key
Centre key
Indicator area
Getting Started 17
13.(No display)/////:
Current profile [Normal/Meeting/Activity/Car/
Headset/Silent]
14. ////:
Silent/vibration setting [silent/increasing volume/
vibration enabled/silent and vibration enabled/
increasing volume and vibration enabled]
15. / / : Speaker mode [speaker phone/speaker activated/
microphone muted]
16. : Battery level
17. : Mobile light enabled
18. : Daily alarm enabled
19. / : Schedule entry enabled [with/without reminder
alarm]
20. : Outbox contains unsent messages [text message/
multimedia/Email]
21. / / : WAP/OTA provisioning alerts [WAP alert/OTA
provisioning alert/WAP and OTA provisioning alerts]
22. : Voicemail message alert
23. : Connection status [1st Infrared communication
[enabled/exchanging information]]
24. : Function Lock enabled
25. : Keypad Lock enabled
26. /(blank): Infrared setting [enabled/disabled]
Opening Your Phone
Your phone can be opened in the following three positions: normal,
self-portrait and viewer positions.
Normal Position ( )
1. Open the phone until the display stops as illustrated.
18 Getting Started
Self-portrait Position ( )
2. Turn the display 180° clockwise.
Use this position to take a self-portrait with the external camera.
Do not turn the display anticlockwise as this may damage it.
Viewer Position ( )
3. Close the main display toward the keypad.
Note
Operations of V and W are reversed in the viewer position of the
display.
Keypad operations cannot be performed in the viewer position of
the display.
Be careful not to carry the phone in the viewer position of the
display as this may damage the display.
Navigating Functions 19
Navigating Functions
Using in the Normal Position of the Display
All applications are accessed from the Main menu. To open the Main
menu, press the centre key ( ) in standby.
To launch applications, you will need to highlight menu items, and
make selections. To select a menu item (indicated in quotation
marks), move the cursor using a, b, c and d, and press to
select.
In certain procedures, you will need to press one of the soft keys
(indicated in square brackets), which are displayed in the lower left
and right of the screen. Press the corresponding soft key (A or C).
To return to the previous screen, press the right soft key if it displays
Back. To close the Main menu, press the right soft key if it displays
Exit.
Each section in this user guide starts with a list of items you will need
to select in order (indicated in italics) before performing the
procedures shown. Select each item to reveal the next set of items
that you have to choose from. Open subsection items after opening
those listed in the main section.
Example:
“Contacts”
“Contacts List
“Add New Contact”
Using in the Viewer Position of the Display
Available keys in viewer position of the display are V, W, X,
Y and Z.
To open the Main menu, press Y in standby.
To select a menu item (indicated in quotation marks), press V or W,
and press Y to select.
In certain procedures, you will need to press one of the soft keys
(indicated in square brackets), which are displayed in the lower left
and right of the screen. The left soft key is X and the right soft key
is Z.
The side keys function in camera mode as follows:
V/W: Zoom-in/Zoom-out
X: Options
Y: Capture
Z: Switches between the photo camera
and video camera modes.
20 Voice Call/Video Call Functions
Voice Call/Video Call Functions
Making a Voice Call
1. Enter the area code and the phone number you wish to dial
and press D to dial.
If you enter the wrong number, press U to delete the number
to the left of the cursor.
Emergency Calls
1. Enter 112 (international emergency number) using the keypad
and press D to dial.
Note
Emergency calls may not be able to be made on all mobile phone
networks when certain network services and/or phone features are
in use. Contact your service provider for more information.
This emergency number can normally be used to make an
emergency call in any country, with or without a SIM card inserted,
if a 3G (UMTS)/GSM network is within range.
International Calls
1. Press and hold Q until a + (international dialling prefix)
sign is displayed.
2. Enter the country code, followed by the area code (without the
leading zero) and the phone number, and press D to dial.
Adding an Entered Phone Number to the Contacts List
1. After entering a phone number, press [Options] and select
“Save Number”.
For details on creating a new entry, see “Add New Contact” on
page 34.
Showing or Hiding My Phone Number on the Display of the
Called Party
1. After entering a phone number, press [Options] and select
“Show My ID” or “Hide My ID”.
Making a Call Using the Contacts List in the Viewer Position
of the Display
1. Press Y.
2. Select “Contacts”.
3. Select “Contacts List”.
4. Select the entry you wish to call.
5. Select the phone number.
6. Select “Call” to dial.
To end a call, press Z.
Voice Call/Video Call Functions 21
Speed Dialling
Up to 8 phone numbers from the Contacts List memory (Handset and
SIM) can be assigned to speed dials. You can call the numbers using
the digit keys (G to O). The phone number of the Voicemail
centre is assigned to G.
For details on setting the speed dial list, see “Speed Dial List” on
page 38.
1. To dial a number using the speed dial, press and hold any of
the digit keys (G to O).
The phone number saved in the speed dial list is dialled.
Redialling
You can redial numbers in the call log. Select from specific categories
or “All Calls”. Specific categories contain up to 30 numbers and the
“All Calls” list contains up to 90.
1. Press D in standby.
2. Select the category from “All Calls”, “Dialled Numbers”,
“Missed Calls” or “Received Calls”.
To switch logs, press c or d.
3. Highlight the phone number you wish to call.
4. Press D to redial the call.
Answering a Voice Call
When an incoming call is detected, the phone rings.
1. Press D, or press [Options] and select “Answer” to answer
the call.
Or press any key except F, , U and [Busy] when the
“Any Key Answer” function is enabled. Set the Any Key Answer
function in the profile of each mode (p. 95).
Tip
If you have subscribed to the Calling Line Identification (CLI) service
and the caller’s network sends the number, the caller’s number is
displayed on the screen. If the caller’s name and number are saved
in the Contacts List, the caller’s name and phone number are
displayed on the screen.
If the number is a restricted number, the display shows “Withheld”.
When you receive a call from the person whose picture is
registered in the Contacts List, the picture, name and phone
number are displayed.
22 Voice Call/Video Call Functions
Answering a Call in the Viewer Position of the Display
1. Press X or Y to answer the call.
To end a call, press Z.
To reject the incoming call, press and hold Z.
Rejecting an Incoming Call
1. Press F while the phone is ringing to reject a call you do not
wish to answer.
Letting the Caller Know You are Unavailable
1. Press [Busy] while the phone is ringing to send a busy tone to
the caller.
In Call Menu (Voice Call)
Your phone has additional functions available while a call is in
progress.
Adjusting the Earpiece Volume
You can adjust the earpiece volume (and handsfree volume, if
connected) from five levels.
1. Press V or W to display the Earpiece Volume screen.
2. Press V (or a/d) to increase the volume of the call or press
W (or b/c) to decrease the volume.
3. Press when the volume is set to the desired level.
Tip
In the viewer position of the display, press X or Y to display
the in call menu.
In the viewer position of the display, use V or W to increase or
decrease the earpiece volume. Operations of these keys are
reversed in the viewer position.
Turning the Speakers On and Off
You can talk via the loudspeakers on the sides of the phone when it
is on.
1. During a call, press [Options] and select “Loudspeaker On”.
Putting a Call on Hold
This function allows you to manage two calls at the same time. If you
wish to make another call while you are talking to someone, you can
put the current call on hold to call someone else.
Voice Call/Video Call Functions 23
To Make Another Call during a Call
1. During a call, press [Options] and select “Hold”.
The current call is put on hold.
2. Press [Options] and select “Dial New Number”.
3. Enter the phone number you wish to make another call to, then
press D.
Tip
You can also make another call by entering the phone number
during a call instead of step 1. The current call is automatically put
on hold.
Accessing SMS/MMS Menu during a Call
1. During a call, press [Options] and select “Messaging”.
The following options are available: “Create Message” to make
an SMS and MMS, or “Inbox”, “Sent” or “Drafts” to access these
folders. For details on SMS, see “SMS” and “MMS” on page 48.
Call Waiting
This service notifies you of another incoming call while you have a call
in progress.
1. During a call, press [Options] and select “Hold & Answer” to
answer the second call.
The first call is put on hold and you can now talk to the second
caller.
Note
You need to set “Call Waiting” to “On” if you wish to use the Call
Waiting service (p. 101).
Call Waiting service may not be available on all networks. Contact
your service provider for more information.
If you do not wish to answer the second call, press [Options] and
select “Busy” in step 1. If “Reject” is selected, the log of the
second call is saved as a missed call.
Conference Call
Conference call is a call with more than 2 participants. You may
include up to 5 participants in a conference call.
To Make a Conference Call
You must have one active call and one held call.
1. During a call, press [Options] and select “Multi Party”.
2. Select “Conference All” to join the conference call.
3. Press F to end the conference call.
24 Voice Call/Video Call Functions
Note
The conference call service may not be available on all networks.
Contact your service provider for more information.
You have more options for the Conference call in step 2:
To put all participants on hold, select “Hold All”.
To put all participants except the current call on hold, select
“Private”.
To end the call with all participants, select “End Active Call(s)”
or “End Held Call(s)”.
To reject adding more participants to the current party, press
[Options] and select “Reject”, or you can send the busy tone by
selecting “Busy”.
To Add New Participants to the Conference Call
1. Press [Options] and select “Dial New Number”.
2. Enter the number you wish to include in the conference call
and press D to dial.
3. Press [Options] and select “Multi Party”.
4. Select “Conference All” to join the conference call.
If you wish to add other participants, repeat steps 1 to 4.
To End the Call with a Conference Call Participant
1. During a conference call, highlight the person that you wish to
disconnect from the conference call.
2. Press [Options] and select “End Active Call(s)” or “End Held
Call(s)”.
To Have a Private Conversation with One of the Participants
If you wish to have a private conversation with one of the participants,
you may select the participant from the conference list and put the
other participants on hold.
1. During a conference call, select the person that you wish to
talk to.
2. Press [Options] and select “Multi Party”.
3. Select “Private”.
4. Once you have finished the private conversation, press
[Options] and select “Multi Party”.
5. Select “Conference All” to return to the conference call.
Muting the Microphone
1. During a call, press [Mute].
To use the microphone again, press [Unmute].
Voice Call/Video Call Functions 25
Making a Video Call
Note
Use this function with only the video call enabled phones.
Make sure that the battery is fully charged and the signal is strong
before using this function.
Turn the loudspeakers on or use a switch-equipped earphone
microphone or handsfree kit so that you can talk while looking at
the video call screen on the main display.
Status Indicators
1. Sub screen for your image
2. Elapsed time (hour: minute: second)
3. Main screen for the calling party’s screen
4. Calling party’s name or phone number
Making a Video Call
1. Enter the area code and the phone number you wish to dial.
2. Press [Options] and select “Video Call” or press and hold D
to dial.
If you enter the wrong number, press U to delete the number
to the left of the cursor.
When the line is connected, the image of the called party is
displayed upper on the screen, and yours lower left.
Tip
If the called party’s phone is not video call enabled, you can press
F and enter the phone number again to make a voice call.
When the call ends, the last call cost is displayed.
Answering a Video Call
When an incoming call is detected, the phone rings.
1. Press D to answer the call with video or press [Options] and
select “Hide Picture” to answer with voice only.
Tip
When the call is ended, the call cost is displayed.
If you have subscribed to the Calling Line Identification (CLI) service
and the caller’s network sends the number, the caller’s number is
displayed on the screen. If the caller’s name and number are saved
in the Contacts List, the caller’s name is displayed on the screen.
26 Voice Call/Video Call Functions
Rejecting an Incoming Call
1. Press F while the phone is ringing to reject a call you do not
wish to answer.
Letting the Caller Know You are Unavailable
1. Press [Busy] while the phone is ringing to send a busy tone to
the caller of an incoming call letting them know that you
cannot answer the call.
In Call Menu (Video Call)
Muting the Microphone
1. During a video call, press [Mute].
To use the microphone again, press [Unmute].
Swapping Images
You can swap images between the main and sub screens.
1. During a video call, press [Options] and select “Switch
Images”.
Changing the Image of Yourself
1. During a video call, press [Options] and select “Camera
Picture”.
2. Select from “Internal Camera”, “External Camera” or
“Alternative Image”.
“Internal Camera”: The image through the sub camera is
displayed and sent to the party.
“External Camera”: The image through the camera is
displayed and sent to the party.
“Alternative Image”: The camera is turned off and the
image selected in “Alternative Image”
of “Video Call Settings” is used.
Using the Optical Zoom Function
The optical zoom enables you to zoom the picture more clearly by the
actual zooming action of the optical lens. The optical zoom is used up
to the [×2] zooming ratio. If the zoom exceeds [×2], the digital zoom
is used to further magnify.
1. During a video call, press [Options] and select “Enable Opt.
Zoom”.
The image is magnified.
Turning the Speakers On and Off
You can talk via the loudspeakers on the sides of the phone when it
is on.
1. During a video call, press [Options] and select “Loudspeaker
On”.
Note
In a high-noise environment, you may not be able to continue a
call, or make a clear call. We recommend that you use the Stereo
Handsfree.
With this option, there may be interruption if you increase the
earpiece volume. We recommend that you decrease the earpiece
volume or use the Stereo Handsfree.
Voice Call/Video Call Functions 27
Video Call Settings
To Change the Quality of the Incoming Image
You can adjust the quality of the called party’s image.
1. During a video call, press [Options] and select “Video Call
Settings”.
2. Select “Incoming Picture Quality”.
3. Select “Normal”, “Quality Prior” or “Frame Rate Prior”.
“Normal”: The standard quality is used.
“Quality Prior”: The quality of the picture takes
precedence over the frame rate.
“Frame Rate Prior”: The frame rate takes precedence over
the quality.
To Turn the Backlight On or Off
You can turn on the backlight of your screen.
1. During a video call, press [Options] and select “Video Call
Settings”.
2. Select “Backlight”.
3. Select from “Always On”, “Always Off” or “As Normal
Setting”.
When “Always On” is selected, the backlight will always be on
during a video call.
When “As Normal Setting” is selected, the backlight will time out
depending on the Backlight setting (p. 97).
To Adjust the Video Exposure
1. During a video call, press [Options] and select “Video Call
Settings”.
2. Select “Exposure”.
3. Press a (Light) or b (Dark).
28 Entering Characters
Entering Characters
When entering characters to create Contacts List entries, text
messages or multimedia messages, etc., press the corresponding
keys.
In multi-tap input method, press each key until the desired character
is displayed. For example, press H once for the letter A or twice
for the letter B.
Table of Characters
Pressing each key scrolls characters in the following order. The order
varies depending on the language selected.
English Mode
Key Upper Case
Characters Lower Case
Characters Numeric
G. (full-stop) , (comma) - (hyphen) ? !
(apostrophe) @ :1 1
HABC2 abc2 2
IDEF3 def3 3
JGHI4 ghi4 4
KJKL5 jkl5 5
LMNO6 mno6 6
MPQRS7 pqrs7 7
NTUV8 tuv8 8
OWXYZ9 wxyz9 9
Q(space) + = < > € £ $ ¥ % & 0 0
PSwitches character case between four modes:
Abc, ABC, 123 and abc.
R
.,?!:;-+#
@' " ( ) _&€£$
%/ ˜<=\ | ¥
¿¡^[ ]{ }¤ÅÄ
ÆåäæàÇÉèéì
ÑñÖØöøòßÜü
ù∆ΦΓΛΩΠΨΣΘ
Ξ (space)
G-O:
QPress and hold to enter 0 - 9 numbers.
P:Press and hold to shift between multi-tap and T9
mode.
R:Press and hold to display the Input Language
screen.
Key Upper Case
Characters Lower Case
Characters Numeric
Entering Characters 29
Changing the Input Language
1. On the text entry screen, press [Options] and select “Input
Language”.
2. Select the desired language.
Changing the Input Mode
T9 Text Input
T9 text input method is a shortcut to enter text easily and quickly.
1. On the text entry screen, press and hold P to enter T9
mode.
2. Press [Options] and select “Input Mode”.
3. Select the input mode (Abc, ABC, abc, 123).
4. Press each key once for any letter you require on that key.
To enter the word “How”, press J L O.
5. If the word shown isn’t the one you want, press a or b until
you highlight the correct one.
6. Press to select the word.
Note
If the correct word is not shown in step 5, enter the correct word
again after switching to the multi-tap input method.
Tip
If you press Q instead of step 6, a space is inserted next to the
selected word.
Symbols and Punctuation
1. On the text entry screen, press [Options] and select “Add
Symbol”.
2. Select the desired symbol.
My Dictionary
You can create your own word list for T9 text input.
1. On the text entry screen in T9 mode, press [Options] and select
“My Dictionary”.
2. Select “Add New Word” and enter a new word.
Editing a Word in the List
1. On the text entry screen in T9 mode, press [Options] and select
“My Dictionary”.
2. Highlight the desired word.
3. Press [Options] and select “Edit”.
4. Modify the word.
30 Entering Characters
Using Templates
You can use the phrases registered in Text Templates when entering
characters.
For details on creating the text template, see “Adding Phrases to Text
Templates” on page 70.
1. On the text entry screen, move the cursor to the point you wish
to insert the template.
2. Press [Options] and select “Advanced”.
3. Select “Insert Template”.
4. Select the desired text template.
Copying, Cutting and Pasting Text
1. On the text entry screen, press [Options] and select
“Advanced”.
2. Select “Copy” or “Cut”.
3. Move the cursor to the first letter to be copied or to be cut, then
press .
4. Move the cursor to the last letter to highlight the area, then
press .
5. Move the cursor to the point you wish to paste the letters.
6. Press [Options] and select “Advanced”.
7. Select “Paste”.
Using the Menu 31
Using the Menu
Main Menu
1. Press in standby.
The Main menu is displayed.
2. Press a, b, c or d to highlight the desired menu, then
press to access the function.
For details on the menu options, see “List of Menu Functions” on
page 130.
Using the Menu in the Viewer Position of the Display
1. Set the phone in the viewer position of the display.
2. Press Y to display the Main menu.
3. Press V or W to move the cursor up or down, then press X
or Y.
Press Z to return to the Main menu.
The cursor moves the same as in the normal position of the
display by using V and W.
For details on the functions of these keys, see page 10.
Select Exit
Camera
32 Using the Menu
Shortcut Keys
You can access menus by pressing and digit keys for the
corresponding number on the Main menu. For numbers 10 to 12,
press and P (10), Q (11) or R (12). See “List of Menu
Functions” on page 130.
Shortcuts are listed in the headings of this user guide.
Examples: To Access “Videos” Sub Menu (M 6-4) Using
Shortcut Keys
Press L J.
To Access “Totals” Sub Menu (M 7-10-2) Using
Shortcut Keys
Press M P H.
To Access “Vibration” Sub Menu (M 12-3-4) Using
Shortcut Keys
Press R I J.
Note
The shortcut keys work for the first three menu levels only.
Contacts List 33
Contacts List
You can store the phone numbers and Email addresses of your
friends, family and colleagues in the Contacts List.
Your phone can store up to 500 entries. In a Contacts List, you can
save the following items:
Items Saved in the Handset Memory
Items Saved in the SIM Memory (depending on the SIM card)
Changing the Name Order
“Contacts”
“Settings”
“Name Order”
1. Select “First-Last Name” or “Last-First Name”.
Changing the List Displayed
“Contacts”
“Settings”
“Contacts Location”
1. Select “Handset” or “SIM”.
Selecting the Storage Memory
“Contacts”
“Settings”
“Save New Contact to”
1. Select from “Handset”, “SIM” or “Choose before Saving”.
Tip
“Choose before Saving” prompts you to choose the memory every
time you save a new entry.
First Name up to 16 characters
Last Name up to 16 characters
Telephone Number up to 3 phone numbers (up to 32 digits
each)
Email Address up to 3 Email addresses (up to 128
characters each)
Category 16 categories
Street & Number up to 64 characters
City up to 64 characters
State/Province up to 64 characters
Postcode up to 20 characters
Country up to 32 characters
Note up to 256 characters
Birthday (date)
Picture (file name)
Assign Tone/Video (file name)
Secret (On or Off)
(M 8-1)
Name up to 16 characters
Telephone Number up to 2 phone numbers (up to 32 digits
each)
Email Address 1 Email address (up to 128 characters)
Category up to 16 categories
(M 8-8-1)
(M 8-8-2)
(M 8-8-3)
34 Contacts List
Sorting the Contacts List Entries
You can change the listing order of the Contacts List entries between
by alphabetical order or by different categories.
“Contacts”
“Settings”
“Sort Contacts”
1. Select “By Alphabet” or “By Category”.
Add New Contact
You can choose either the phone or SIM card memory locations to
store the new entry. For switching locations, see “Selecting the
Storage Memory” on page 33.
The amount of phone numbers that you can store to the SIM card is
dependent on its capacity. Contact your service provider for details.
“Contacts”
“Contacts List”
“Add New Contact”
If you select the “Choose before Saving” option for the memory to be
used, the selection is between “To Handset” and “To SIM”.
1. Select the field you wish to fill in, and enter the relevant
information.
2. Press [Save] when finished.
Tip
To create an entry, at least one field must be filled (“First Name”,
“Last Name”, “Telephone Number” or “Email Address” for the
handset memory; “Name”, “Telephone Number” or “Email
Address” for the SIM memory).
Viewing My Contact Details
You can register and edit your own contact as with other Contacts List
entries.
“Contacts”
“My Contact Details”
Copying Contacts List Entries between SIM Card
and Handset
“Contacts”
“Manage Contacts”
“Copy All Entries”
1. Select “From SIM to Handset” or “From Handset to SIM”.
Note
When you insert the SIM card into your phone for the first time and
start the Contacts List application, the confirmation screen is
displayed automatically, asking you if you wish to copy or not. The
number of Contacts List entries to be copied varies depending on
the SIM capacity.
If the memory space is not enough to save all entries, you cannot
complete copying.
(M 8-8-4) (M 8-5)
(M 8-9-1)
Contacts List 35
Finding a Name
“Contacts”
“Contacts List”
1. Enter the first few letters of the name.
Search results are displayed in alphabetical order.
Tip
You can select the Contacts location from “Handset” or “SIM”
before searching.
Dialling from the Contacts List
“Contacts”
“Contacts List”
1. Highlight the desired entry and press D.
Tip
If more than one phone number is registered for the entry, highlight
the desired phone number after step 1 and press D.
You can also dial from the details screen of the Contacts List. On
the details screen, select the desired phone number and press D.
Editing Contacts List Entries
“Contacts”
“Contacts List”
1. Highlight the entry you wish to edit.
2. Press [Options] and select “Edit”.
3. Modify the information.
4. Press [Save] when finished.
Adding a Thumbnail to Entries
“Contacts”
“Contacts List”
1. Highlight the desired entry.
2. Press [Options] and select “Edit”.
3. Select “Picture”.
4. Select “Assign Picture”.
5. Select the desired picture.
6. Press [Save] when finished.
Note
If you delete a picture in the handset memory, the corresponding
thumbnail is also deleted.
36 Contacts List
Assigning a Ringtone or a Ring Video Clip to Each
Entry
“Contacts”
“Contacts List”
1. Highlight the desired entry.
2. Press [Options] and select “Edit”.
3. Select “Assign Tone/Video”.
4. Select from “For Voice Call”, “For Video Call” or “For New
Message”.
5. Select “Assign Tone” or “Assign Video”.
When selecting “Assign Video”, go to step 7.
6. Select “Preset Sounds” or “My Sounds”.
7. Select the desired tone or video clip.
8. Press [Save] when finished.
Deleting Contacts List Entries
Deleting All Contact Entries
“Contacts”
“Manage Contacts”
“Delete All Entries”
1. Select “Handset Entries” or “SIM Entries”.
2. Enter your handset code.
The default handset code is “9999”. For details on changing the
handset code, see “Changing the Handset Code” on page 106.
Deleting a Contact Entry
“Contacts”
“Contacts List”
1. Highlight the desired entry.
2. Press [Options] and select “Delete”.
Manage Category
Different ringtones can be set for each category. If you do not change
a category ringtone, the ringtone assigned in the Profiles menu is
used.
“Contacts”
“Manage Category”
1. Highlight the desired category.
2. Press [Options] and select “Assign Tone/Video”.
3. Select from “For Voice Call”, “For Video Call” or “For New
Message”.
4. Select “Assign Tone” or “Assign Video”.
When selecting “Assign Video”, go to step 6.
5. Select “Preset Sounds” or “My Sounds”.
6. Select the desired tone or video clip.
For details on selecting a ringtone or a ring video clip, see
“Assigning a Ringtone” on page 92 or “Assigning a Ring Video
Clip File” on page 93.
Note
You can only edit category names in the SIM card. You cannot edit
the ringtone or ring video settings.
(M 8-9-3)
(M 8-3)
Contacts List 37
Editing the Category Name
You can edit category names to be assigned to the Contacts List
entries. First, change the Contacts List displayed (p. 33).
“Contacts”
“Manage Category”
1. Highlight the desired category name.
2. Press [Options] and select “Edit Name”.
3. Modify the name.
Contact Groups
You can create a mailing list to send the same message to a group of
recipients at once. Up to 5 groups can be registered.
Creating a New Mailing List
“Contacts”
“Contact Groups”
“Add New Group”
1. Enter the group name.
The new group name is displayed following the last group on the
Group List screen.
Adding Recipients to a Group
Up to 20 recipients can be registered in each list.
“Contacts”
“Contact Groups”
1. Select the desired group name.
2. Select “Assign New Entry”.
3. Select the desired entry.
The detailed screen is displayed.
4. Select the desired phone number or Email address.
Tip
If you modify the entry assigned in the group, you need to re-
assign it to the group. Press [Options] and select “Re-assign
Entry” in step 2.
To remove an entry from the group, press [Options] and select
“Remove Entry” in step 2.
To remove a group, highlight a group name and press [Options]
and then select “Delete” in step 1.
Sending a Message Using a Mailing List
“Contacts”
“Contact Groups
1. Highlight the desired group name.
2. Press [Options] and select “Create Message”.
3. Select the desired type of messaging.
For further procedures, see “Creating a New Message” on
page 49.
(M 8-6)
38 Contacts List
Memory Status
This function helps you to check the memory used in the Contacts
List.
“Contacts”
“Manage Contacts”
“Memory Status”
Speed Dial List
You can set a maximum of 8 phone numbers in the Speed Dial list
(p. 21).
Setting Contacts List Entries in the Speed Dial List
“Contacts”
“Contacts List”
1. Select the desired entry.
2. Highlight the desired phone number.
3. Press [Options] and select “Add to Speed Dial”.
4. Select the desired location.
Tip
The nine digit keys correspond to list numbers.
To Edit the Speed Dial List
“Contacts”
“Speed Dial List”
1. Highlight the entry you wish to edit.
2. Press [Options] and select “Re-Assign” (or “Assign”).
Sending a Contacts List Entry
“Contacts”
“Contacts List”
1. Highlight the desired entry.
2. Press [Options] and select “Send Contact”.
3. Select “As Message”, “Via Bluetooth” or “Via Infrared”.
For “As Message”
For details, see “MMS” on page 48.
For “Via Bluetooth”
For details, see “Bluetooth” on page 109.
For “Via Infrared”
For details, see “Infrared” on page 111.
Receiving a Contacts List Entry
When the phone receives a Contacts List entry, a confirmation
message is displayed in standby.
1. Press [Yes].
The received entry is saved in the Contacts List. Press [No] to
reject.
Tip
For details on entering Infrared or Bluetooth wireless settings, see
“Connectivity” on page 109.
(M 8-9-2)
(M 8-4)
Contacts List 39
Sending a Voice Clip Message or Video Clip
Message Using an Address from the Contacts
List
“Contacts”
“Contacts List”
1. Select the desired entry including the phone number or Email
address you wish to use.
2. Highlight the desired phone number or Email address.
3. Press [Options] and select “Create Message”.
4. Select “Voice Message” or “Video Message”.
For further procedures, see “Creating a New Message” on
page 49.
Synchronising Contacts List Entries with those
on the Internet
The data synchronisation function is a network service and allows you
to save your Contacts List entries in the handset memory on the
Internet server. The data in the SIM card will not be saved. Subscribe
to a synchronisation service by contacting your network service
centre.
Synchronising the Contacts List
“Contacts”
“Synchronise”
1. Select “Sync Now!” to synchronise data.
Note
“Sync Now!” is not available if there is no active Synchronisation
Setting.
Synchronisation Settings
“Contacts”
“Synchronise”
“Sync Settings”
1. Select the desired account or “Create New” to enter the
following settings.
“Profile Name”: Synchronisation profile name (Unique
name)
“Server Name”: Server address
“User ID”: User ID for authentication
“Password”: Password for authentication
“Proxy”: Selects Proxy setting for
synchronisation.
“Contacts DB Name”: Contacts List database name on the
server
Note
In normal operations, you do not need to change the settings.
Synchronisation settings have already been entered in your phone
depending on your service provider. You may have restrictions on
viewing, deleting, copying or modifying the settings. Contact your
service provider for details.
(M 8-7)
(M 8-7-1)
(M 8-7-3)
40 Camera
Camera
Your phone has a built-in digital camera that allows you to take
pictures and record video clips wherever you are. This section starts
with basic functions and operational procedures to take, save and
send pictures and video clips, followed by common and unique
functions to camera and video modes.
Taking Pictures
“Camera”
1. Press to take the picture.
The shutter sounds and the still image of the taken picture is
displayed.
2. Press [Save].
The taken picture is saved in My Items.
To cancel, press [Cancel].
To send the taken picture, press in step 2 and select “As
Message” or “As Postcard” from the send option. (The Postcard
service is not available with some service providers. Contact your
service provider for more information.)
Note
Press Y instead of in the viewer position of the display.
When the video camera is launched, press [Options] and select
“Go to Photo Camera”, or press c or Z (in the viewer position
of the display).
When you try to send the picture that has too large a file size, the
picture size is resized for the message. The original sized picture
is saved in My Items.
Taking a Self-Portrait
You can take a self-portrait while looking at the main display.
“Camera”
1. Press [Options] and select “Switch to Int. Camera”.
Or press P in the viewfinder mode.
2. Press to take the picture.
3. Press [Save].
The taken picture is saved in My Items.
To return to the external camera, press [Options] and select
“Switch to Ext. Camera” or press P in the viewfinder mode.
To take a picture in the Self-Portrait position
You can take a self-portrait with the external camera.
1. Rotate the main display 180° clockwise from the normal
position.
2. Press Y on the side of the phone.
Note
Do not rotate the main display anti-clockwise. Otherwise, the
phone may malfunction.
(M 5)
Camera 41
Exiting from the Camera Mode in the Viewer Position of the
Display
1. Press and hold Z in the viewer position.
Recording Video Clips
You can record a video clip with your phone. You can also use this
function in the viewer position of the display.
Recording Video Clips
“Camera”
The preview is displayed on the screen.
1. Press .
Press Y in the viewer position of the display.
2. To stop recording, press .
3. Select “Save”.
The video clip is saved in My Items.
To view the preview before saving, select “Preview”.
To send the video clip, select “Save and Send”. Then select the
desired way you wish to send. For further procedures, see
“Creating a New Message” on page 49.
Note
You can only send video clips when “For Message” is selected for
the recording time. For details, see “Selecting the Recording Time”
on page 46.
Common Options Menu Indicators
(viewer positions of the display)
On-screen indicators are provided for various camera mode settings.
1. Press X.
The Options menu is displayed graphically as shown.
2. Press V or W to highlight the desired option and then press
Y to make the selection.
42 Camera
Common Functions in the Photo and Video
Camera Modes
Using the Digital Zoom Function
To Adjust the Zooming Ratio
1. In the viewfinder mode, press a or b.
To Enable the Optical Zoom
The optical zoom enables you to zoom the picture more clearly by the
actual zooming action of the optical lens. The optical zoom is used up
to the [×2] zooming ratio. If the zoom exceeds [×2], the digital zoom
is used to further magnify.
“Camera”
[Options]
“Settings”
“Optical Zoom”
1. Select “Enable”.
Select “Disable” to disable.
If you select “Disable”, you can only use the digital zoom function.
2. Press a or b.
Once the phone has returned to standby, the zoom settings return to
default.
Adjusting the Exposure
“Camera”
[Options]
“Exposure”
1. Press a (Bright) or b (Dark).
: (Bright Normal Dark)
Once the phone has returned to standby, the brightness settings
return to default.
Mobile Light
To Change the Mobile Light Mode
Set the mobile light according to your purpose.
“Camera”
[Options]
“Modes”
“Mobile Light”
“Switch On/Off”
1. Select the desired mode.
“On” ( ): The light is always on.
“Automatic” ( ): The light turns on if the phone detects that
the conditions are dark.
“Low Light” ( ) (photo camera mode only):
Select this mode for macro shooting.
“Off”: The light is always off.
The corresponding indicator is displayed on the screen. Select
“Off” to turn it off.
To Change the Light Colour
You can take a picture in various colour modes.
“Camera”
[Options]
“Modes”
“Mobile Light”
“Light Colour”
1. Select the desired light colour.
Light Colours: White/Red/Yellow/Green/Blue/Violet/Light Blue
Using the Self-Timer
“Camera”
[Options]
“Modes”
“Self-timer”
1. Select “On” or “Off”.
” is displayed on the screen when you select “On”.
Camera 43
Switching between the Photo and Video Camera Modes
You can switch between the camera and video camera modes by
pressing c or d, or Z (in the viewer position of the display).
Select the appropriate option.
“Camera”
[Options]
“Go to Video Camera”
“Camera”
[Options]
“Go to Photo Camera”
Selecting the Picture or Video Quality
Select the appropriate option.
“Camera”
[Options]
“Picture Quality”
“Camera”
[Options]
“Video Quality”
1. Select the desired picture or video quality.
: Super Fine
:Fine
:Normal
Note
The better quality you select, the larger file size is needed.
Selecting the Storage Memory
Select the appropriate option.
“Camera”
[Options]
“Settings”
“Save New Pictures”
“Camera”
[Options]
“Settings”
“Save New Videos”
1. Select the desired location from “To Handset Memory”, “To
Memory Card” or “Choose bef. Saving”.
Note
If you select “Choose bef. Saving”, select the desired location every
time you save.
Focus Setting
“Camera”
[Options]
“Modes”
“Focus”
1. Select the desired option.
: Auto Focus
: Manual Focus
:Macro
Auto Save
You can set the phone to save pictures and video clips automatically.
“Camera”
[Options]
“Settings”
“Auto Save
1. Select “On” or “Off”.
Auto Start
You can set the phone to start the camera application automatically
by switching to the viewer position of the display.
“Camera”
[Options]
“Settings”
“Auto Start”
1. Select “On” or “Off”.
Using the Help Function
“Camera”
[Options]
“Help”
44 Camera
Common Shortcut Keys
If multiple options exist, they switch each time you press each
following key.
Note
The “Switches Screen” option is available in “Preview” before you
save a video clip. See “Recording Video Clips” on page 41.
Functions in the Photo Camera Mode
Selecting the Picture Size
You can select the size of pictures. All taken pictures are saved in the
JPEG format.
“Camera”
[Options]
“Picture Size”
1. Select the desired size.
(External Camera) 1536 × 2048 dots/1200 × 1600 dots/
960 × 1280 dots/768 × 1024 dots/
480 × 640 dots/240 × 320 dots/
120 × 160 dots
(Internal Camera) 240 × 320 dots/120 × 160 dots
Photo Camera Video Camera
GZoom Max/Min
HExposure
IFocus
JSave New Pictures Save New Videos
KPicture Size
LScene Microphone On/Off
MPicture Quality Video Quality
NSelf-timer On/Off
OChange Light Colour (when light is on)
PChange External Camera/Internal Camera
QSwitches Viewfinder Switches Screen
RLight On/Off
Camera 45
Selecting the Scene
You can select the appropriate mode by scene when you take the
picture.
“Camera”
[Options]
“Modes”
“Scene”
1. Select the desired scene.
The following eight modes are available:
“Automatic” ( ): Automatically adjusted to surroundings
“Night” ( ): Suited for night photography
“Sports” ( ): Suited for moving objects
“Characters” ( ): Suited for high-contrast subjects such as
text
“Pet”( ): Suited for moving objects at short range.
“Against Sun” ( ): Suited to avoid objects being silhouetted
against the light.
“Portrait” ( ): Suited for a portrait.
“Portrait in Dark” ( ):
Suited for a portrait indoors or in dim light.
Selecting the Picture Effects
You can take a picture with special effects.
“Camera”
[Options]
“Modes”
“Camera Effects”
1. Select the desired effects.
The following five modes are available:
“Off”: The camera effect is cancelled.
“Sepia”: Creates a sepia-tone image.
“Monochrome”: Creates a black and white image.
“Negative”: Creates a negative image.
“Sketch”: Creates a sketch-like image with contours of
objects outlined.
Continuous Shoot
There are various modes for taking continuous shots.
“Camera”
[Options]
“Modes”
“Continuous Shoot”
1. Select the desired mode.
The following continuous shoot modes are available:
“Off”: The continuous shoots are cancelled.
“4 Pictures”/“9 Pictures” ( / ):
Takes 4 or 9 pictures continuously.
After selecting this mode, select from five
types of speed or “Manual”.
“Bracket” ( ): Takes 9 continuous pictures with various
colours and brightness levels.
After selecting this mode, press then
select “Fast” or “Normal”.
“Overlapped” ( ): Overlaps continuous pictures into one
picture and makes an afterimage.
After selecting this mode, select “Fast” or
“Normal”.
46 Camera
Note
When you select “Manual” to take continuous pictures, press
or Y (in the viewer position of the display) manually in the
desired speed.
When the Timer and Continuous Shoot functions are
simultaneously set, “ ” (for “4 Pictures”, for example) is
displayed instead.
“9 Pictures” and “Overlapped” are not available for picture sizes
larger than 240 × 320.
Selecting a Frame
You can select the frame from preset patterns or My Pictures.
“Camera”
[Options]
“Modes”
“Add Frame”
1. Select “Preset Frames” or “My Pictures”.
2. Select the desired frame.
The selected frame is confirmed on the display.
3. Press .
Note
Images larger than 240 dots [W]
×
320 dots [H] cannot be used.
Using the Full Screen
You can display the preview on the full screen without the soft key
area and indicator area.
“Camera”
[Options]
“Settings”
1. Select “Full Viewfinder”.
To return to the normal viewfinder, select “Normal Viewfinder”.
Selecting the Shutter Sound
“Camera”
[Options]
“Settings”
“Shutter Sound”
1. Select the desired shutter sound from 3 preset patterns.
Note
Continuous Shoot uses the specialised shutter sound that cannot
be changed from the above settings.
The shutter sound remains active even when “Volume” (p. 92) is
set to “Silent” to prevent unauthorised use.
Functions in the Video Camera Mode
Selecting the Recording Time
“Camera”
[Options]
“Record Time”
1. Select “For Message” or “Extended Video”.
For Message ( ): Limits the size to send a message
depending on service providers.
Extended Video ( ): Less than 30 minutes (depending on
the memory).
2. Select “Large(QCIF)” or “Small(SubQCIF)” picture size for “For
Message” and “QVGA(3gp)”, “QVGA(asf)”, “Large(QCIF)” or
“Small(SubQCIF)” picture size for “Extended Video”.
Camera 47
Note
If you select “For Message” for the recording time, the file size is
limited depending on the service provider. Therefore, the quality is
also limited for the setting.
“Save and Send” is not displayed after recording in the Extended
Video mode.
Recording Video Clips with the Sound
To record a video clip with the sound, the microphone needs to be
activated.
“Camera”
[Options]
“Settings”
“Microphone”
1. Select “On” or “Off”.
Note
The microphone is already turned on in the default setting. Select
“Off” to record a video clip without the sound.
The file size of a video clip can be reduced if the sound is not
recorded.
Video Encoding
“Camera”
[Options]
“Settings”
“Video Encode”
1. Select the appropriate format.
48 Messaging
Messaging
Your phone allows you to send and receive text, multimedia and
Email, and receive WAP alerts as well.
SMS
SMS allows you to send text messages up to 765 characters long. If
you send a message of more than 160 characters, it is split into
several segments.
MMS
MMS allows you to send and receive multimedia messages of up to
300 KB with images, sound, or video clips attached.
Email
Email allows you to send messages of up to 300 KB.
Note
Some MMS functions may not always be available depending on
your network. Contact your service provider for more information.
Maximum message size varies depending on the settings by the
service provider.
1. Recipient field
2. Message field
3. Send indicator
4. Attachment indicators (from left: picture, sound, video clip,
others)
(M 4)
Messaging 49
Creating a New Message
(SMS/MMS)
A
“Create Message”
“Message”
(Email)
A
“Create Message”
“Email”
1. Select the address field.
2. Enter or select the phone number from the Contacts List.
(MMS)
Enter or select the Email address or phone number from the
Contacts List.
(Email)
Enter or select the Email address from the Contacts List.
To add multiple Email addresses or phone numbers, highlight
the recipient field, press [Options], select “Edit Recipients”,
then select “Add Contact”. Enter or select the Email address or
phone number from the existing Contacts List.
To change the recipient types, press [Options], select “Edit
Recipients” and highlight the desired recipient. Press [Options]
and select “Change to TO”, “Change to CC” or “Change to
BCC”.
To add a subject, press [Options] and select “Add Subject”.
3. Highlight the message field.
4. Enter the message and press .
5. Highlight the “Send” indicator in the lower left of the screen.
Press and select “Send Message”.
After the message is sent, the message is moved to the Sent
Messages box.
Tip
To send the same message to a group of recipients, select “Select
Group” in step 2, then select the desired group name. For details
on creating a mailing list, see “Creating a New Mailing List” on
page 37.
To Add a Slide Show
1. In step 4 in “Creating a New Message”, press [Options] and
select “Add Slide”.
If you wish to add more slides, select “Add Slide Before” or “Add
Slide After”.
2. Enter the message.
If you wish to set the duration of each slide, press [Options] and
select “Slide Duration”, then select the desired duration.
Tip
You can create messages up to 300 KB. Each slide can contain
one picture and/or one sound file or video clip.
To Remove or Replace Attachments
1. In step 4 in “Creating a New Message”, press [Options] and
select the corresponding remove option for each attachment.
(M 4-1)
50 Messaging
To Attach My Items Data
1. In step 4 in “Creating a New Message” on page 49, highlight
the “Picture”, “Sound” or “Video” indicator in the lower centre
of the screen, and then press .
2. Select “Saved Pictures”, “Saved Sounds” or “Saved Videos”.
3. Select the desired file.
If you wish to take new pictures, record sounds or video clips,
select “Take Picture”, “Record Voice” or “Record Video”.
When attaching pictures, select the appropriate resize option,
as the maximum message size for sending varies depending
on the service provider.
To Attach a Contacts List Entry
1. In step 4 in “Creating a New Message” on page 49, highlight
the “Options” indicator in the lower right of the screen. Press
and select “Attach Contact”.
2. Select the desired entry.
If you wish to select your own Contacts List entry, select “My
Contact Details”.
3. Select the desired field.
The selected information is entered.
To Attach a Schedule Entry
1. In step 4 in “Creating a New Message” on page 49, highlight
the “Options” indicator in the lower right of the screen. Press
and select “Attach Appointment”.
2. Select the desired day including a schedule entry you wish to
add.
3. Select the desired schedule entry.
Using the Sending Options
You can use the message sending options for each type of message.
1. Highlight the “Send” indicator in the lower left of the screen,
then press and select “Message Settings”.
“Read Report” (“On”, “Off”) (MMS): Confirms whether or not a
report is sent notifying the sender that the message has been
read.
“Delivery Report” (“On”, “Off”) (SMS/MMS): Enables or
disables Delivery Report when the message is successfully
sent to the recipient.
“Expiry Time” (“Maximum”, “30 minutes”, “1 hour”, “6 hours”,
“1 day”, “1 week”) (SMS/MMS): Sets Expiry Time for a
message to be saved in the server.
“Priority” (“High”, “Normal”, “Low”): Prioritises composed
messages.
“Delivery Time” (“No delay”, “30 minutes”, “1 hour”, “6
hours”, “1 day”, “1 week”) (SMS/MMS): Sets the time the
message is delivered after the Send key is pressed.
2. Highlight the “Send” indicator in the lower left of the screen.
Press and select “Send Message”.
After the message is sent, the message is moved to the Sent
Messages box.
Messaging 51
Note
The current message size displayed while you are creating the
message is an approximation.
If a message cannot be sent for some reason, the message stays
in the Outbox and the “ ” is displayed in standby.
Tip
To save the message without sending, press [Options] and select
“Save to Drafts” in step 4 in “Creating a New Message” on
page 49.
You can send the following items attached to multimedia
messages. Details are given in the following sections.
My Items data
Contacts List entry
File (Schedule entry created by Calendar, Contacts List entry),
etc.
You can use the template option to help you compose messages.
For details on using this option, see “Using Templates” on
page 30.
Sending a Message in the Drafts Box
A
“Drafts”
1. Select the desired tab, SMS/MMS or Email.
2. Press [Options] and select “Edit & Send”.
3. Modify the message, if necessary.
4. Highlight the “Send” indicator in the lower left of the screen.
Press and select “Send Message”.
Sending a Voice Clip Message or Video Clip
Message
You can record a new voice or video clip when creating a new
message.
Select the appropriate option.
A
“Create Message”
“Voice Message”
A
“Create Message”
“Video Message”
1. Press to start recording.
2. Press to stop recording.
3. Select “Accept” to attach to the new message.
The file is saved in the corresponding folder in My Items.
For further procedures, see “Creating a New Message” on
page 49.
Reading MMS
Messages you receive are saved in the Inbox.
A
“Inbox”
1. Select the message you wish to view.
(M 4-3)
(M 4-1-2) (M 4-1-3)
52 Messaging
Storing the Phone Number of a Sender in the Contacts List
A
“Inbox”
1. Highlight the message from which you wish to store the phone
number or Email address.
2. Press [Options] and select “Save Address”.
The new Contacts List entry screen including the phone number
is displayed. For details on creating a new Contacts List entry,
see “Add New Contact” on page 34.
Calling the Phone Number of a Sender Embedded in the
Message
A
“Inbox”
1. Highlight the message including the phone number you wish
to dial.
2. Press [Options] and select “Call Sender”.
Downloading a Single MMS
A
“Inbox”
1. Highlight the message alert ( ) you wish to download.
2. Press [Options] and select “Download”.
Tip
You can download multiple messages at the same time. See
“Downloading Multiple MMS”.
Downloading Multiple MMS
A
“Inbox”
1. Press [Options] and select “Advanced”.
2. Select “Multiple Select”.
3. Select the desired message alert, press [Options] and select
“Select” or “Select All”.
4. Press [Options] and select “Download”.
The selected messages are downloaded at the same time.
Replying to a Message or to All Addresses
A
“Inbox”
1. Highlight the message the sender of which you wish to reply
to.
2. Press [Options] and select “Reply” or “Reply all”.
3. Select “Reply” or “Reply with History”.
4. Enter the message.
5. Highlight the “Send” indicator in the lower left of the screen.
Press and select “Send Message”.
Messaging 53
Forwarding a Message
A
“Inbox”
1. Highlight the message you wish to forward.
2. Press [Options] and select “Forward”.
3. Perform steps 1 to 5 in “Creating a New Message” on
page 49.
Remote Forward
You can transfer your Email messages saved in the mail server
directly to other recipients.
A
“Inbox”
1. Highlight the message alert ( ) you wish to transfer.
2. Press [Options] and select “Forward”.
3. Perform steps 1 to 5 in “Creating a New Message” on
page 49.
Sorting the Messages in the List
A
“Inbox”
1. Press [Options] and select “Advanced”.
2. Select “Sort”.
3. Select the desired sort type.
Locking or Unlocking the Messages
A
“Inbox”
1. Highlight the message you wish to lock or unlock.
2. Press [Options] and select “Advanced”.
3. Select “Lock” or “Unlock”.
Sending a Picture File with Postcard
Your phone allows you to send multimedia messages to a Vodafone
specific Postcard service centre that prints the picture and mails it to
the recipient’s home address specified in the MMS message. (Your
phone is initially provided with the address of a Vodafone specific
Postcard service centre, and its address cannot be changed.)
Note
This service is not available with some service providers. Please
contact your service provider for more information.
(M 4-1-4)
54 Messaging
To Create a New Postcard
See the note on page 131 for menu indications.
A
“Create Message”
“Postcard”
“Saved Pictures”
1. Select a picture you wish to send.
If you wish to take new pictures, select “Take Picture”.
If the file size of selected JPEG format pictures or taken pictures
is too large to send, resize the picture and try again.
2. Enter your message.
You can enter messages of up to 200 bytes.
3. Enter or select the recipient.
See the note below for details.
“Name” (mandatory):
Name of the recipient for a postcard up to 50 bytes
“Additional Info” (optional):
Additional information of the recipient up to 50 bytes
“Street & Number” (mandatory):
Street and number up to 50 bytes
“City” (mandatory):
City up to 50 bytes
“Post Code” (optional):
Postal code up to 20 bytes
“State/Province” (optional):
State, province, and region up to 50 bytes
“Country” (optional):
Country up to 20 bytes
4. Press [Options] and select “Send Postcard”.
Note
The items “Name”, “Street & Number” and “City” are necessary to
complete sending Postcards.
The items displayed differ according to the service. Please contact
your service provider for more information. The item “Country” may
not be displayed, so you cannot send Postcards overseas from
your phone.
Asterisks entered in the message or the address become invalid
when the message is sent, and spaces cannot be entered in the
Post Code.
Files in Animation GIF format cannot be used for the Postcard
service.
The picture quality of Postcards varies depending on the picture
size.
Messaging 55
Messaging Settings
General Settings
A
“Messaging Settings”
“General Settings
1. Select the item you wish to set up.
•“Home Download:
Controls message download timing inside your network area.
“Always Download”: Downloads messages immediately
from the server.
“Always Defer”: Defers message download.
“Roam. Download”:
Controls message download timing when roaming outside of
your network.
“Always Download”: Downloads messages immediately
from the server.
“Always Defer”: Defers message download.
“Delivery Report”:
Enables or disables Delivery Report request.
•“Read Report:
Enables or disables Read Report request.
“Expiry Time”:
This indicates the number of days and hours for which a
message you send may remain undelivered to the message
recipient. During this period, the message service centre will
continually try to deliver the message to the recipient.
“Delivery Rep. Allow”:
Confirms whether or not a report is sent notifying the sender
when you receive an MMS/SMS.
“Read Report Allow”:
Enables or disables Read Report Allow when the recipient is
required to inform the sender that the message has been
read.
Edit Signature”:
Opens the screen to enter the signature.
“Auto Delete”:
Deletes the oldest message automatically, when the Inbox,
Sent Messages or both (Inbox and Sent Messages) is full.
“Automatic Resend”:
Tries to resend the failed SMS/MMS message up to two times
(“On” or “Off” selection).
“Message List View”:
Switches the mailbox listing between “One-line View” and
“Two-line View”.
(M 4-9)
(M 4-9-1)
56 Messaging
SMS Settings
A
“Messaging Settings”
“SMS Settings”
1. Select the item you wish to set up.
“Message Centre”:
Enter the message centre number.
If you wish to enter a country code for a message to an
international number, press and hold Q until a + sign is
displayed.
“Message Format”:
Select the message format to be used when creating a new
message.
•“Reply Path:
Accepts or rejects the same reply path with the send path
when receiving the reply message for your message.
• “Optimisation”:
When set “On” (default), double-byte characters such as
European characters with an accent are converted into
single-byte characters and sent.
When “Off”, double-byte characters are sent as displayed.
Please note that you may be charged double for double-byte
characters sent in an SMS when Optimisation is set “Off”.
MMS Settings
A
“Messaging Settings”
“MMS Settings”
1. Select the item you wish to set up.
“MMS Accounts”:
Select the desired account or select “Create New” to enter the
following settings.
“Profile Name”: MMS profile name (Unique name)
“Proxy”: Proxy setting for MMS
“Relay Server URL”: MMS relay server
“Slide Duration”:
Sets the duration of the slide.
“Max Message Size”:
Sets the maximum message size for sending and disables
sending MMS messages exceeding that size.
“Creation Mode”:
When set to “Free”, you can attach files of any format to the
mail. When set to “Restricted”, only certain formats can be
attached.
(M 4-9-2) (M 4-9-3)
Messaging 57
Email Settings
A
“Messaging Settings”
“Email Settings”
1. Select the item you wish to set up.
•“Email Accounts:
Select the desired account or select “Create New” to enter the
following settings.
“Account Name”: Email account name (Unique
name)
“POP3”: Server name, user ID, password
and port number for POP3 server
“SMTP Server”: Server name, user ID, password,
port number for SMTP server and
SMTP Authentication
“Access Point”: Access point for Email
“Email Address”: Email address
“Download Interval”:
Sets the download interval.
“Max Message Size”:
Sets the maximum message size for sending and disables
sending Email messages exceeding that size.
Cell Broadcasts
You can receive cell broadcast messages or general messages such
as weather forecasts and traffic reports. This information is broadcast
to subscribers in certain network areas.
This function may not be available on all mobile phone networks.
Contact your service provider for more information.
To Enable/Disable Cell Broadcasts
A
“Messaging Settings”
“Cell Broadcasts”
“Switch On/Off
1. Select “On” or “Off”.
To Read Cell Broadcast Messages
A
“Messaging Settings”
“Cell Broadcasts”
“Read
Messages”
1. Select the desired subject.
2. Scroll the screen to read the message.
3. Press [Back].
(M 4-9-4) (M 4-9-5)
58 Messaging
To Set Languages for Cell Broadcast Messages
A
“Messaging Settings”
“Cell Broadcasts”
“Settings”
“Language”
The current language is displayed.
1. Press .
2. Press to check.
3. Press [Save].
To Subscribe to Cell Broadcasts
Select the page of the cell broadcast message that you want.
A
“Messaging Settings”
“Cell Broadcasts”
“Settings”
“Set Info Subjects”
[Options]
1. Select “Add/Remove”.
2. Select the desired page.
3. Press [Back].
Tip
If the desired page is not in the list that appears in step 2, select
“Create Subject” in step 1, then enter the subject code to add a
page. For details on the subject code, contact your service
provider.
Area Info
The Area Info is the message information that operators send to
subscribers in certain areas.
When you receive Area Info, the message (area code) is displayed in
standby.
To Enable/Disable Area Info
A
“Messaging Settings”
“Area Info”
1. Select “On” or “Off”.
Note
This function may not be available on all mobile phone networks.
Contact your service provider for more information.
If Area Info is set to “On”, the standby time will decrease.
(M 4-9-6)
Vodafone live! 59
Vodafone live!
Your phone is already configured to access Vodafone live! and the
mobile internet*.
Vodafone live! is a new mobile internet portal which is your gateway
to a new world of information, games, music and services.
Because your phone uses 3G (UMTS), it has a system that is much
faster than previous ways of getting mobile information. Also, the
connection is ‘always on’ which means there is no need to wait for
dialling up. You only have to pay for the data you send or receive, not
how long you’re connected.
*If you have problems getting connected, please phone Vodafone
Customer Support.
Your phone contains a WAP browser used for surfing on the Mobile
Internet, where you can get a lot of useful information. Normally,
pages are designed for a mobile phone.
Main Menu
“Vodafone live!”
“Vodafone live!”
The Vodafone live! service page is displayed.
“Vodafone live!”
“Enter URL”
The URL entry screen is displayed, allowing you to jump to a site.
“Vodafone live!”
“Bookmarks”
See page 60.
“Vodafone live!”
“Alert Inbox”
WAP Push alerts are displayed.
“Vodafone live!”
“My Saved Page”
The saved screenshots are displayed.
“Vodafone live!”
“History”
The history of pages you have recently browsed is displayed.
(M 2)
60 Vodafone live!
Navigating a WAP Page
a b c d:
Move the highlights around in the screen.
: Executes the option displayed in the lower centre of
the screen.
A: Launches the browser option menu.
C: Selects an action displayed in the lower right of the
screen.
Used to access “Vodafone live!” by opening the
browser.
F(short press):
Exits the browser.
(press and hold):
Turns off the phone.
Editing Bookmarks
“Vodafone live!”
“Bookmarks”
1. Select the desired URL, and press [Options].
You can edit the list of Bookmarks by the following options:
“Open”: Selects a bookmark.
“Details”: Displays detailed information of the
WAP page.
“Send Page”: Sends the URL address to recipients.
“New”: Creates new folders or bookmarks.
“Rename”: Renames bookmarks.
“Edit URL”: Edits URL address of the bookmark.
“Move”: Moves bookmarks to another location.
“Delete”: Deletes bookmarks.
“Delete All”: Deletes all bookmarks.
Browser Settings
“Vodafone live!”
“Browser Settings”
“Font Size”: Sets the size of the browsing font.
“Scroll Step”: Sets the speed of scrolling.
“Send Referrer”: Enables or disables the notification of
the referrer.
“Cookies”: Adjusts the setting of cookies.
“Downloads”: Categorises downloading data from
the images/sounds/objects.
“Security”: Adjusts the security prompt level.
“WAP Push”: Sets whether you need confirmation
for push message.
“Download to”: Sets the download location.
(M 2-3)
(M 2-7)
Vodafone live! 61
The Browser Options
You can use various options of the WAP browser.
C
[Options]
“Select”: Selects a WAP page.
“Home”: Goes to the homepage.
“Bookmarks”: See page 60.
“Mark Page”: Marks the selected WAP page.
“Save This Link”: Downloads the linked WAP page data.
“Save Items”: Saves items from WAP pages.
“Go to URL”: Goes to the WAP page that you enter
the URL address of.
“Access History”: Shows the history where you have
browsed.
“Forward”: Goes to the next page of the pages
displayed.
“Reload Page”: Reloads the WAP page again to get
new information.
“Advanced”: Displays the advanced menus.
“Exit”: Exits the browser.
The Advanced Options
C
[Options]
“Advanced”
“My Saved Page”: The saved screenshots are displayed.
“Save This Page”: Saves the WAP page as the local file.
“Send Page”: Sends the WAP page data.
“Details”: Shows detailed information of the WAP
page.
“Browser Data”: Edits the browser data. You can clear
the cache/cookies/history.
“Search This Page”: Searches specific words in the WAP
page.
“Alert Inbox”: Displays WAP Push alerts.
“Copy Text”: Copies the text on the web page.
“Settings”: Displays the Settings menus.
“Restart Browser”: Restarts the browser.
“About”: Displays the browser information.
62 Music
Music
Music Player
Music Player can play MP3, AAC and AAC+ format sound files. While
playing back sound files in the background, you can use other menus.
Playing Back Sound Files
“Music”
“My Music”
1. Select “All Music” or the desired playlist.
2. Select the desired file.
To pause playback, press .
To stop playback press [Back].
Note
You are asked whether or not to play sounds when the Silent mode
is activated.
To play the last played file, select “Last Played Music”. “Currently
Playing” is displayed when the file is being played back.
Tip
You can return to the Main menu screen while playing back the file
in the background.
You can create your playlist by listing only the desired files (p. 63).
You can make tone adjustment in step 2. Press [Options] and
select “Tone Control”. Select from “Normal”, “Bass”, “Surround”
or “Surround Bass”.
You can select the playback pattern in step 2. Press [Options] and
select “Playback Pattern”.
“Normal”: Plays back all files in the selected folder once
and stops playback.
“Repeat”: Continues playback in the selected folder.
“Repeat All”: Plays back all files in the selected folder.
“Random”: Plays back files in the selected folder at
random.
You can control the Music Player by using the following keys:
a/b: Increases or decreases the volume.
b (press and hold): Mutes.
d: Jumps to the next file.
c: Returns to the top portion of the current file.
d (press and hold): Fast-forwards.
c (press and hold): Rewinds.
F: Plays back the file in the background.
(M 3)
Music 63
Searching a File to Be Played Back
“Music”
“My Music
1. Select “All Music” or the desired playlist.
2. Press [Options] and select “Search”.
3. Enter the first few letters of the title.
Search results are displayed in alphabetical order and the
matching file is highlighted.
Adding a File to the Playlist
You can create a playlist registering desired files.
“Music”
“My Music
1. Highlight the file you wish to add to the playlist.
2. Press [Options] and select “Add to Playlist”.
The playlists are displayed. For details on adding a playlist, see
“Adding a New Playlist”.
3. Select the desired folder.
4. Press .
The file highlighted in step 1 is saved.
To delete files from the playlist, highlight the file and press
[Options]. Then select “Delete from Playlist”.
Adding a New Playlist
“Music”
“My Music”
1. Press [Options] and select “Add New Playlist”.
2. Enter the desired playlist name.
3. Press .
Note
To delete the playlist, highlight the playlist and press [Options].
Then select “Delete Playlist”.
Downloading the Music Files
“Music”
“Download Music”
The music file download site is displayed.
For details, see “Downloading Sound Files” on page 65.
Note
This service is not available with some service providers. Please
contact your service provider for more information.
(M 3-3)
64 My Items
My Items
My Items contains several types of picture, sound and video clip data.
Also included in My Items are frequently used text message phrases
and accessed WAP pages (addresses) which you can use
(“Bookmarks” and “My Saved Page” are not included in My Items).
You can also transmit picture, sound and video clip data via infrared
or
Bluetooth
wireless technology to OBEX-enabled phones.
Pictures
Pictures that are taken by a digital camera or images that are
downloaded from mobile Internet sites can be managed. You can
register pictures in the following formats: JPEG, PNG, WBMP and GIF.
Viewing Pictures
“My Items”
“Pictures”
1. Select the file you wish to view.
The selected picture is displayed.
To display the list from the memory card, press d.
To go back to the handset memory, press c.
Using Images as Wallpaper
“My Items”
“Pictures”
1. Highlight the file you wish to use as wallpaper.
2. Press [Options] and select “Set as Wallpaper”.
Saving an Image to Contacts List Entries
You can use this option only for pictures saved in the handset
memory.
“My Items”
“Pictures”
1. Highlight the file you wish to add to Contacts List.
2. Press [Options] and select “Add to Contact”.
To overwrite, select the data you wish to save.
To save as a new entry, select “As New Contact”.
For details on entering a name, see “Add New Contact” on page
34.
Editing Pictures
“My Items”
“Pictures”
1. Highlight the file you wish to edit.
2. Press [Options] and select “Picture Editor”.
3. Select the desired option.
Note
“Picture Editor” may not be available depending on the original
picture and copyright issued.
(M 6)
(M 6-1)
My Items 65
Adjusting the Size
You can adjust the picture to an appropriate size depending on the
scene.
“My Items”
“Pictures”
1. Highlight the file you wish to adjust the size of.
2. Press [Options] and select “Resize”.
3. Select the desired option.
Note
“Resize” may not be available depending on the original picture
and copyright issued.
Tip
For other option menus, see “Common Option Menus” on
page 67.
Downloading Picture Files
“My Items”
“Pictures”
“Get new”
The picture file download site is displayed.
Sounds & Ringtones
The downloaded sound files and the AMR data recorded by Voice
Recorder are managed in Sounds & Ringtones. The default ringtones
are not contained within Sounds & Ringtones. Only the sound files
that can be played back on the phone are stored in Sounds &
Ringtones.
Playing Back Sound Files
“My Items”
“Sounds & Ringtones”
1. Select the file you wish to play back.
To stop playback, press .
Note
Playback may not be available for some sound files.
Using the Sound Files as a Ringtone
“My Items”
“Sounds & Ringtones”
1. Highlight the file you wish to use as a ringtone.
2. Press [Options] and select “Set as Ringtone”.
Note
AMR format music files cannot be used for ringtones.
Tip
For other option menus, see “Common Option Menus” on
page 67.
Downloading Sound Files
“My Items”
“Sounds & Ringtones”
“Get new”
The sound file download site is displayed.
(M 6-2)
66 My Items
Videos
Video clips that are recorded by a video camera or downloaded from
mobile Internet sites can be managed.
Playing Back Video Clip Files
“My Items”
“Videos”
1. Select the file you wish to play back.
2. Press .
To pause playback, press .
To resume, press again.
To stop playback, press [Back].
To display the list from the memory card, press d.
To go back to the handset memory, press c.
Using a Video Clip as a Ring Video
You can set your video clip to play back when the phone rings.
“My Items”
“Videos”
1. Highlight the desired video clip.
2. Press [Options] and select “Set as Ring Video”.
Tip
For other option menus, see “Common Option Menus” on
page 67.
Downloading Video Clip Files
“My Items”
“Videos”
“Get new”
The video clip file download site is displayed.
Other Documents
Some types of files are stored in the Other Documents folder of the
phone. You can edit and use these files as My Items data.
Opening the Document File
“My Items”
“Other Documents”
1. Select the desired file.
Tip
For other option menus, see “Common Option Menus” on
page 67.
(M 6-4)
(M 6-6)
My Items 67
Common Option Menus
Activating Files with Copyright Protection (DRM)
Some pictures, sound files, and video clips have a digital copy
protection program, which is called DRM (Digital Rights
Management). You need to activate the digital licence permission to
open the files. Files protected with DRM are displayed with .
Select the appropriate option.
“My Items”
“Pictures”
“My Items”
“Sounds & Ringtones”
“My Items”
“Videos”
“My Items”
“Other Documents”
1. Highlight the file you wish to activate.
2. Press [Options] and select “Activate”.
Note
Some pictures with DRM may not open even when an attempt is
made to activate it.
Sending My Items Data
Select the appropriate option.
“My Items”
“Pictures”
“My Items”
“Sounds & Ringtones”
“My Items”
“Videos”
“My Items”
“Other Documents”
1. Highlight the desired file.
2. Press [Options] and select “Send”.
3. Select “As Message”, “Via Bluetooth” or “Via Infrared”.
For details on creating a message, see “Creating a New
Message” on page 49.
For details on
Bluetooth
settings, see “Bluetooth” on page 109.
For details on Infrared settings, see “Infrared” on page 111.
Note
Pictures/Sounds/Video clips protected by copyright cannot be sent
attached to a message, with the exception of Separate Delivery
files.
When pairing, you need to enter your passcode when establishing
contact with a Bluetooth wireless technology enabled device for the
first time.
When you send a picture file, select “As Postcard” in step 3. The
Postcard service is not available with some providers. Contact your
service provider for more information.
68 My Items
Receiving My Items Data
When the phone receives My Items data, a confirmation message is
displayed in standby.
1. Press [Yes].
The received data is saved in the corresponding My Items folder.
Tip
For details on Infrared or Bluetooth wireless settings, see
“Connectivity” on page 109.
Using My Items Data
You can copy, move, sort, rename, and delete the saved My Items
data.
Select the appropriate option.
“My Items”
“Pictures”
“My Items”
“Sounds & Ringtones”
“My Items”
“Videos”
“My Items”
“Other Documents”
1. Highlight the desired file.
2. Press [Options] and select “Advanced”.
3. Select the desired option.
“Move”: Moves files to another folder. Select the
desired folder to move to.
“Copy”: Copies files. Select the desired folder to
copy to.
“Create Folder”: Creates a new folder.
“Multiple Select”: Selects multiple files.
“Sort”: Sorts the file. Select the desired files to sort.
To Rename the File
Select the appropriate option.
“My Items”
“Pictures”
“My Items”
“Sounds & Ringtones”
“My Items”
“Videos”
“My Items”
“Other Documents”
1. Highlight the desired file.
2. Press [Options] and select “Rename”.
To Delete the File
“My Items”
“Pictures”
“My Items”
“Sounds & Ringtones”
“My Items”
“Videos”
“My Items”
“Other Documents”
1. Highlight the desired file.
2. Press [Options] and select “Delete”.
My Items 69
To See the My Items Details
Select the appropriate option.
“My Items”
“Pictures”
“My Items”
“Sounds & Ringtones”
“My Items”
“Videos”
“My Items”
“Other Documents”
1. Highlight the file you wish to view the details of.
2. Press [Options] and select “Details”.
Uploading My Items Data
You can upload your picture, sound or video clip files to the Media
Album.
“My Items”
“Pictures”
“My Items”
“Sounds & Ringtones”
“My Items”
“Videos”
1. Highlight the file you wish to upload.
2. Press [Options] and select “Send”.
3. Select “To Album”.
Note
This service is not available with some service providers. Please
contact your service provider for more information.
Sound and video clip files protected with a copyright cannot be
uploaded, with the exception of Separate Delivery files.
Selecting Multiple Files
You can select more than one item from My Items for moving, copying
and deleting.
Note
The following procedure applies when the entries other than “Get
new” are highlighted.
Select the appropriate option.
“My Items”
“Pictures”
[Options]
“My Items”
“Sounds & Ringtones”
[Options]
“My Items”
“Videos”
[Options]
“My Items”
“Other Documents”
[Options]
1. Select “Advanced”.
2. Select “Multiple Select”.
3. Press to check the desired file names.
4. Press [Options] and select the desired option.
Tip
To remove the check, select the file again or select “Unselect” in
step 4.
If you wish to select all files, select “Select All” in step 4. To
unselect all, select “Unselect All”.
70 My Items
Games & Applications
For details on Vodafone specific applications, see “Games &
Applications” on page 71.
Text Templates
You can register up to 50 text templates for use in text messages and
multimedia messages. A maximum of 256 characters can be used
for a single text template.
Adding Phrases to Text Templates
“My Items”
“Text Templates”
“Add New Template”
1. Enter the text and press .
Editing Text Templates
“My Items”
“Text Templates”
1. Highlight the text template you wish to edit.
2. Press [Options] and select “Edit”.
To view the text template, press [Options] and select “View”.
To delete the text template, press [Options] and select “Delete”.
3. Modify the text and press .
Sending Text Templates
“My Items”
“Text Templates”
1. Highlight the text template you wish to send.
2. Press [Options] and select “Send Template”.
Memory Status
This function helps you to check the memory status of the handset
memory or memory card. Memory status covers the following.
Handset Memory: Applications, Pictures, Videos, Sounds,
Others, Total and Free
Memory Card: Pictures, Videos, Sounds, Others, Total and
Free
“My Items”
“Memory Status”
1. Select “Handset Memory” or “Memory Card”.
(M 6-3)
(M 6-5)
(M 6-7)
Entertainment 71
Entertainment
Games & Applications
Using Applications
Various kinds of Vodafone specific applications can be used on this
phone. To use applications, download the applications via the mobile
Internet. Some applications offer the ability to connect to a network
either within a game or a network based application.
Note
Applications may be both localised (no connectivity) and network
based (using the mobile Internet to update information/play
games). The network may charge you more for using network-
based applications. Please contact your service provider for more
information.
Downloading Applications
“Entertainment”
“Games & Applications”
“Games & Applications”
“More Games”
1. Select the desired application.
Before downloading the application you are asked to confirm
what you are about to receive. After checking the information on
the confirmation screen, the application can be downloaded.
2. Press to start downloading.
3. Press when finished.
Note
User authentication may be required before downloading the
application on some information screens.
Executing Applications
“Entertainment”
“Games & Applications”
“Games &
Applications”
1. Select the title of the application you wish to execute.
The selected application is executed. When using network
connection type applications, connection to the network can be
selected.
2. To end the application, press F and select “End”.
Setting as a Screensaver for the Main Display
“Entertainment”
“Games & Applications”
“Games &
Applications”
1. Highlight the file you wish to use as a screensaver.
2. Press [Options] and select “Set as Screensaver”.
(M 1)
(M 1-1)
(M 1-1-1)
72 Entertainment
Setting Permission
You can set permission for selected Java™ applications.
“Entertainment”
“Games & Applications”
“Games & Applications”
1. Highlight the desired Java™ application.
2. Press [Options] and select “Permission”.
3. Select one of the following options:
“Phone Call”: Sets permission to make voice calls.
“Network Access”: Sets permission to access the network.
“Messaging”: Sets permission to perform MMS and
SMS messaging.
“Autorun”: Sets permission to perform the Autorun
function.
“Local Connection”: Sets permission to connect to local
devices.
“Read User Data”: Sets permission to read user data, such
as Contacts List entries, mailbox (Inbox)
and My Items data.
“Write User Data”: Sets permission to write entries in your
phone, such as Contacts List entries,
mailbox (Inbox) and My Items data.
“Use Multimedia”: Sets permission to use the multimedia
recording.
“Location Access”: Sets permission to update the
positioning function.
4. Select one of the following options:
“Session”: The confirmation message is not
displayed until you exit the application,
while execution of the API of the
specified function group is authorised.
“Ask Once”: The confirmation message is displayed
every time the API of the specified
function group is executed.
“Blanket”: The confirmation message is not
displayed until the application is deleted
or you change the settings, while
execution of the API of the specified
function group is authorised.
“No”: Execution of the API of the specified
function group is not authorised.
Note
To clear all the permission settings, select “Reset” in step 3.
All permissions are not available for all Java™ applications.
Entertainment 73
Viewing Application Information
You can check the information of Java™ applications.
“Entertainment”
“Games & Applications”
“Games &
Applications”
1. Highlight the desired Java™ application.
2. Press [Options] and select “Information”.
Deleting an Application
You can delete an application from the handset memory.
“Entertainment”
“Games & Applications”
“Games &
Applications”
1. Highlight the desired Java™ application.
2. Press [Options] and select “Delete”.
Settings
Application Volume
You can set the volume of the application such as the sound effect to
one of the five levels or silent. When “Volume” (p. 92) is set to
“Silent”, this setup has priority.
“Entertainment”
“Games & Applications”
“Settings”
“Application Volume”
1. Press a (or d) to increase the volume or press b (or c) to
decrease the volume and then press .
Backlight
“Entertainment”
“Games & Applications”
“Settings”
“Backlight”
“Switch On/Off
1. Select from “Always On”, “Always Off” or “Normal Settings”.
“Always On”: Lit while the application is operated.
“Always Off”: Unlit while the application is operated even
if a key is pressed.
“Normal Settings”: Works with the main backlight setting
(p. 97).
To Set the Blinking Operation
This setting enables the backlight to be controlled by the application.
If set to “Off”, the backlight cannot be turned on from the application.
“Entertainment”
“Games & Applications”
“Settings”
“Backlight”
“Blink”
1. Select “On” or “Off”.
(M 1-1-2)
74 Entertainment
Vibration
When the vibrator is set in the application, you can choose whether
the operation is enabled or disabled.
When a SMAF file is specified in the application, you can operate the
vibrator set in the SMAF file.
Note
SMAF (Synthetic music Mobile Application Format) is a music data
format for mobile phones.
“Entertainment”
“Games & Applications”
“Settings”
“Vibration”
1. Select from “On”, “Link to Sound” or “Off”.
When you set “Link to Sound”, the vibration is synchronised with
the sound of the SMAF file in the application.
Calls & Alarms
You can set the priority of incoming calls and alarms while an
application is operating.
“Entertainment”
“Games & Applications”
“Settings”
“Calls & Alarms”
1. Select “Voice Call”, “Video Call”, “Incoming Message” or
“Alarm”.
2. Select the desired method.
“Call Priority”, “Message Priority” or “Alarm Priority”:
The application is suspended automatically, and you can receive a
call or a message, or the alarm will sound. After finishing the call
or the message, or the alarm ends, the suspend indicator ( ) is
displayed letting you know there is a suspended application.
“Call Notice”, “Message Notice” or “Alarm Notice”:
The marquee (character scrolls) is displayed on the first line of the
screen while the application continues. If you press D, the
application is suspended, and you can receive a call or a message.
After finishing the call or the message, the suspend indicator ( )
is displayed letting you know there is a suspended application.
Screensavers
You can download screensaver applications for the standby screen
and set the time period for the screensaver to activate.
“Entertainment”
“Games & Applications”
“Settings
“Screensavers”
“Switch On/Off”
1. Select “On” or “Off”.
To Set the Activation Time
“Entertainment”
“Games & Applications”
“Settings”
“Screensavers”
“Activation Time”
1. Enter the activation time in two digits using the keypad.
Entertainment 75
To Set the Suspend Time
“Entertainment”
“Games & Applications”
“Settings”
“Screensavers”
“Suspend Time”
1. Set the desired time period from “after 15 min.” to “after 6
hours”.
Default Settings
“Entertainment”
“Games & Applications”
“Settings”
“Set to Default”
1. Enter your handset code.
Clearing All Memory
“Entertainment”
“Games & Applications”
“Settings”
“Memory All Clear”
1. Enter your handset code.
Java™ Information
“Entertainment”
“Games & Applications”
“Java
Information”
The information about the licences belonging to Java™ is displayed.
TV & Video
Playing Back Video Clip Files
“Entertainment”
“TV & Video”
“My Videos”
1. Select “Handset Memory” or “Memory Card”.
2. Select the desired file.
To pause playback, press .
To stop playback, press [Back].
Tip
You can control the Video Player by using the following keys:
a/b: Increases or decreases the volume.
b (press and hold): Mutes.
d: Jumps to the next file.
c: Returns to the top portion of the current file.
d (press and hold): Fast-forwards.
c (press and hold): Rewinds.
Searching a File to Be Played Back
“Entertainment”
“TV & Video”
“My Videos”
1. Select “Handset Memory” or “Memory Card”.
2. Select “All Videos” or the desired playlist.
3. Press [Options] and select “Search”.
4. Enter the first few letters of the title.
Search results are displayed in alphabetical order and the
matching file is highlighted.
(M 1-1-3)
(M 1-2)
(M 1-2-3)
76 Entertainment
Adding a File to the Playlist
You can create a playlist registering desired files.
“Entertainment”
“TV & Video”
“My Videos
1. Select “Handset Memory” or “Memory Card”.
2. Select “All Videos” or the desired playlist.
3. Highlight the file you wish to add to the playlist.
4. Press [Options] and select “Add to Playlist”.
The playlists are displayed. For details on creating a playlist, see
“Adding a New Playlist”.
5. Select the desired folder.
6. Press .
The file highlighted in step 3 is saved.
To delete files from the playlist, highlight the file and press
[Options]. Then select “Delete from Playlist”.
Adding a New Playlist
“Entertainment”
“TV & Video”
“My Videos
1. Select “Handset Memory” or “Memory Card”.
2. Press [Options] and select “Add New Playlist”.
3. Enter the desired playlist name.
4. Press .
Editing the Video Clip File
“Entertainment”
“TV & Video
“My Videos”
1. Select “Handset Memory” or “Memory Card”.
2. Select “All Videos” or the desired playlist.
3. Select the file you wish to edit.
4. Press [Options] and select “Edit”.
5. Select the desired option.
“Crop”: Select the desired area to be cropped.
“Subtitle”: Create a subtitle to add to the file.
Entertainment 77
Settings
You can select a play mode for “Playback Pattern”, “Backlight” and
“Display Size” when playing back video clip files.
“Entertainment”
“TV & Video”
“My Videos”
1. Select “Handset Memory” or “Memory Card”.
2. Select “All Videos” or the desired playlist.
3. Select the file for which you wish to adjust the play mode.
4. Press [Options] and select “Settings”.
5. Select from “Playback Pattern”, “Backlight” or “Display Size”.
6. Select from the following:
“Playback Pattern”
“Normal”: Plays back all files in the selected folder
once and stops playback.
“Repeat”: Continues playback in the selected
folder.
“Repeat All”: Plays back all files in the selected folder.
“Random”: Plays back files in the selected folder at
random.
• “Backlight”
“Always On”: Lit while the file is played back.
“Always Off”: Unlit while the file is played back even if
a key is pressed.
“Default Settings”: Works with the main backlight setting
(p. 97).
•“Display Size
“Original Size”: Displays the file in its original size.
“Enlarge”: Displays the file in an enlarged size.
“Full Screen”: Displays the file on the full screen.
SD VIDEO
Video clips that are recorded by a video camera or downloaded from
mobile Internet sites can also be managed with SD VIDEO.
“Entertainment”
“TV & Video”
“SD VIDEO”
1. Select the desired file.
To pause playback, press .
To stop playback, press C.
To delete files from the playlist, highlight the playlist, press
[Options] and select “Delete”.
Playing Back the Video Clip Files
To Play Back the Last File
“Entertainment”
“TV & Video”
“Last Played Video”
(M 1-2-4)
(M 1-2-1)
78 Entertainment
Streaming
You can play back video clip files while downloading them from the
mobile network.
You can also register the address of the Web site as a bookmark.
“Entertainment”
“TV & Video”
“Mobile TV”
1. Select from “Last Played Streaming”, “Enter URL”,
“Favourites” or “Access Log”.
“Last Played Streaming”:
Shows the last streaming file.
“Enter URL”: Enter the desired address of the Web site. The
browser opens, starts downloading and plays
back.
“Favourites”: The address of the Web site is registered.
“Access Log”: Shows the logs of the Web site you accessed.
From the log you can start streaming.
Organiser & Tools 79
Organiser & Tools
Calendar
Calendar allows you to easily schedule appointments or events at any
given date or time.
These entries can also be sent via Infrared or Bluetooth wireless
technology to a PC to share the same schedules. When you exchange
entries with other devices, the date and time displayed may be
different to that of the original data depending on the data format of
the receiving device.
Creating a New Entry
“Organiser & Tools”
“Calendar”
1. Select the desired day to which you want to add an event.
2. Select “Add New Entry”.
3. Enter the subject.
4. Enter the location.
5. Select the desired category.
6. Enter the start date and then enter the start time.
7. Select the duration.
When selecting “Other”, enter the desired reminder date and
time.
8. Select the reminder time.
When selecting “Other”, enter the desired reminder date and
time.
9. Press [Save].
Note
If the date and time settings have not been entered, the date and
time entry screen is displayed (p. 98).
The reminder will not sound when “Volume” (p. 92) is set to
“Silent”.
To Change the Type of the Reminder Tone or Video
1. On the New Entry screen, select “Reminder”.
2. Select “Assign Tone/Video”.
3. Select “Assign Tone” and then select “Preset Sounds” or “My
Sounds”, or select “Assign Video”.
4. Select the desired sound or video clip file.
For details on selecting a tone, see “Assigning a Ringtone” on
page 92.
(M 7)
(M 7-1)
80 Organiser & Tools
To Change the Duration of the Reminder Tone or Video
1. On the New Entry screen, select “Reminder”.
2. Select “Duration”.
3. Select the time period.
When you select “Other”, you can enter the desired time in two
digits using the keypad.
To Change the Repeat Option of the Reminder
1. On the New Entry screen, select “Repeat”.
2. Select the desired repeat option.
To Enter the Description
1. On the New Entry screen, select “Description”.
2. Enter a memo for the schedule entry.
To Make the Entry Secret
1. On the New Entry screen, select “Secret”.
2. Select “On” to make the data secret or select “Off” to leave it
as it is.
Viewing a Schedule Entry
“Organiser & Tools”
“Calendar”
1. Select the day you wish to view.
To Search By Date
1. In any view, press [Options] and select “Go to”.
2. Select “Today” to display today or “Enter Date” to enter the
desired date.
Tip
In the monthly or weekly view, you can control the view by using
the following:
Monthly view
P: Displays the previous month.
R: Displays the next month.
Q: Displays the weekly view.
K: Moves the cursor to today.
c/d: Moves the cursor to left (the previous day) or to right
(the next day).
a/b: Moves the cursor upward (last week) or downward
(next week).
Weekly view
P: Displays the previous week.
R: Displays the next week.
Q: Displays the monthly view.
K: Moves the cursor to today.
c/d: Moves the cursor to left (the previous day) or to right
(the next day).
a/b: Moves the weekly view up or down (the previous hour
or next hour).
Organiser & Tools 81
Editing a Schedule Entry
“Organiser & Tools”
“Calendar”
1. Select the day you wish to edit.
2. Press [Options] and select “Edit”.
3. Select the desired item and modify the entry.
4. Press [Save].
Deleting Schedule Entries
1. In any view, press [Options] and select “Delete”.
2. Select the desired option.
“This Appointment” (daily view):
Deletes the selected entry.
“All This Day”: Deletes all entries for the selected day.
“All This Week” (weekly view):
Deletes all entries for the selected week.
“Up to Last Week” (weekly view):
Deletes all entries before this week.
“All This Month” (monthly view):
Deletes all entries for the selected month.
“Up to Last Month” (monthly view):
Deletes all entries before this month.
“All Appointments” (weekly and monthly view):
Deletes all entries in this application.
Sending a Schedule Entry
“Organiser & Tools”
“Calendar”
1. Select the day including schedule entries you wish to send.
2. Press [Options] and select “Send”.
3. Select “As Message”, “Via Bluetooth” or “Via Infrared”.
For “Via Bluetooth”
For details, see “Bluetooth” on page 109.
For “Via Infrared”
For details, see “Infrared” on page 111.
Note
When pairing, you need to enter your passcode when establishing
contact with a Bluetooth wireless technology enabled device for the
first time.
Receiving a Schedule Entry
When the phone receives a schedule entry, a confirmation message
is displayed in standby.
1. Press [Yes].
The received entry is saved in the Calendar.
Press [No] to reject.
Tip
For details on entering Infrared or Bluetooth wireless settings, see
“Connectivity” on page 109.
82 Organiser & Tools
Viewing the Memory Status
1. In any view, press [Options] and select “Memory Status”.
Alarms
Setting the Alarms
The alarm function allows you to be alerted at a specified time.
Note that you need to set the current date and time before setting the
alarm function if it has not been done already.
Note
The alarm will not ring when “Volume” (p. 92) is set to “Silent”.
“Organiser & Tools”
“Alarms”
1. Select the blank setting.
2. Enter the desired time.
3. Press [Save].
To Change the Type of Repeat Options
1. On the Set Alarm screen, select “Repeat”.
2. Select from “Once Only”, “Every Day” or “Selected Days”.
“Once Only”: The alarm sounds once only.
“Every Day”: The alarm sounds every day at the specified
time.
“Selected Days”: The alarm sounds on the selected day of the
week at the specified time.
To Change the Type of Alarm Tone or Video Clip File
1. On the Set Alarm screen, select “Assign Tone/Video”.
2. Select “Assign Tone” and then select “Preset Sounds” or “My
Sounds”, or select “Assign Video”.
3. Select the desired tone or video clip file.
For details on selecting a tone, see “Assigning a Ringtone” on
page 92.
To Change the Snooze of the Alarm Tone
1. On the Set Alarm screen, select “Snooze”.
2. Select the desired snooze option.
To Change the Alarm Volume
1. On the Set Alarm screen, select “Alarm Volume”.
2. Press a (or d) to increase the volume or press b (or c) to
decrease the volume.
(M 7-2)
Organiser & Tools 83
To Change the Vibration of Alarm Tone
1. On the Set Alarm screen, select “Vibration”.
2. Select “On”, “Link to Sound” or “Off”.
For details on selecting a vibration, see “Vibration” on page 94.
To Change the Duration of the Alarm Tone
1. On the Set Alarm screen, select “Duration”.
2. Select the desired duration.
Resetting an Alarm Setting
“Organiser & Tools”
“Alarms”
1. Highlight the alarm you wish to reset.
2. Press [Options] and select “Reset Alarm”.
Resetting All Alarm Settings
“Organiser & Tools”
“Alarms”
“Clear All”
1. Press [Yes] or [No].
Calculator
The calculator function performs the 4 arithmetic calculations using
up to 12 digits.
“Organiser & Tools”
“Calculator”
Key operations for calculation are as follows:
To enter a decimal point, press P.
To clear the entered number or function, press U.
To do the calculations, press .
To start a new calculation, press U.
Rate Conversion
You can also use the calculator as a currency calculator to convert
from/to a home currency using a conversion rate that you enter.
(M 7-3)
84 Organiser & Tools
To Set a Currency Conversion Rate
“Organiser & Tools”
“Calculator”
[Options]
“Currency Converter”
“Exchange Rate”
1. Select “Domestic” or “Foreign”.
2. Enter the currency conversion rate.
To Convert a Value
“Organiser & Tools”
“Calculator”
1. Enter the value to be converted.
2. Press [Options] and select “Currency Converter”.
3. Select “Convert to Domestic” or “Convert to Foreign”.
Voice Recorder
This allows you to record a voice clip, which can be used to remind
you of schedule entries or be sent within a multimedia message. The
recorded voice clip is saved in Saved Sounds. Voice clips are saved
in .amr format.
Recording a Voice Clip
“Organiser & Tools”
“Voice Recorder”
1. Press to start recording.
To stop recording before the recording time is over, press .
2. Select “Save” to save the voice clip.
Note
Press a (or V) or b (or W) to adjust the sound volume when
playing back the recorded file.
Sending Voice Clips
“Organiser & Tools”
“Voice Recorder”
1. Press to start recording.
2. Press to stop recording.
3. Select “Save and Send”.
4. Select “As Message”.
For details on creating a message, see “Creating a New
Message” on page 49.
Selecting the Record Time
“Organiser & Tools”
“Voice Recorder”
[Options]
“Record Time”
1. Select “For Message” or “Extended Voice”.
When selecting “Extended Voice”, voice clips are automatically
saved to a memory card.
Selecting Storage Memory
“Organiser & Tools”
“Voice Recorder”
[Options]
“Save New Sounds”
1. Select the desired location.
When selecting “Choose bef. Saving”, you can select the location
when saving a voice clip.
(M 7-4)
Organiser & Tools 85
Scanner
With the built-in digital camera, you can read texts and barcodes in
Jan format and QR codes, and create QR codes. The scanned data
can be saved as a Contacts List entry, URL, Email address and text.
Note
When scanning does not take place, it may be due to one of the
following reasons: type or size of barcode, scratches, dirt, damage,
print quality, light reflection, etc.
Reading Barcodes
“Organiser & Tools”
“Scanner”
“Scan Barcode”
1. Display the barcode using the external camera.
2. Press .
3. Select the desired option.
The options vary depending on the scanned data.
“Open Link”: The browser opens the URL.
“Copy URL”: The URL is copied.
“Send Message”: The result is sent as SMS or MMS.
“Copy”: The result is copied.
To Use the Continuous Scanning
1. In scanning mode, press [Options] and select “Continuous
Scan” to turn on.
Opening a Barcode Picture
“Organiser & Tools”
“Scanner”
“Open Barcode”
1. Select the desired picture data for barcode.
Press to save.
Viewing the Scanned Data
“Organiser & Tools”
“Scanner”
“Scanned Results”
1. Highlight the data you wish to view, then press .
2. Enter the desired text or select the desired data, then press
.
3. Press to save .
Creating QR Codes
“Organiser & Tools”
“Scanner”
“Create QR Code”
1. Select the desired option.
“Text Input”: Create a QR code using the text you enter.
“My Items”: Create a QR code using the My Items data.
2. Enter the desired text or select the desired data, then press
.
3. Press to save.
Tip
The QR code is saved in a PNG format file.
(M 7-5)
86 Organiser & Tools
Scanning Text
“Organiser & Tools”
“Scanner”
“Scan Text”
1. Display text using the camera.
2. When the bar under the scanned text is blue, press .
3. Press a or b to select the desired text, then press .
4. Press [Options] and select the desired option.
“OK”: The scanned result is in the text entry
screen.
“Select/Edit”: The scanned result can be modified.
“Change Mode”: The scanned result can be converted to a
web address, mail address, phone number
or to roman text.
To Use Reversed Text
1. In scanning mode, press [Options] and select “Reversed Text”.
2. Select the desired option from “Auto”, “Normal” or
“Reversed”.
E-Book
This function allows you to view E-Book files (XMDF or Text files)
stored in a memory card.
“Organiser & Tools”
“E-Book”
1. Select the desired file.
To search in a dictionary, select a dictionary, press and enter
the keyword on the search screen.
2. Press to view.
To scroll the screen up and down (to previous or new line), press
a or b. To jump to the previous or the following pages, press
c or d.
3. Press F when finished.
Tip
When a call arrives while the viewer is on or when you exit an
E-Book, “Auto Bookmark 1” is automatically added on the last
page you have viewed. The page with the bookmark automatically
opens when you select the file the next time. The new bookmark is
now “Auto Bookmark 1”, turning the previous bookmark to “Auto
Bookmark 2”.
Adding a Bookmark
You can add up to two bookmarks to each E-Book file.
“Organiser & Tools”
“E-Book”
1. Select the desired file.
2. Press [Options] and select “Bookmark”.
3. Select “Bookmark 1” or “Bookmark 2”.
(M 7-6)
Organiser & Tools 87
Note
E-Book files cannot be viewed while “Music” or “Games &
Applications” is in use.
If you remove the memory card while the E-Book is in use, a
confirmation message appears and your phone returns to standby.
Stopwatch
You can store 4 lap times when using the stopwatch function.
“Organiser & Tools”
“Stopwatch”
1. Press to start.
Press [LAP] to view the lap time before the stopwatch stops. Last
4 lap times are saved.
2. Press to stop.
Tip
You can save a record of lap time and stop time in Text Templates
by pressing [Options] and selecting “Save to Templates”.
Resetting Time
1. After stopping the stopwatch, press [Options] and select
“Reset”.
Tasks
You can register your schedule as task entries for a given date or
time.
Creating a New Entry
“Organiser & Tools”
“Tasks”
1. Select “Add New Entry”.
2. Enter the subject.
3. Enter the due date and then due time.
4. Select the reminder time.
When selecting “Other”, enter the desired reminder date and
time.
5. Press [Save].
Note
If the date and time settings have not been entered, the date and
time entry screen is displayed (p. 98).
To Change the Type of Alarm Tone or Video Clip File
1. On the Reminder screen, select “Assign Tone/Video”.
2. Select “Assign Tone” and then select “Preset Sounds” or “My
Sounds”, or select “Assign Video”.
3. Select the desired tone or video clip file.
For details on selecting a tone, see “Assigning a Ringtone” on
page 92.
(M 7-7)
(M 7-8)
88 Organiser & Tools
To Change the Duration of Alarm Tone or Video
1. On the Reminder screen, select “Duration”.
2. Select the desired duration.
To Change the Description
1. On the New Entry screen, select “Description”.
2. Enter a memo for the task entry.
To Make the Entry Completed or Uncompleted
“Organiser & Tools”
“Tasks”
1. Highlight the desired entry.
2. Press .
3. On the view screen, press [Options] and select “Check”.
To make the entry uncompleted, select “Uncheck”.
To Make the Entry Secret
1. On the New Entry screen, select “Secret”.
2. Select “On” to make the data secret or select “Off” to leave it
as it is.
Sending a Task Entry
“Organiser & Tools”
“Tasks”
1. Highlight the task entry you wish to send.
2. Press [Options] and select “Send”.
3. Select “As Message”, “Via Bluetooth” or “Via Infrared”.
For “Via Bluetooth”
For details, see “Bluetooth” on page 109.
For “Via Infrared”
For details, see “Infrared” on page 111.
Note
When pairing, you need to enter your passcode when establishing
contact with a Bluetooth wireless technology enabled device for the
first time.
Viewing the Memory Status
“Organiser & Tools”
“Tasks”
1. Press [Options] and select “Memory Status”.
Deleting Entries
“Organiser & Tools”
“Tasks”
[Options]
“Delete”
1. Select the desired option.
“This Task”: Deletes the selected entry.
“All Completed Tasks”: Deletes all checked entries.
“All Tasks”: Deletes all entries.
Organiser & Tools 89
World Clock
Setting the Time Zone
“Organiser & Tools”
“World Clock”
1. Press [Edit] and select “Set Time Zone”.
The current time zone is indicated by red line on the world map.
2. Press c or d to change the time zone.
3. Press .
To Set the Custom Time Zone
“Organiser & Tools”
“World Clock”
1. Press [Edit] and select “Set Time Zone”.
2. Press [Options] and select “Set Custom Zone”.
3. Enter the desired city name and time.
Setting the Daylight Saving
“Organiser & Tools”
“World Clock”
1. Press [Edit] and select “Daylight Saving”.
2. Select “On” or “Off”.
Countdown Timer
“Organiser & Tools”
“Countdown Timer”
1. Enter the time to count.
You can set the time from 1 second to 60 minutes.
2. Press to start counting.
3. Press to pause.
Press again to continue counting.
4. If the countdown has finished, press [Cancel] and then press
to start the countdown again.
Editing the Countdown Time
1. In the countdown start screen, press [Options] and select
“Edit”.
2. Modify the desired time.
Expenses Memo
You can record an expenses memo with predefined or edited
categories.
Recording in the Expenses Memo
“Organiser & Tools”
“Expenses Memo”
“Add New
Expense”
1. Enter the expenses using the digit keys.
2. Select the desired category.
Expenses memo is registered.
(M 7-9)
(M 7-10)
(M 7-11)
(M 7-11-1)
90 Organiser & Tools
Viewing Totals
“Organiser & Tools”
“Expenses Memo”
“Totals”
Recorded expenses are displayed on the screen.
To Change Amount
1. In the total view, select the desired item.
2. Press [Options] and select “Change Amount”.
3. Enter the desired amount using the digit keys.
To Delete a Recorded Item or All Items
1. In the total view, select the desired item.
2. Press [Options] and select “Delete Item” or “Delete All”.
Editing the Category Name
“Organiser & Tools”
“Expenses Memo
“Edit Category”
1. Select the desired category name.
2. Modify the name.
Phone Help
You can view the help list and use it to guide you in the phone’s
functions.
“Organiser & Tools”
“Phone Help”
1. Press a or b.
(M 7-11-2)
(M 7-11-3)
(M 7-12)
SIM Application 91
SIM Application
You can refer to the information on the SIM/USIM. Contact your
service provider for further details.
(M 11)
92 Settings
Settings
Profiles
The ringtone, sound, vibration and light settings can be customised
for each profile according to your environment.
There are 6 profiles: “Normal”, “Meeting”, “Activity”, “Car”,
“Headset” and “Silent”.
Activating a Profile
“Settings”
“Profiles”
1. Select the desired profile.
Note
When a profile is set, the corresponding indicator described on
page 17 is displayed in standby.
Tip
In standby, press and hold R to switch Profiles between Silent
mode and the profile most recently activated.
Resetting Profile Settings
“Settings”
“Profiles”
1. Highlight the profile you wish to reset.
2. Press [Options] and select “Set to Default”.
3. Enter your handset code.
The default handset code is “9999”. For details on changing the
handset code, see “Changing the Handset Code” on page 106.
Volume
You can adjust the volume for incoming voice calls, SMS/MMS/Email
messages and other sounds (“General Volume”) to one of six levels,
or set an increasing volume for all of these except “General Volume”.
“Settings”
“Profiles”
1. Highlight the profile you wish to customise.
2. Press [Options] and select “Personalise”.
3. Select “Volume”.
4. Select “For Incoming Call”, “For New Message” or “General
Volume”.
5. Press a (or d) to increase the ringer volume or press b (or
c) to decrease the ringer volume and then press .
To select “Increasing Volume”, press a (or d) at level 5.
To select “Silent”, press b (or c) at level 1.
Tip
You can select from two levels or an increasing volume, when
selecting the “Silent” profile.
Assigning a Ringtone
You can select the ringtone from 28 tones including 5 patterns, 13
sound effects and 10 melodies. You can also select a sound in Saved
Sounds as the default ringtone, excluding the AMR or WAVE format.
“Settings”
“Profiles”
(M 12)
(M 12-1)
Settings 93
1. Highlight the profile you wish to customise.
2. Press [Options] and select “Personalise”.
3. Select “Ringtone/Ringvideos”.
4. Select “For Voice Call” or “For Video Call”.
5. Select “Assign Tone”.
6. Select “Preset Sounds” or “My Sounds”.
7. Highlight the ringtone you wish to use.
To hear the demo play, press [Options] and select “Play”.
8. Press [Options] and select “Assign”.
Note
Even if you delete a ringtone that uses a sound in Sounds &
Ringtones, the setting remains the same and the default ringtone
sounds. If you delete a ringtone assigned for the ringtone, the
default ringtone is set.
Assigning a Ring Video Clip File
You can select a video clip file in Saved Videos as the default ring
video clip file.
“Settings”
“Profiles”
1. Highlight the profile you wish to customise.
2. Press [Options] and select “Personalise”.
3. Select “Ringtone/Ringvideos”.
4. Select “For Voice Call” or “For Video Call”.
5. Select “Assign Video”.
6. Highlight the ring video clip file you wish to use.
To preview the file, press [Options] and select “Play”.
7. Press [Options] and select “Select”.
Message Notification
When receiving messages, your phone will notify you of their arrival
with the ringtone or ring video you specify.
“Settings”
“Profiles”
1. Highlight the profile you wish to customise.
2. Press [Options] and select “Personalise”.
3. Select “Ringtone/Ringvideos”.
4. Select “For New Message”.
5. Select “Assign Tone” or “Assign Video”.
If “Assign Tone” is selected, select “Preset Sounds” or “My
Sounds”.
6. Highlight the desired ringtone or ring video clip.
For details on selecting a ringtone or a ring video, see “Assigning
a Ringtone” on page 92 or “Assigning a Ring Video Clip File”.
7. Press [Options] and select “Assign” (for a ringtone) or “Select”
(for a video clip).
8. Select “For New Message” and select “Duration”.
9. Enter the desired duration.
94 Settings
Keypad Tones
When the keypad tone is set on, you will hear a confirmation tone
each time you press any keys.
“Settings”
“Profiles”
1. Highlight the profile you wish to customise.
2. Press [Options] and select “Personalise”.
3. Select “System Sounds”.
4. Select “Keypad Tones”.
5. Highlight the desired tone pattern.
6. Press [Options] and select “Assign”.
Warning Tone
“Settings”
“Profiles”
1. Highlight the profile you wish to customise.
2. Press [Options] and select “Personalise”.
3. Select “System Sounds”.
4. Select “Warning Tone”.
5. Select “Tone” or “Duration”.
For “Tone”, select “Off”, “Preset Sounds” or “My Sounds”.
For “Duration”, select the desired time between 0.5 and 2
seconds.
Power On Sound
“Settings”
“Profiles”
1. Highlight the profile you wish to customise.
2. Press [Options] and select “Personalise”.
3. Select “System Sounds”.
4. Select “Power On Sound”.
5. Select “Tone” or “Duration”.
For “Tone”, select “Off”, “Preset Sounds” or “My Sounds”.
Power Off Sound
“Settings”
“Profiles”
1. Highlight the profile you wish to customise.
2. Press [Options] and select “Personalise”.
3. Select “System Sounds”.
4. Select “Power Off Sound”.
5. Select “Tone” or “Duration”.
For “Tone”, select “Off”, “Preset Sounds” or “My Sounds”.
Vibration
“Settings”
“Profiles”
1. Highlight the profile you wish to customise.
2. Press [Options] and select “Personalise”.
3. Select “Vibration”.
4. Select “On”, “Link to Sound” or “Off”.
Tip
When the “Link to Sound” option is selected in step 4, the vibrator
synchronises with your selected melody to pulse in time with the
melody. Please note that not all melodies support the “Link to
Sound” option.
When you select “On” or “Link to Sound” in step 4, “ is
displayed in standby.
Settings 95
Event Light
When the light option is on, the mobile light turns on while the phone
receives a call or message.
“Settings”
“Profiles”
1. Highlight the profile you wish to customise.
2. Press [Options] and select “Personalise”.
3. Select “Event Light”.
4. Select “For Voice Call”, “For Video Call” or “For New
Message”.
5. Select “Switch On/Off”.
6. Select “On” or “Off”.
To Change the Light Colour
You can select from 7 colours for each profile.
1. In step 5 in “Event Light”, select “Light Colour”.
2. Select the desired colour.
Status Light
When the light option is on, the mobile light or small light turns on to
let you know when you have missed calls or unread messages.
“Settings”
“Profiles”
1. Highlight the profile you wish to customise.
2. Press [Options] and select “Personalise”.
3. Select “Status Light”.
4. Select “For Missed Call” or “For New Message”.
5. Select “On(Mobile Light)”, “On(Small Light)” or “Off”.
To Change the Light Colour
You can select from 7 colours when “Status Light” is set to
“On(Mobile Light)”.
1. In step 3 in “Status Light”, select “Light Colour”.
2. Select the desired colour.
Any Key Answer
You can answer a call by pressing any key except F, , U and
[Busy]. For details, see page 21.
“Settings”
“Profiles”
1. Highlight the profile you wish to customise.
2. Press [Options] and select “Personalise”.
3. Select “Any Key Answer”.
4. Select “On” or “Off”.
Setting the Display
You can change the settings of the display.
Setting the Wallpaper
For the standby screen, 5 pictures are provided.
Pictures taken with the digital camera or images downloaded from a
WAP site can be used for wallpapers.
(M 12-2)
(M 12-2-1)
96 Settings
To Set My Pictures
“Settings”
“Display Settings”
“Wallpaper”
1. Select “My Pictures”.
2. Select the desired picture.
3. After displaying the picture, press .
Note
Some pictures cannot be used because of their picture and data
types.
If the picture in My Pictures is already set, it is displayed in step 1.
Press [Change] and select the desired picture.
System Graphics
Pictures can be displayed when turning the power on or off, when
receiving an incoming call, or when operating the alarm.
Pictures taken with the digital camera or images downloaded from a
WAP site can be used.
To Use Preset Animation/Pattern
“Settings”
“Display Settings”
“System Graphics”
1. Select the desired scene to set the picture to.
2. Select “Preset Animation” when you select “Power On” or
“Power Off” in step 1.
Select “Pattern 1”, “Pattern 2” or “Pattern 3” when you select
“Incoming Call” or “Alarm” in step 1.
To Set My Pictures
“Settings”
“Display Settings”
“System Graphics”
1. Select the desired scene to set the picture to.
2. Select “My Pictures”.
3. Select the desired picture.
4. After displaying the picture, press .
5. Specify the area you wish to display using the navigation keys.
Note
Some pictures cannot be used because of their picture and data
types.
If the picture in My Pictures is already set, it is displayed in step 2.
Press [Change] and select the desired picture.
Setting the Font Weight
“Settings”
“Display Settings”
“Font Settings”
1. Select “Thin”, “Normal”, “Bold” or “Bolder”.
The preview image is displayed in the selected weight.
Setting the Greeting Message
You can set the message which is displayed when the phone is
turned on.
“Settings”
“Display Settings”
“Greeting Message”
“Switch On/Off”
1. Select “On” or “Off”.
2. Select “Edit Message” and enter the message (up to 10
characters).
(M 12-2-2)
(M 12-2-3)
(M 12-2-4)
Settings 97
Backlight
The backlight will shut off if you do not press the keypad for a certain
length of time. You can specify a desired time to elapse before the
backlight shuts off, which will help conserve battery life.
Tip
When you purchase this phone, Backlight is set to 15 seconds.
To Select the Backlight Time Out
“Settings”
“Display Settings”
“Backlight”
“Time Out”
1. Select the desired time.
Select “Off” to shut it off.
To Adjust the Brightness of the Backlight
“Settings”
“Display Settings”
“Backlight”
“Brightness”
1. Press a (Light) and b (Dark) to switch between 4 levels of
clarity.
2. Press .
Setting the Display Saving
The screen of this phone will automatically turn off after a given
amount of time. You can change the length of time before the Display
Saving goes into effect, which will help conserve battery life.
“Settings”
“Display Settings”
“Display Saving”
1. Select the desired time.
When you purchase this phone, Display Saving is set to 2
minutes.
Note
Display Saving does not work while you are making a call, using
WAP, or using an application.
To cancel the Display Saving: The display saving continues until
either a key is pressed or there is an incoming alert. The first key
press only cancels this function. You must press another key in
order to enter any numerical or text value.
Setting Video Out
With the optional cable, you can connect your phone to other device,
such as TVs or videos set to output, and display images or video clips
stored on your phone. It is also possible to output and display data
stored in the memory card.
To Set Output Function On
You need to connect your phone to the other device with the optional
cable beforehand.
“Settings”
“Display Settings”
“Video Output”
“Switch On/Off
1. Select “On”.
Select “Off” on the Output screen when finished.
Note
When closing your phone, you cannot output data to the connected
device.
It is not possible to output some images or video clips.
(M 12-2-5)
(M 12-2-6)
(M 12-2-7)
98 Settings
To Select Display Size
You can display images in enlarged size.
“Settings”
“Display Settings”
“Video Output”
“Display Size”
1. Select “Enlarge”.
To display in original size, select “Original Size”.
To Rotate Image
“Settings”
“Display Settings”
“Video Output”
“Rotate Image”
1. Select the desired item.
The image displayed on the device will rotate until the selected
degree.
To Select TV System
You need to select the appropriate TV system. Refer to the instruction
manual of your connected device to confirm the TV system.
“Settings”
“Display Settings”
“Video Output”
“TV
System”
1. Select the desired item.
Sound Settings
You can use this menu to check or edit the current Profiles settings
(except “Any Key Answer”).
Setting the Surround Sound
“Settings”
“Sound Settings”
“Surround”
1. Select from “On”, “Link to Sound” or “Off”.
Date & Time
You need to set the correct time and date in order for your phone’s
various time-based functions to work correctly.
“Settings”
“Date & Time”
“Set Date/Time”
1. Enter the day, month and year using the digit keys.
2. Enter the time using the digit keys.
Tip
When you enter the time in the 12-hour format, press a or b
to switch between am and pm. The order in which the date and
time is displayed is based on the format setting.
Setting the Daylight Saving
“Settings”
“Date & Time”
“Daylight Saving”
1. Select “On” or “Off”.
Setting the Time Zone
“Settings”
“Date & Time”
“Set Time Zone”
1. Press c or d to select the home city to set.
2. Press .
(M 12-3)
(M 12-4)
(M 12-4-2)
(M 12-4-3)
Settings 99
Customising the Time Zone
“Settings”
“Date & Time”
“Set Time Zone”
[Options]
“Set Custom Zone”
1. Enter the city name.
2. Enter the time-zone differences using the digit keys.
Press a or b to switch between and +.
3. Press .
Display Date & Time
You can display the calendar or the current date and/or time in
standby.
To Set the Clock Display
“Settings”
“Date & Time”
“Display Date & Time”
“Show Clock”
1. Select the desired clock type or “Off” to set clock display off.
To Set the Calendar Display
“Settings”
“Date & Time”
“Display Date & Time”
“Show Calendar
1. Select the desired calendar type or “Off” to set calendar
display off.
World Clock
For details, see page 89.
Selecting the Time Format
“Settings”
“Date & Time”
“Time Format”
1. Select “24 Hour” or “12 Hour”.
Selecting the Date Format
“Settings”
“Date & Time”
“Date Format”
1. Select from “D.M.Y”, “M-D-Y” or “Y/M/D”.
Setting the Calendar Format
“Settings”
“Date & Time”
“Calendar Format”
1. Select “Sunday-Saturday” or “Monday-Sunday”.
Language Setting
You can change the language displayed on the phone.
“Settings”
“Language”
1. Select the desired language.
Tip
You can also change the input language on the text entry screen
(p. 29).
Note
If you select “Automatic” in step 1, the language preset on the SIM/
USIM card is selected.
If the language preset on the SIM/USIM card is not supported, then
the default language of the phone is selected.
(M 12-4-4)
(M 12-4-5)
(M 12-4-6)
(M 12-4-7)
(M 12-4-8)
(M 12-5)

Navigation menu