Uniden America UT655 VHF Fixed Mounted Marine Transceiver User Manual Part 3
Uniden America Corporation VHF Fixed Mounted Marine Transceiver Part 3
Contents
- 1. User Manual Part 1
- 2. User Manual Part 2
- 3. User Manual Part 3
- 4. User Manual Part 4
User Manual Part 3

VHF490 FIXED-MOUNT MARINE RADIO
MODEL 18114496
Owner’s Manual

MAKING A DISTRESS CALL
Lift the red cover. Press and hold the DISTRESS button for three seconds. Your radio transmits your boat’s location every few minutes
until you receive a response.
NOTE: If the radio displays Enter User MMSI, cancel the automatic distress call and make a normal voice distress call.
Making a Voice Distress Call
Speak Slowly — Clearly — Calmly.
For future reference, write your boat’s name & call sign here:
1. Make sure your radio is on.
2. On the microphone, press the 16/9-TRI button to switch to Channel 16 (156.8 MHz). (If the corner of the display does not show
16, press the 16/9-TRI button again until it does.)
3. Press the PUSH TO TALK button on the microphone and say: MAYDAY –
MAYDAY – MAYDAY.”
4. Say “THIS IS {name or call sign of your boat}.”
5. Say “MAYDAY {name or call sign of your boat}.”
6. Tell where you are: (what navigational aids or landmarks are near, or read the latitude and longitude from your GPS).
7. State the nature of your distress, e.g. are you sinking, medical emergency, man overboard, on fire, adrift, etc.
8. Give number of persons aboard and conditions of any injured persons.
9. Estimate present seaworthiness of your ship (e.g. how immediate is the danger due to flooding or fire or proximity to shore).
10. Briefly describe your ship (length, type, color, hull).
11. Say: “I WILL BE LISTENING ON CHANNEL 16.”
12. End message by saying “THIS IS {name or call sign of your boat}, OVER.”
13. Release the PUSH TO TALK button and listen.
If you do not get an answer after 30 seconds, repeat your call, beginning at step 3, above.
Lift the red cover
and press the
DISTRESS button.
TABLE OF CONTENTS
Making a Voice Distress Call Inside Front Cover
Introduction 1
Features 1
Explanation of Terms 1
Getting Started 1
What’s Included 1
Parts of the Radio 2
Parts of the Microphone 3
Turning on the Radio 3
Setting the UIC Channel Mode (USA/CAN/INT) 3
How It Works 4
Normal Mode Operation 4
Scan Mode 6
Weather Mode 7
Using Your Radio 8
Using Your Radio 9
Making a Voice MAYDAY Call 9
Setting the Volume 9
Setting the Squelch Level 9
Changing the Channel 9
Making a Transmission 9
Boosting the Transmission Power 10
Choosing Triple Watch or Dual Watch 10
Using FIPS Codes for Weather Alerts 10
Changing Display and Sound Options 11
Setting the GPS Position Manually 11
Using Digital Selective Calling (DSC) Features 12
What is DSC? 12
Advanced DSC Features 12
What is an MMSI Number? 13
Entering MMSI Numbers 13
Using the Directory 14
Making DSC Calls 15
Making an Automatic Distress Call 17
Receiving a DSC Call 17
Test Calls 18
Position Request and Reply 20
Putting the Radio into Standby 21
Disabling Automatic Channel Switching 22
Renaming Channels 22
Installing the Hardware 23
Mounting the Radio 23
Connecting the Radio 24
Connecting the Accessory Cable 24
Connecting to a GPS Receiver 25
Connecting to a Chartplotter 26
Connecting to an External Speaker 26
Maintenance and Troubleshooting 26
Engine Noise Suppression 27
Specications 28
Radio Specifications 28
Reference Tables 29
Channel Descriptions and What They Mean 29
Marine Radio Channel Chart 30
Weather Channels and Frequencies (US, CAN, and INT) 32
Emergency Alert System (SAME) Information 32
No Response Event Code 34
NMEA Operation 34
NMEA Input 34
NMEA Output 35
Regulations and Safety Warnings 36
Three Year Limited Warranty 37
Notes 40

INTRODUCTION
Features
•
Waterproof Radio
Complies with IPX4 waterproof standards, which means the radio is resistant to damage from rain or splash-
ing water.
• Large, dot matrix display
• Advanced DSC Class D functions, including Test Calling
• Channel select buttons on the microphone
•
Memory scan mode
Lets you save channels to memory and monitor them in quick succession.
•
Transmitter Power Level Select
Lets you boost the transmitter power from 1 watt to 25 watts for added transmission distance.
•
Battery level display and tone
Sounds an alert tone if the battery voltage goes too high or too low.
•
Triple Watch Operation
Checks the Coast Guard Distress/Hailing channels 16 and 9 in the background.
• All marine VHF channels for the U.S., Canada, and international waters
•
National Oceanic and Atmospheric Administration (NOAA) weather channel watch
Sounds a warning tone when a hazard alert is
issued for your area.
Explanation of Terms
Term What it Means
DSC Digital Selective Calling. A VHF radio standard for communicating among boats and sending automated distress calls.
FIPS Federal Information Processing Standard. A set of location codes roughly equivalent to your county codes.
WX Weather Radio
GPS Global Positioning System
NMEA National Marine Electronics Association. The organization that governs standards for electronic equipment used on
boats. NMEA 0183 is the standard for serial data communication used by GPS.
MMSI Maritime Mobile Service Identity number. A unique, nine-digit number that identifies you and your boat when making
DSC calls. It is also used by the Coast Guard if you send an automated distress call.
Station Any DSC radio, whether it’s operated on a boat, at a marina, or by a shore station.
GETTING STARTED
What’s Included
VHF490 Marine Radio
VHF490 RADIO 1-800-BOATING
1

Mounting Bracket and Knobs
Microphone Mounting Hanger and
Mounting Hardware
Mounting Hardware
DC Power Cable Accessory Cable
Parts of the Radio
SQUELCH knob
(turn clockwise
to decrease
channel noise)
16/9-TRI
(triple/dual-watch)
button
CLR-SCAN
(channel
scan) button
WX-MEM
button
CALL-MENU
button DISTRESS
button with
cover
LCD
display
ENT- 1W/25W
button
VOLUME-PWR (power)
knob (turn clockwise to
increase volume)
CHANNEL UP /
CHANNEL DOWN
buttons
Button Press to... Press and hold to...
ENT-1W/25W Choose an option on a menu or to display the GPS data. Change the transmit power (see page 10).
Channel Up Move up one channel at a time. Move quickly up the channels.
Channel Down Move down one channet at a time. Move quickly down the channels.
16/9-TRI
1st press: Go to Channel 16.
2nd press: Go to Channel 9.
3rd press: Go back to the original channel.
Go into Triple Watch or Dual Watch mode (see page 10).
CLR-SCAN Go to previous menu or cursor position in menu mode. Start scanning the channels saved in memory.
WX-MEM Listen to the current weather conditions in your area. Save a channel into memory or remove a channel from
memory.
CALL-MENU Display the call menu. Display the normal menu.
DISTRESS Select the nature of your distress for a distress call. Transmit a distress call.
13.8V DC
ANTENNA
Black wire
(-)
Red wire
(+)
Power
Cable
Antenna
connector Heat sink Accessory
cable
Connector/Cable Connects to... For details, see ...
Antenna connector
External VHF antenna with a male PL259 (SO238) connector and 50 Ω
impedance. Minimum 4 ft, 3dB rated antenna for sailboats, 8 ft, 6 dB rated for
power boats.
Connecting the radio (see page 23).
VHF490 RADIO 1-800-BOATING
2

Connector/Cable Connects to... For details, see ...
Power cable pigtail Nominal 13.8 VDC power supply with negative ground (10.5 VDC to 16.0
VDC) (Red wire +, black wire -). Connecting the radio (see page 23).
Accessory cable
pigtail GPS receiver, GPS chartplotter, External Speaker. Connecting the Accessory Cable (see
page 24)
Parts of the Microphone
Push-to-Talk
Button
16/9 TRI
(Triple/Dual-
Watch) button
+
(up) Button
(move up a
channel)
-
(down) Button
(move down a
channel)
Button Press to... Press and hold to...
( + ) Move up one channel at a time. Move quickly up the channels.
( - ) Move down one channel at a time. Move quickly down the channels.
16/9-TRI
1st press: Go to Channel 16.
2nd press: Go to Channel 9.
3rd press: Go back to the original channel.
Go into Triple Watch or Dual Watch mode (see page
10).
Push-to-Talk Cancel scanning and stay on a channel. Talk on a channel.
Turning on the Radio
Turn the VOLUME-PWR knob clockwise to turn on the radio. As it powers on, the radio displays the user MMSI number; if there
is no MMSI set, the radio displays MMSI not entered.
When it powers on, the radio selects the last channel used.
Setting the UIC Channel Mode (USA/CAN/INT)
The radio comes preset to use the UIC channels assigned for the United States. If you are operating in an area that uses Canadian
or international UIC channels, you will need to change the channel mode.
16
UIC Channels
USA Mode
Canada
Mode
Intl Mode
Back[CLR]
Select[ENT]
Setup
Press and hold -
CALL
USA/CAN/INT
ENT
1W/25W
ENT
1W/25W
1. Press and hold CALL-MENU to display the normal menu, and choose the Setup sub-menu.
2. Select USA/CAN/INT. The screen displays the UIC channel setup.
3. Choose the channel mode you want to use: US (USA Mode), Canadian (Canada Mode), or international (Intl Mode).
4. Press ENT-1W/25W. The radio activates the new channel mode and exits the menu.
VHF490 RADIO 1-800-BOATING
3

HOW IT WORKS
Your radio has three basic modes of operation:
Mode What It Does Use It When To Turn it on./off...
Normal Monitors a single marine radio channel
and lets you talk on that channel.
You want to talk to another station on a
specific channel. (default mode)
Scan Monitors all the channels you save into
memory.
You have a small group of channels you
use most often and want to check them
for traffic.
Press and hold the CLR-SCAN button.
Weather Monitors the selected NOAA weather
channel.
You want to hear the current and
forecasted weather in your area. Press the WX-MEM button.
In addition to the three basic operation modes, your radio also provides three different “watch” modes which you can activate during
any of the three basic modes. In these watch modes, the radio briefly checks for activity on a specific channel then returns to its
previous mode.
Watch Mode What It Does Use It When To Turn it on./off...
Weather Alert
Checks for alerts on the last
weather channel you used every
seven seconds.
You want to be made aware of severe
weather conditions in your area. Select WX-ALERT Mode in Setup
submenu, and then choose ON or OFF.
Triple Checks for activity on channels
16 and 9 every two seconds.
You want to monitor a channel yet
maintain a watch on channels 16 and 9. Press and hold 16/9-TRI for two seconds.
Dual Checks for activity on channel
16 every two seconds.
You want to monitor a channel yet
maintain a watch on channel 16.
Change Triple Watch to Dual Watch in the
setup menu, then press and hold 16/9-
TRI for two seconds.
NOTE: You are required to monitor channel 16 whenever your boat is underway. You should have either Triple Watch or Dual
Watch on at all times.
Normal Mode Operation
Normal mode monitors whatever channel you select, and you can transmit on that channel also. While using normal mode, the display
lets you see the following information (not all indicators will display at the same time):
25
Marine Operator
25 Watts USA
Memory Alert
GPS Data OK
Transmit power
(1 W or 25 W)
Current channel
is stored in
memory
Status messages
(see the status
message table)
Current
channel
number
Current channel
name (if the name
is too long, the
name line scrolls)
Channel mode
(USA, CANadian,
or INTernational)
Weather Alert
Watch on
Status
Icons
Message Meaning
GPS Data OK The radio is receiving valid GPS data.
Check GPS The radio is not receiving valid GPS data: check the GPS status screen andthe GPS connection.
Input Position The radio has been unable to receive valid GPS data for at least four hours; it can no longer track your position. You
need to manually input your position (see Setting the GPS position manually on page 11).
Battery Low The battery voltage output is too low (below 10.5 VDC).
VHF490 RADIO 1-800-BOATING
4

Message Meaning
Battery High The battery voltage output is too high (above 16.0 VDC).
Using the radio in normal mode
• To transmit, press and hold
PUSH TO TALK
on the microphone. Release the button when you are finished talking.
• For the best sound quality, hold the microphone about two inches from your mouth while you’re talking.
• Press
CHANNEL UP
on the radio or the microphone to move up one channel at a time. Press and hold either button to scroll
quickly up the channels.
• Press
CHANNEL DOWN
on the radio or the microphone to move down one channel at a time. Press and hold either button to
scroll quickly down the channels.
• To change the transmit power, press and hold the
ENT-1W/25W
for two seconds. The transmit power switches between 1 watt
and 25 watts each time you press and hold
ENT-1W/25W
.
Normal mode with Weather Alert Watch
If you activate Weather Alert Watch while operating in normal mode, the radio checks the most recently-used weather
channel every seven seconds. If it detects a weather alert for your area, it will change the channel to the last-used
weather channel. The radio will not check the weather channel while you are actively transmitting; it waits until your
transmission is finished and then checks the weather channel.
To turn Weather Alert Watch on or off, press and hold
CALL-MENU
while the radio is idle. Select
Setup
and then
WX-Alert Mode
. Use
CHANNEL UP
and
CHANNEL DOWN
to choose
WX Alert Mode
setting
ON
or
Off
.
wx
Every 7 seconds,
the radio checks the
most recently-used
weather channel.
with WX Alert on
Monitoring Channel 25
Normal mode with Triple and Dual Watch
If you activate Triple Watch while operating in normal mode, the radio checks channels 16 and 9 every two seconds; with Dual Watch
turned on, the radio only checks channel 16. The radio will not check channels 16 or 9 while you are actively transmitting; it waits
until your transmission is finished and then checks the channels.
Press and hold 16/9-TRI (on the radio or the microphone) for two seconds to turn Triple/Dual Watch on or off. (To change between
Triple or Dual Watch, see page 10.)
09 16 09 16 09 16
Triple Watch: Every 2 seconds,
the radio checks channels 9 & 16.
Monitoring Channel 25
Normal mode with both Weather Alert and Triple/Dual Watch
You can activate Weather Alert Watch and Triple/ Dual Watch at the same time. The radio performs both checks at their scheduled
time.
VHF490 RADIO 1-800-BOATING
5

wx
WX Alert : Every 7 seconds,
the radio checks the most
recently-used weather channel.
09 16 09 16 09 16
Triple Watch: Every 2 seconds,
the radio checks channels 9 & 16.
Monitoring Channel 25
Scan Mode
You can save channels into memory and then use scan mode to monitor those channels. When the radio detects a signal on a
channel, it pauses on that channel as long as the signal is received; when the transmission stops, the radio will continue scanning.
11
1008 1312 17
15 20
14
The radio scans about
5 channels in 1 second.
When it detects a signal, the radio stays on the
channel until you press the CHANNEL UP button or the
signal stops.
Resume scan
In scan mode, you can get the following information from the display (some indicators will not always be displayed).
1 Watt USA
Memory
Scanning Channels
01A,05A,06,07A,08
07 A
Transmit power
last used
Channel mode
(USA, CANadian,
or INTernational)
Current channel
being scanned
Scan list (if the
text is too long,
the line scrolls)
All scanned
channels must
be in memory
Normal scan
mode or Triple/
Dual-watch on
Status
icons
Using the radio in scan mode
• You cannot transmit while in scan mode.
• You must have two or more channels in memory to start a scan.
• To save a channel into memory, select the channel, then press and hold
WX-MEM
for two seconds. Memory will show on the
display.
• To remove a channel from memory, set the radio to that channel, then press and hold
WX-MEM
for two seconds. Memory will
no longer show on the display.
• To activate scan mode, press and hold
CLR-SCAN
. Press and hold
CLR-SCAN
again to return to the previous mode.
• When the radio automatically stops on a channel, press
CHANNEL UP
to leave that channel and resume scanning.
• To end the scan, press the microphone’s
PUSH TO TALK
,
CALL-MEM
, or
WX-MEM
buttons. The radio remains on the last
scanned channel.
Scan mode with Weather Alert Watch
If you activate Weather Alert Watch while operating in scan mode, the radio checks the most recently-used weather channel every
seven seconds, then continues scanning the next channel in memory.
To turn Weather Alert Watch on or off, press and hold CALL-MENU while the radio is idle. Select Setup and then WX-Alert Mode.
Use CHANNEL UP and CHANNEL DOWN to choose WX Alert Mode setting On or Off.
VHF490 RADIO 1-800-BOATING
6

Scan mode with Triple and Dual Watch
If you activate Triple Watch while operating in scan mode, the radio checks channels 16 and 9 every two seconds, then goes on to
scan the next channel; with Dual Watch turned on, the radio only checks channel 16.
Press and hold 16/9-TRI (on the radio or the microphone) for two seconds to turn Triple/Dual Watch on or off. (To change between
Triple or Dual Watch, see page 10.)
Press and hold the CLR-SCAN key to turn off Scan mode and set the radio to Triple/Dual Watch mode.
09 16
Triple Watch : Every 2
seconds, the radio checks
channels 9 & 16 then goes on
to the next channel.
Memory Channel Scan
08 252417151413121110 20
Scan mode with both Weather Alert and Triple/Dual Watch
You can activate Weather Alert Watch and Triple/Dual Watch at the same time. The radio performs both checks at their scheduled
time.
09 16
Triple Watch:
Every 2 seconds,
the radio checks
channels 9 & 16
then goes on to
the next channel.
WX Alert : Every 7
seconds, the radio
checks the last-used
weather channel,
then scans the next
channel.
wx
Memory Channel Scan
08 252417151413121110 20
Weather Mode
In cooperation with the FCC, NOAA also uses the weather channels to alert you of other hazards besides weather (child abduction
alerts, nuclear, biological, etc.). In weather mode, the radio monitors one of the ten NOAA weather channels. If any type of alert is
received for your area, the radio sounds an alert tone and displays the type of alert. In weather mode, the display shows the follow-
ing:
09
Hurricane Warning
Weather Band
Alert
Weather
mode is on
Current
channel
number
Type of alert
(If the text is too
long, it scrolls.)
Flashing: An alert
has been issued
Steady: Weather
Alert Watch is on
Using the radio in weather mode
• You cannot transmit while in weather mode.
• To enter weather mode, press
WX-MEM
.
• Weather mode can filter out alerts that do not affect your location if the location code (FIPS code) of the alert is entered in your
radio (
see page 10.)
If you have no FIPS codes programmed into your radio, the radio will notify you of all alerts in any area.
• To turn off the radio’s alert tone, press any button.
• To cancel weather mode and return to the previous marine channel, press the
WX-MEM
button again.
VHF490 RADIO 1-800-BOATING
7

Weather mode with Weather Alert Watch
Because weather mode already monitors the weather channels, you don’t need Weather Alert Watch to check the weather channel every
seven seconds. If you activate Weather Alert Watch while operating in weather mode, it operates as a type of “sleep mode”: the radio
stays on the weather channel and mutes the speaker. If an alert is detected for your area, the radio sounds an alert tone and turns the
speaker back on. This mode is very useful when you are anchoring for the night but want to stay informed of any hazards in your area.
To turn Weather Alert Watch on or off, press and hold CALL-MENU while the radio is idle. Select Setup and then WX-Alert Mode.
Use CHANNEL UP and CHANNEL DOWN to choose WX Alert Mode setting On or Off.
Weather mode with Triple and Dual Watch
If you activate Triple Watch while operating in weather mode, the radio checks channels 16 and 9 every two seconds; with Dual Watch
turned on, the radio only checks channel 16.
Press and hold 16/9-TRI (on the radio or the microphone) for two seconds to turn Triple/Dual Watch on or off. (To change between
Triple or Dual Watch, see page 10.)
09 16 09 16 09 16
Triple Watch: Every 2 seconds, the
radio checks channel 9, then channel 16.
Monitoring Weather Channel WX08
USING YOUR RADIO
To display the radio call menu, press CALL-MENU. To display the radio normal menu, press and hold CALL-MENU. The menu
has the following options:
USA/CAN/INT
Dual/TriWatch
GPS Setup
FIPS Codes
Auto CH SW
POS Reply
Test Reply
Channel Name
Group MMSI
User MMSI
WX Alert Mode
[Exit]
Contrast
Lamp Adjust
Key Beep
[Exit]
(Close Menu)
Setup
System
[Exit]
Press and hold -
CALL
ENT
1W/25W
ENT
1W/25W
ENT
1W/25W
VHF490 RADIO 1-800-BOATING
8

Using Your Radio
• An arrow on the left side indicates the current selection.
• Press
CHANNEL UP
on the radio or the microphone to move up a line in the menu; if you are at the top line in the menu, the
cursor jumps to the bottom of the menu.
• Press
ENT-1W/25W
to choose the selected item.
• Press
CHANNEL DOWN
on the radio or the microphone to move down a line in the menu; if you are at the bottom line of the menu,
the cursor jumps to the top of the menu.
• Press
CLR-SCAN
to go back to the previous menu screen.
• From any menu screen, choose
Exit
or press and hold
CALL-MENU
to close the menu screen.
Making a Voice MAYDAY Call
(see inside front cover)
Setting the Volume
Turn the volume knob clockwise to increase the speaker volume; turn it counter-clockwise to decrease the volume.
Setting the Squelch Level
The squelch feature reduces the level of static on the speaker by filtering out the background channel noise. At the lowest squelch
level, the speaker plays all radio signals, including any noise on the channel. Setting the squelch level higher filters out channel
noise and lets only actual radio transmissions through.
Weak signals
No
Squelch
Medium
Squelch
High
Squelch
Strong signals
Noise
While listening to a channel, adjust the SQUELCH knob until the noise is filtered out and you can only hear the transmission. If
you switch to a channel with a lot of noise or with a weak transmission, you may need to adjust the squelch level again.
NOTE: Setting the squelch level too high may prevent you from hearing weaker transmissions. If you are having difficulty
hearing a transmission, try setting the squelch level lower.
Changing the Channel
Press CHANNEL UP and CHANNEL DOWN briefly to scroll through the channels one channel at a time. Press and hold
CHANNEL UP or CHANNEL DOWN to quickly scroll through the channels.
Making a Transmission
To make a transmission, press and hold the microphone PUSH TO TALK button. Release the PUSH TO TALK button when you’re
finished talking to let the other party respond.
• To prevent stuck microphone problems or situations where
PUSH TO TALK
is pushed accidentally, the radio limits your talk time
to 5 minutes in a single transmission. If you talk for over 5 minutes continuously, the display shows
RELEASE MIC BUTTON
.
• For the best sound quality, hold the microphone about two inches away from your mouth.
VHF490 RADIO 1-800-BOATING
9

• You cannot transmit while the radio is in weather mode or scan mode.
• See the channel lists beginning on page 30 for a list of receive-only channels.
Boosting the Transmission Power
In most situations, the 1 Watt transmission power is all you need. If you find yourself far away from other stations and have trouble
getting a response, you may need to boost the transmission power from 1 Watt to 25 Watts:
1. Select the channel you want to transmit on.
2. Push and hold ENT-1W/25W for two seconds. The display shows 25 Watts in the upper left hand corner.
3. The transmit power remains at 25 Watts until you change the setting back. Push and hold ENT-1W/25W for two seconds. The
display shows 1 Watt.
NOTE: Don’t forget to change the transmission setting back to 1 Watt when you move closer to other stations.
NOTE: By default, when you change to channel 16, the radio automatically boosts the power to 25 Watts. Be sure to change
the power back to 1 Watt if you are not making an emergency transmission.
Some channels (for example, channels 13 and 67) limit the power of transmission to 1 Watt so that there is less interference between
boaters attempting to use the channel at the same time. If you switch to one of these channels, the radio changes back to 1 Watt
automatically. See the channel lists beginning on
page 30
for a list of power-restricted channels.
Choosing Triple Watch or Dual Watch
In Triple Watch mode, the radio briefly checks channels 16 and 9 every two seconds. In Dual Watch mode, the radio checks channel
16 only. Generally, Triple Watch is used in areas where channel 9 is used as a hailing frequency while Dual Watch is used in areas
where channel 16 is used for distress and hailing. Your radio comes set to use Triple Watch; if you want to use Dual Watch instead,
you will have to select it in the setup:
1.
CALL
ENT
1W/25W
ENT
1W/25W
Press and hold CALL MENU to display the normal menu.
2. Select Setup and then Dual/Tri Watch.
3. Choose Dual Watch and press ENT-1W/25W. The radio activates the new setting and returns to the Setup menu.
4. To reactive Triple Watch, repeat the procedure described above, but choose Triple Watch in step 3.
Using FIPS Codes for Weather Alerts
The US National Weather Service established 6-digit Federal Information Processing System (FIPS) codes to issue weather alerts
in specific areas. You can choose which areas you want to hear alerts for by entering these FIPS codes in your radio. This can
prevent you from being bothered by events that are far from where you are boating. The radio only sounds the alert tone if an
incoming FIPS code matches one of the areas you selected.
• For more information about how the NWS uses FIPS codes, see the NWS website: www.nws.noaa.gov/nwr/nwsfipschg.htm.
• To see an index of FIPS codes by state, see the website of the National Institute of Standards and Technology (NIST): www.itl.
nist. gov/fipspubs/co-codes/states.htm.
VHF490 RADIO 1-800-BOATING
10

• For information on the Canadian implementation of FIPS codes, called Canadian Location Codes, see the website of the
Meteorological Service of Canada (MSC): http://www.msc.ec.gc.ca/msb/weatheradio/transmitter/index_e.cfm
NOTE: If you travel outside the areas you have entered into your radio, you may not hear alerts that affect your new location.
Be sure to enter the FIPS codes of all the areas you plan to travel to during this trip.
Follow the steps below to edit the list of FIPS codes. You can store up to 30 different FIPS codes in your radio.
1.
000000
Use the up and down arrows
to adjust each of the six
digits in turn.
16
FIPS Code
Back[CLR]
Forward[ENT]
FIPS Codes
Setup
Press and hold -
[New]
CALL
ENT
1W/25W
ENT
1W/25W
ENT
1W/25W
Display the normal menu and choose the Setup sub-menu.
2. Select FIPS Codes. The screen displays any previously-entered FIPS codes.
3. To add a new FIPS code, select New.
4. Use CHANNEL UP and CHANNEL DOWN to change the first of the six digits; CHANNEL UP increases the number and
CHANNEL DOWN decreases it.
5. When the first digit is correct, press ENT-1W/25W. The cursor moves to the next digit. Enter the remaining five digits of the
FIPS code in the same way. If you make a mistake while entering a digit, press CLR-SCAN to erase the wrong number and
moved the cursor to the left digit.
6. When the sixth digit is correct, press ENT-1W/25W. The radio displays the new FIPS code and asks you to confirm. To save
this code, select Yes; to cancel this code, select No. The radio returns to the list of FIPS codes.
7. To change an existing FIPS code, select the code you want to change.
8. To delete the FIPS code, select Delete. To edit the code, select Edit, then use CHANNEL UP and CHANNEL DOWN buttons
to change each of the six digits.
9. When you are satisfied with the list of FIPS codes, select Exit to close the menu screen.
Changing Display and Sound Options
Contrast
Your radio display has 10 levels of contrast. To adjust the contrast, press and hold CALL-MENU while the radio is idle. Select
System and then Contrast. Use CHANNEL UP and CHANNEL DOWN to change the contrast to your desired level.
To restore the default contrast setting, turn the radio off. Press CALL-MENU and hold it in while you turn the radio on.
Lamp adjust
Your radio has 10 brightness levels on the display. To adjust the brightness, press and hold CALL-MENU while the radio is idle.
Select System and then Lamp Adjust. Use CHANNEL UP and CHANNEL DOWN to change the brightness to your desired level.
Turning the key beep on and off
Key beep is the tone that sounds when you press a key or a button. To turn off the key beep, press and hold CALL-MENU while
the radio is idle. Select System and then Key Beep. Choose Off to turn off the key beep.
Setting the GPS Position Manually
If the radio is not receiving valid GPS data, the radio displays Input Position. Follow the steps below to manually input your
position.
NOTE: Be certain any manually-entered position is correct. If you enter the wrong position and then make a DSC distress call,
you will be telling the arrows to adjust each of the values in turn.
VHF490 RADIO 1-800-BOATING
11

CALL
ENT
1W/25W
ENT
1W/25W
ENT
1W/25W
1. Display the normal menu and choose the Setup sub-menu.
2. Select GPS Setup and then choose Position Set.
3. The GPS manual input screen displays; the fields to be entered blink. The cursor highlights the hour. Use CHANNEL UP and
CHANNEL DOWN to set the displayed hours to match coordinated universal time (UTC, also call Greenwich Mean Time and
Zulu Time). When the display matches UTC time, press ENT-1W/25W. If you make a mistake while entering a digit, press
CLR-SCAN to erase the wrong number and moved the cursor to the left digit.
4. The cursor moves to highlight the minutes. Use CHANNEL UP and CHANNEL DOWN to adjust the minutes and press ENT-
1W/25W.
5. The cursor moves to highlight the degrees latitude. As you update each value, the cursor moves to the next value in turn. At
each number, use CHANNEL UP and CHANNEL DOWN to adjust the number and press ENT-1W/25W.
6. When you have entered the last value, the radio returns to the GPS Setup menu.
USING DIGITAL SELECTIVE CALLING (DSC) FEATURES
What is DSC?
Digital Selective Calling (DSC) is a standard that allows you to call other stations using their unique identification code (the Maritime
Mobile Service Identity or MMSI number), just like you would call a phone number. To call another station, just enter that station’s
MMSI number and choose the voice channel you want to talk on. The radio uses channel 70 to transmit your MMSI number to the
other station along with the voice channel you requested. If the other station accepts your call, both radios automatically switch to
the requested voice channel so you can talk to the other station.
DSC provides a system for automated distress calls. At the touch of a button, the radio can transmit your MMSI number, the nature
of your distress, and your current position based on data from your GPS receiver. The radio repeats the distress call every few
minutes until it receives an acknowledgement.
The DSC standard dedicates a VHF channel—channel 70—to digital transmissions only. Since digital transmissions require less
bandwidth voice transmissions, channel 70 avoids the problems of busy voice channels.
Advanced DSC Features
Your radio supports the following DSC features:
Feature Menu Item Function
Individual Call Individual Contact another vessel from your directory.
Group Call Group Contact all vessels that share your group MMSI code.
All Ships Call All Ships Broadcast to all vessels within range (used for safety or advisory messages).
Position Request POS Request Request the current location of another vessel.
Position Send Position Send Transmit your current location to another vessel.
Test Call Test Make sure your radio is working and configured correctly.
Name and MMSI Directory Directory Store a list of 20 names and MMSI identification codes for DSC calls.
Standby Mode Standby Automaticcally respond to all DSC calls within an “Unavailable” status.
Received Call Log Receive Log Display the last 10 distress calls received by the radio and the last 20 general
calls.
VHF490 RADIO 1-800-BOATING
12

What is an MMSI Number?
In order to use DSC features, you must be assigned an MMSI number and program that number into your radio. There are two kinds of MMSI
numbers: individual numbers for use by single boats and group numbers for use by fleets, boating organizations, event coordinators, etc.
You can get more information on MMSI numbers at these resources:
• The dealer where you purchased the radio
• Recreational boaters can obtain an MMSI number from the Boat Owner’s Association of the U.S. (http://www.boatus.com/mmsi/
or call 800-563-1536) or Sea Tow Services International (http://seatow. com/boating_safety/mmsi.asp)
• Commercial boaters need a ship station license to get an MMSI number. For more information, visit the Federal Communications
Commission (FCC) website at http://wireless.fcc.gov/marine/ fctsht14.html.
Entering MMSI Numbers
Individual or User MMSI Number
NOTE: Be sure you have the correct User MMSI number before entering it in the radio. The radio only allows you to enter the
user MMSI once. If you need to re-enter the User MMSI number, contact customer service (1-800-BOATING).
Follow the steps below to enter your individual or user MMSI number into the radio:
1.
CALL
ENT
1W/25W
ENT
1W/25W
ENT
1W/25W
Display the normal menu and choose the Setup sub-menu.
2. Select User MMSI. (If an MMSI number was already entered, the screen displays it with the message Cannot change over 1
time. Contact customer service (1-800-BOATING).
3. Use CHANNEL UP and CHANNEL DOWN to enter the first of the nine digits; CHANNEL UP increases the number and
CHANNEL DOWN decreases it.
4. When the first digit is correct, press ENT-1W/25W. The cursor moves to the next digit. Enter the remaining eight digits of the
MMSI number in the same way. If you make a mistake while entering a number, press CLR-SCAN to erase the wrong number
and the cursor is moved to the left digit.
5. When the ninth digit is correct, press ENT-1W/25W. The radio displays the new MMSI number and asks you to confirm.
NOTE: Be sure you entered the number correctly before confirming the entry. You can only save the user MMSI once.
6. To save this MMSI number, select Yes, then confirm the number. To cancel this MMSI number, select No. The radio returns to
the Setup menu.
Group MMSI Number
You can change the group MMSI number as often as you want. Follow the steps below to enter a group MMSI number into the radio:
VHF490 RADIO 1-800-BOATING
13

CALL
ENT
1W/25W
ENT
1W/25W
1. Display the normal menu and choose the Setup sub-menu.
2. Select Group MMSI. If one was entered previously, the screen displays it.
3. Group MMSI numbers always start with a 0, so that digit is already entered for you. Use CHANNEL UP and CHANNEL DOWN
to change the second of the nine digits; CHANNEL UP increases the number and CHANNEL DOWN button decreases it.
4. When the second digit is correct, press the ENT-1W/25W. The cursor moves to the next digit. Enter the remaining seven
digits of the MMSI number in the same way. If you make a mistake while entering a number, press CLR-SCAN to erase the
wrong number and the cursor is moved to the left digit.
5. When the ninth digit is correct, press ENT-1W/25W. The radio displays the new MMSI number and asks you to confirm.
6. To save this MMSI number, select Yes and confirm the entry. To cancel this MMSI number, select No. The radio returns to the
Setup menu.
Using the Directory
The directory lets you store up to 20 MMSI numbers of other stations so you can call them quickly.
CALL
ENT
1W/25W
ENT
1W/25W
Follow the steps below to edit the MMSI numbers in your directory:
1. Press CALL-MENU to display the call menu.
2. Select Directory. The screen displays any previously-entered MMSI numbers and names.
3. To add a new MMSI number to the directory, select New.
4. The radio prompts you to enter the nine-digit MMSI number. Use CHANNEL UP and CHANNEL DOWN to change the first
digit; the CHANNEL UP button increases the number and the CHANNEL DOWN button decreases it.
5. When the first digit is correct, press ENT-1W/25W. The cursor moves to the next digit. Enter the remaining eight digits of the
MMSI number in the same way. If you make a mistake while entering a number, press CLR-SCAN to erase the wrong number
and the cursor is moved to the left digit.
6. When the ninth digit is correct, press ENT-1W/25W.
7. The radio prompts you to enter a name for this MMSI number; the name is what you will see in the directory list. Each name
can be up to 12 characters. Use CHANNEL UP and CHANNEL DOWN to change the first character. The channel buttons scroll
through the available characters according to the following table:
Channel Up Button Channel Down Button
Capital letters (A through Z) One blank space
Lower-case letters (a through z) Numbers (0 through 9)
Punctuation (/ ‘ + -) Punctuation (/ ‘ + -)
Numbers (0 through 9) Lower-case letters (a through z)
One blank space Capital letters (A through Z)
VHF490 RADIO 1-800-BOATING
14

8. When the first character is correct, press ENT-1W/25W button. The cursor moves to the next character. Enter the remaining
11 characters of the name. If the name is shorter than 12 characters, press and hold ENT-1W/25W to complete the name entry.
(If you press and hold ENT-1W/25W without entering a name, the radio uses the MMSI number in the directory list.) If you
make a mistake while entering a number, press CLR-SCAN to erase the wrong number and the cursor is moved to left digit.
9. When you finish entering the name, the radio displays the new MMSI number and name and asks you to confirm. To save this
directory entry, select Yes; to cancel this directory entry, select No. The radio returns to the directory list.
10. To change an existing directory entry, select the entry you want to change.
11. To delete the directory entry, select Delete. To edit the code, select Edit, then use CHANNEL UP and CHANNEL DOWN to
edit the MMSI number and the name.
12. When you are satisfied with the directory list, select Exit to close the menu screen.
Making DSC Calls
There are essentially four different types of DSC voice calls:
Call type What it does When to use it
Distress Alerts all stations that you need assistance and sends them your
current position. In an emergency only.
Individual Calls a single station using the User MMSL. Any time you want to talk to another station.
Group Calls all the stations that have the same Group MMSL as yours. Any time you want with the whole group you are
traveling with at the same time.
All Ships Calls all stations within range of your radio. Safety warnings (e.g., debris in the water) or any
urgent situation.
Suppose you are coordinating safety for a sailboat race. Before the race starts, you instruct all the racers to enter your group MMSI
number into their radios. During the race:
• Throughout the race, you use group calling to update the racers on the time, race status, and any course corrections.
• A power boat full of spectators comes a little too close to the race path. You use individual calling to contact the power boat and
advise them to stay clear of the race.
• You see a rowboat entering the area, but since it doesn’t have a radio, you can’t communicate with the rowboat. You use all ships
calling to alert all the other boats in the area of the possible danger.
VHF490 RADIO 1-800-BOATING
15

Calling a single station (Individual Call)
To call a single station with DSC, follow the steps below (see also page 13):
1. Press CALL-MENU to display the call menu.
2. Select Individual.
3. The radio displays the names listed in your directory; use CHANNEL UP and CHANNEL DOWN to choose the directory entry you want
to call and press ENT-1W/25W
. If you want to call a station that is not in your directory, select Manual. The radio prompts
you to enter the MMSI number you want to call. Enter the MMSI number the same way you enter directory entries (see page
14) Enter all nine digits and press ENT-1W/25W.
4. The radio prompts you to select a response channel. Use CHANNEL UP and CHANNEL DOWN to scroll through the available
channels. When you reach the channel you want to use for a response, press the ENT-1W/25W button.
5. The radio displays the MMSI number you are about to call and asks you to confirm. If you want to call the displayed MMSI
number, select Send. To cancel the call, select Cancel.
6. The radio automatically switches to channel 70 to transmit the call request.
• When the other station accepts the call, both radios switch to the selected response channel for voice transmission.
• If the other station cannot respond on the channel you selected, the radio displays
Not support CH
.
Calling a particular group of stations (Group Call)
Group calling calls all the stations that share your group MMSI. You must have a group MMSI programmed into the radio to make
a group call, and the stations (boats) you are calling must have this same group MMSI programmed into their radios. See also page
13.
1. Press CALL-MENU to display the call menu.
2. Select Group.
3. The radio prompts you to select a response channel. Use CHANNEL UP and CHANNEL DOWN to scroll through the available
channels. When you reach the channel you want to use for a response, press ENT-1W/25W.
4. The radio asks you to confirm the call. Select Send to continue with the call or select Cancel to cancel the call.
5. The radio switches to channel 70 to transmit the call request then automatically switches to the designated response channel.
VHF490 RADIO 1-800-BOATING
16

Calling all stations (All-Ships Call)
All ships calling contacts all DSC radios within range of your boat. You should only use all ships calling in the event of a Safety
warning (such as debris in the water) or to request assistance in an Urgency (any situation where your vessel has a serious problem
but is not yet in distress).
1. Open the call menu.
2. Select All Ships, and then choose whether this is an Urgency call or a Safety call.
3. The radio asks you to confirm the call. Select Send to continue with the call or select Cancel to cancel the call.
4. The radio automatically switches to channel 70 to transmit the call request then automatically switches to channel 16, the
designated response channel for all-ships calling.
Making an Automatic Distress Call
If you have programmed your MMSI number, your radio can transmit an automated distress call with your current location and nature
of the distress. The radio then monitors the channel 16 for a response and repeats the distress call every few minutes until it receives
an acknowledgement.
NOTE: To send an automatic distress call, press and hold DISTRESS for three seconds. If no MMSI number has been pro-
grammed, the radio prompts you to enter your MMSI number.
If you want to include the nature of your distress in the distress call, use the following distress procedure:
1. Press DISTRESS.
2. The radio displays the list of distress conditions; use CHANNEL UP and CHANNEL DOWN to choose the nature of your
distress, then press and hold DISTRESS for three seconds.
Undesignated Sinking Fire
Adrift Flooding Abandoning
Collision Piracy. Armed Grounding
Overboard Capsizing
3. If no MMSI number has been programmed, the radio prompts you to enter your MMSI number.
Canceling an automatic distress call
While the radio is waiting for a response, it gives you the option of canceling the call. To cancel the distress call, choose Cancel
and press ENT-1W/25W.
Receiving a DSC Call
If your radio receives an individual DSC call from another station, it sounds an incoming call tone and displays the name or MMSI
number of the station calling you. To respond to
the call, select Send: Able-Comply; the radio sends an acknowledgement
and automatically
switches to the designated response channel. To reject the call, select Send: Unable-Comply; the radio advises
the other station that you are unable to respond to the call.
If the DSC request contains a response channel that you are not allowed to use, the radio displays Not Support CH; your only
response option is Send: Unable-Comply.
If the radio receives a group or all ships call, it sounds an incoming call tone and automatically switches to the designated response
channel.
Receive log
Just like your telephone’s caller ID list, your radio keeps track of the calls you receive but do not answer. The receive log is useful
if you have been off your boat or away from your radio and want to see who has tried to contact you. The radio displays the last 10
distress calls and the last 20 non-distress calls that it received. If you have unread incoming DSC calls, the radio displays a Message
icon. When you display all Distress and Other receiving logs, the message icon disappears.
VHF490 RADIO 1-800-BOATING
17

CALL
ENT
1W/2.5 W
ENT
1W/2.5 W
1. Press CALL-MENU to display the call menu.
2. Select Receive Log.
3. Select Distress to see the last 10 distress call received by the radio. Select Other to see the last 20 normal calls received by
the radio, then choose from Individual, Group, or All Ships calls.
4. Calls are listed in the order they were received, with the newest call shown first. The display blinks if there are new calls you
have not reviewed.
5. Select the call you want to see the details of. Use CHANNEL UP and CHANNEL DOWN to see all of the information. The log displays
different information depending on type of call received. See the table below for the information stored for each type of call:
DSC Call Type Receive Log Information
Distress MMSI (or name), position, time, nature code.
Distress
Acknowledge MMSI (or name), distress MMSI, position, time, nature code.
Distress Relay MMSI (or name), distress MMSI, position, time, nature code.
Distress Relay
Acknowledge MMSI (or name), distress MMSI, position, time, nature code.
Geographical MMSI (or name), category code, communication channel number.
All Ships MMSI (or name), category code, communication channel number.
Group MMSI (or name), category code, communication channel number.
Individual MMSI (or name), category code, communication channel number.
Individual
Acknowledge MMSI (or name), Completed/Unattended, category code, communication channel number.
Test MMSI (or name), category code.
Test Acknowledge MMSI (or name), category code.
Pos Reply MMSI (or name), position, time, category code.
Pos Request MMSI (or name), category code.
Pos Send MMSI (or name), position, time, category code.
6. Press CLR-SCAN button to exit the detail screen and return to the log menu.
7. From the log menu, select Exit to close the receive log and return to the mode you were in.
Returning a call
You can return individual calls directly from the receive log. From the call detail screen, press CHANNEL DOWN until Call Back
appears at the bottom of the display. Press ENT-1W/25W to return that station’s call.
Test Calls
Making Test Calls (Test)
You can use the test call feature to make sure your radio is working and configured correctly. To avoid overloading coastal receiving
stations, you should limit test calls to these stations to once a week.
VHF490 RADIO 1-800-BOATING
18

NOTE: Many coastal stations have specific frequencies and MMSI numbers you should use for making test calls. Before
making a test call to a coastal station, be sure to check the Local Notice to Mariners (LNM), issued every week by the US
Coast Guard. The LNMs for each region are available online at http://www.navcen.uscg.gov/lnm/default.htm.
1. Press CALL-MENU to display the call menu.
2. Select Test.
3. The radio displays the names listed in your directory; use CHANNEL UP and CHANNEL DOWN to choose the directory entry
you want to send a test call to and press ENT-1W/25W button.
CALL
ENT
1W/25W
If you want to send a test call to a station that is not in your
directory, select Manual. The radio prompts you to enter the MMSI number you want to call. Enter the MMSI number the same
way you enter directory entries (see page 14). Enter all nine digits and press ENT-1W/25W button.
4. The radio displays the MMSI number you are about to call and asks you to confirm. If you want to call the displayed number, select
Send. To cancel the call, select Cancel.
5.
16
Test
123456789
Send
Cancel
Back[CLR] Select[ENT]
The radio automatically switches to channel 70 to transmit the test call request, then switches back to the last-used channel.
6. When the other station acknowledges the test call, the radio displays an acknowledgement screen.
16
Test
Acknowledged
123456789
Completed
Back[CLR]
Receiving Test Calls
When another station sends you a test call, the radio displays the test request screen.
• To acknowledge the test call, select
Reply
.
• To reject the test call, select
Cancel
.
VHF490 RADIO 1-800-BOATING
19

16
Test
123456789
Reply
Cancel
Select[ENT]
Back[CLR]
Enabling automatic test call reply
If you want the radio to automatically reply to all test call, you can enable automatic test call reply.
1. Press and hold CALL-MENU to display the normal menu.
2. Select Setup and then Test Reply.Choose Auto and press ENT-1W/25W. The radio will automatically send an acknowledge-
ment when it receives a test call.
CALL
ENT
1W/25W
ENT
1W/25W
3. To disable automatic test call reply, repeat the steps above and select Manual.
Position Request and Reply
Requesting another station’s position (POS Request)
Anytime you need to know where another boat currently is—to find your boating partners, to respond to a request for assistance,
etc.—you can send a position request to their radio:
1. Press CALL-MENU to display the call menu.
2. Select DSC Call sub-menu, then select POS Request.
3. The radio displays the names listed in your directory; use CHANNEL UP and CHANNEL DOWN to choose the directory entry
you want to contact and press ENT-1W/25W. If you want to contact a station that is not in your directory, select Manual. The
radio prompts you to enter the MMSI number you want to call. Enter the MMSI number the same way you enter directory entries
(see page 14). Enter all nine digits and press ENT-1W/25W.
4. The radio displays the MMSI number you are about to contact and asks you to confirm. If you want to request the position of
the displayed MMSI number, select Send. To cancel the request, select Cancel.
5. When the other station responds, the radio displays the MMSI number, the longitude, and the latitude of the other station. If
your radio is connected to a chartplotter through the NMEA OUT connection (see page 24), the position information will also
be displayed on the plotter screen.
6. If the other station does not have valid GPS data, the radio displays No Position.
Receiving a position request (Position Reply)
When another station requests your current position, the radio displays the following screen:
VHF490 RADIO 1-800-BOATING
20

16
POS Request
KENT NEWMAN
Reply
Cancel
Select[ENT]
Back[CLR]
To send your current position to the other station, select Reply; the radio transmits your latitude and longitude to the other station.
If you select Reply but the radio does not have valid GPS data, it transmits the reply code with No Position.
To reject the position request, select Cancel.
Enabling automatic position reply
If you want the radio to automatically transmit your current position whenever it receives a position request, you can enable auto-
matic position reply. Most boaters activate automatic position reply for safety reasons or because they subscribe to a marine towing
service. Sometimes—for example, in some competitive situations--you may not want other stations to get your position without
your manual confirmation
1. Press and hold CALL-MENU to display the normal menu.
2. Select Setup and then POS Reply.
3. Choose Auto and press ENT-1W/25W. The radio will automatically transmit your position when it receives a position request.
4. To disable automatic position reply, repeat the steps above and select Manual.
Sending your own position (Position Send)
If your radio is connected to a GPS receiver, you can send your boat’s position to someone else. If you are requesting assistance or
using an all ships call to give a safety warning, you can send your current position so other stations know where you are:
1. Press CALL-MENU to display the call menu.
2. Select Position Send.
3. The radio displays the names listed in your directory; use CHANNEL UP and CHANNEL DOWN to choose the directory entry
you want to contact and press ENT-1W/25W. If you want to contact a station that is not in your directory, select Manual. The
radio prompts you to enter the MMSI number you want to call. Enter the MMSI number the same way you enter directory entries
(seepage 14). Enter all nine digits and press ENT-1W/25W.
4. The radio displays the MMSI number you are about to contact and asks you to confirm. If you want to transmit your position to
the displayed MMSI number, select Send. To cancel the transmission, select Cancel.
5. The radio transmits your MMSI number, your longitude, and your latitude to the other station.
Putting the Radio into Standby
If you are leaving your radio or do not wish to answer any DSC calls, you can put your radio in standby mode. If your radio receives
an individual call, it will automatically respond with a message that indicates your radio is currently unattended. Follow the steps
below to put your radio in standby:
CALL
ENT
1W/25W
1. Display the Call menu.
2. Select Standby to place your radio in standby mode. The radio displays the standby screen, above.
VHF490 RADIO 1-800-BOATING
21

3. To cancel standby and return to the mode your radio was in, press any button.
Disabling Automatic Channel Switching
If you are involved in a bridge-to-bridge call, you may not want the radio to automatically switch channels when it receives a DSC call.
In cases like this, you can disable automatic channel switching. If you receive an individual call, the radio will respond with an
unattended code, just as if the radio were in Standby.
1. Press and hold CALL-MENU to display the normal menu.
2. Select Setup and then Auto CH SW.
3. Choose Off and press ENT-1W/25W. The radio will not automatically switch channels until you reactivate this feature.
NOTE: Use this feature with caution. Deactivating automatic switching and then forgetting it can make it hard for you to receive
DSC calls.
If you have unread incoming DSC calls, the radio displays a message icon ( ). You will be able to review who has called. The
radio displays the last 10 distress calls and the last 20 non-distress calls it received (see the receive log on page 17).
Renaming Channels
If you discover that a marine radio channel has a different common name in your local area, you can change the name of that
channel to make it easier for you to use (see the channel lists beginning on page 30 for the default channel names). To rename a
channel, follow the steps below:
1. Display the normal menu and choose the Setup sub-menu.
2. Select Channel Name. The screen displays the list of channels.
3. Use CHANNEL UP and CHANNEL DOWN to choose the channel you want to change and press ENT-1W/25W.
4. Select Rename to enter a new name for this channel. The radio prompts you to enter a new name for this channel. Each name
can be up to 12 characters. Use CHANNEL UP and CHANNEL DOWN to change the first character.
5. When the first character is correct, press ENT-1W/25W. The cursor moves to the next character. Enter the remaining 11
characters of the name. If the name is shorter than 12 characters, press and hold ENT-1W/25W to complete the name entry.
If you make a mistake while entering a number, press CLR-SCAN to erase the wrong number and the cursor is moved to the
left digit.
6. When you finish entering the name, the radio displays the new channel name and asks you to confirm. To save this new chan-
nel name, select Yes; to cancel the change, select No. The radio returns to the channel list.
7. To restore a channel back to its original name, select the channel and choose Default.
8. When you are satisfied with the channel list, select Exit to close the menu screen.
VHF490 RADIO 1-800-BOATING
22

INSTALLING THE HARDWARE
Mounting the Radio
Your radio can sit at any angle in the mounting bracket so it can easily accommodate the best location. First, determine the best
place to mount the radio. For optimum performance, find a location that can:
• Properly support the weight of the radio, approximately 2.2 pounds or 1.1 kilograms. You may need to use some type of anchor
with the mounting screws to hold the radio, depending on the surface.
• Keep the battery leads as short as possible.
• Keep the antenna lead-in wire as short as possible.
• Allow free air flow around the heat sink on the rear of the radio.
• Avoid interference with the ship’s compass.
1. Install the radio into the mounting bracket.
2. Position the radio into the desired location. Mark the edges of the bracket on the mounting surface.
3.
Actual product image may vary slightly.
Remove the mounting bracket drill template from the back of the manual, and use the template to mark the drill holes on the
mounting surface.
4. Drill the holes for the mounting bracket; be sure to follow any special requirements of the mounting surface.
5. Remove the bracket from the radio, and use the mounting hardware to secure the bracket to the mounting surface.
6.
Hex bolt
Washer
Spring washer
Hex nut
Mounting
bracket
Mounting
surface
Install the radio back into the mounting bracket.
Connecting the Radio
To operate correctly, your radio requires two electrical connections:
•
providing it with power from the boat’s electrical system
•
connecting a VHF-FM marine antenna to the antenna connector
VHF490 RADIO 1-800-BOATING
23

Power Supply Requirements VHF Antenna Requirements
Nominal 13.8 VDC power supply with a negative ground (10.5 VDC to
16.0 VDC).
Power leads should be kept as short as possible. A direct connection to
the power supply is ideal.
Minimum of #14 AWG copper wire for extensions up to 20 feet, 12 AWG
wire for extensions from 20 to 35 feet, or 10 AWG wire for extensions
from 35 to 60 feet.
Male PL-259 connector
50 Ω impedance
Minimum 3 foot, 3 dB rated antenna for sailboats or 8 foot, 6 dB
rated antenna for powerboats
Minimum RG-58 lead-in wire for antenna leads up to 20 feet,
RG-8X for antenna leads from 20 to 35 feet, or RG-8U for antenna
leads from 35 to 60 feet.
1. Connect the BLACK wire of the power cable to the NEGATIVE (-) side of your power source.
2. Connect the RED wire of the power cable to the POSITIVE (+) side of your power source.
NOTE: To extend the life of the radio, use waterproof tape to seal electrical connections.
3. Install your antenna according to the manufacturer’s instructions.
4. If necessary, consult the FCC guidelines for antenna separation. See Antenna Selection and Installation on page 37 for more
details. (In summary, the FCC recommends that antennas up to 3 dB be installed a minimum of 3 feet from any occupied location;
antennas over 3 dB should be installed at least 6 feet away.)
5. Connect the PL-259 connector from the antenna lead-in wires to the SO238 connector labeled ANTENNA on the back of your radio.
6. Plug the power cable into the power cable pigtail on the back of your radio.
Connecting the Accessory Cable
Use the accessory cable to connect the radio to a GPS receiver, a GPS chartplotter, and an external speaker. The wiring diagram below
shows the connections for each accessory.
Yellow: NMEA_IN (+)
Red: External Speaker (+)
White: NMEA_OUT (+)
Orange: N/A
Black: GND/External Speaker (-)
Brown: NMEA_OUT (-)
Bare: Shield/GND
Green: NMEA_IN (-)
ACCESSORY
CABLE WIRES CONNECTS TO...
NMEA Data Output (-) or GND from GPS receiver
NMEA Data Output (+) from GPS receiver
NMEA Data Input (+) on Chartplotter
Speaker (-)/GND
Speaker (+)
NMEA Data Input (-) on Chartplotter
Connecting to a GPS Receiver
If you connect the radio to a GPS receiver, the radio can automatically transmit your current position during an automated distress
call or during a normal DSC call.
Your radio supports a standard NMEA0183 input from a GPS receiver. Follow the steps below to connect your radio to your GPS
receiver:
VHF490 RADIO 1-800-BOATING
24

1. Connect the GREEN wire of the included accessory cable to the GPS DATA OUTPUT (-) WIRE or the GROUND WIRE on your
GPS receiver.
2. Connect the YELLOW wire of the included accessory cable to the GPS DATA OUTPUT (+) WIRE on your GPS receiver.
3. Be certain all wire connections are secure and that all open wires are adequately covered.
NOTE: to extend the life of the radio, use waterproof tape to seal electrical connections.
4. Plug the accessory cable into the accessory cable pigtail on the back of your radio.
GPS Verication
If the GPS receiver is correctly connected and it transmits valid data, the display shows GPS Data OK. Press ENT-1W25W to
open the GPS status screen and see detailed GPS data:
16
06/20 11:00:00
208o 30. 0 KT
35o 40. 610 N
139
o
46. 564 E
GPS Data: External
Date
Time
Current
channel
Course
Latitude
Longitude
Speed
Status
If the GPS does not send coordinates within 30 minutes, an audible alert sounds once and the display shows Input GPS. This message
remains until the coordinates are updated.
After 4 hours, the audible alert sounds again if no coordinates are received and the GPS is connected. After 23.5 hours, the radio
deleted the current coordinates and displays Input GPS.
See page 11 to manually set the GPS coordinates.
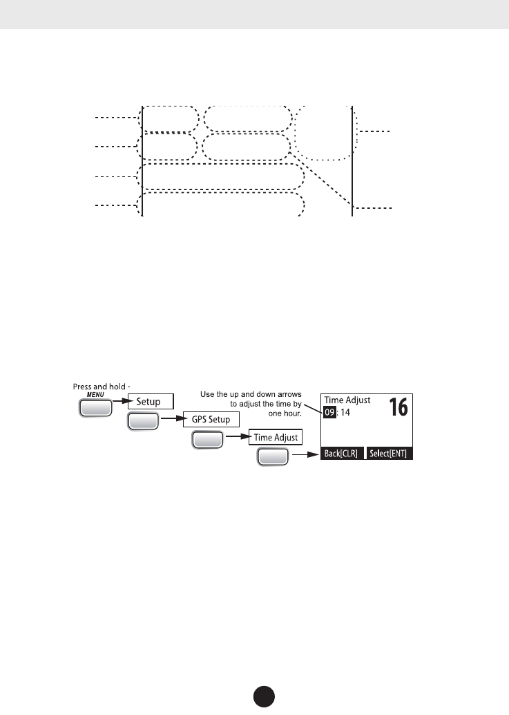
Conguring the GPS
If the radio is receiving valid GPS data, it will automatically set the clock to your local time based on the GPS location. You can
adjust your local time forward or back one hour if necessary (for example, if you are close to the border of a time zone); you can
also adjust for Daylight Savings Time.
Follow the steps below to adjust the time:
1.
CALL
ENT
1W/25W
ENT
1W/25W
ENT
1W/25W
Display the normal menu and choose the Setup sub-menu.
2. Select GPS Setup and then choose Time Adjust.
3. The display shows your current local time. To adjust the time forward one hour, use CHANNEL UP. To adjust the time back
one hour, use CHANNEL DOWN button. Press ENT-1W/25W button when you are finished.
4. The display prompts you to confirm the setting: choose Set to save the new time or Cancel to exit time setup without saving.
The radio returns to the GPS Setup menu.
5. If your local area observes Daylight Savings Time, choose Daylight Save and press the ENT-1W/25W button.
6. If Daylight Savings Time is currently in effect, select On. If Daylight Savings Time is not currently in effect, select Off.
7. Press ENT-1W/25W. The radio activates the new time setting and returns to the GPS Setup menu.
Connecting to a Chartplotter
Your radio provides a standard NMEA0183 GPS output that you can connect to a chartplotter. When it receives another boat’s
position data in a DSC call, the radio sends the position data to the chartplotter so you can see the location:
VHF490 RADIO 1-800-BOATING
25

1. Connect the BROWN wire of the accessory cable to the NEGATIVE (-) wire of your chartplotter’s NMEA data INPUT.
2. Connect the WHITE wire of the accessory cable to the POSITIVE (+) wire of your chartplotter’s NMEA data INPUT.
3. Be certain all wire connections are secure and that all open wires are adequately covered.
NOTE: To extend the life of the radio, use waterproof tape to seal electrical connections.
Connecting to an External Speaker
You can use an external speaker to monitor the radio from a different part of your boat or in a noisy environment. If you adjust the
VOLUME-PWR knob on the radio, it will also adjust the external speaker volume.
Your radio supports an external speaker with the following specifications:
• Minimum impedance of 4 Ohms
• Minimum power handling of 10 Watts
1. Connect the BLACK wire of the accessory cable to the GROUND WIRE of your external speaker.
2. Connect the RED wire of the accessory cable to the POSITIVE (+) WIRE of your external speaker.
3. Be certain all wire connections are secure and that all open wires are adequately covered.
NOTE: To extend the life of the radio, use waterproof tape to seal electrical connections.
MAINTENANCE AND TROUBLESHOOTING
Due to its rugged design, your radio requires very little maintenance. However, it is a precision electronic instrument, so you should
follow a few precautions:
• If the antenna has been damaged, you should not transmit except in the case of an emergency. A defective antenna may cause
damage to your radio.
• You are responsible for continued FCC technical compliance of your radio.
• You should arrange for periodic performance checks with your dealer.
Problem Things to Try
The radio won’t power on.
Check the power connections.
Check the fuse.
Check the master battery switch and branch circuit that connect to the radio.
The radio won’t transmit.
Make sure you are not in weather or scan mode.
Make sure you are not trying to transmit on a receive-only channel (see the channels
and frequency tables beginning on page 30).
Make sure you are transmitting at the correct power level for this channel (see the
channels and frequency tables beginning on page 30).
Make sure the duration of each transmission is less than 5 minutes.
Noise comes out of the speaker all the time Adjust the squelch level; it is probably too low.
I can’t hear anything (no volume) from the speaker. Adjust the squelch level; it is probably too high.
I can transmit, but no one can hear me. Check your UIC channel settings (see Setting the UIC channel mode (USA/CAN/INT)
on page 3).
The display flashes, and I don’t know why.
The display will flash if the radio is in a watch mode or in scan mode. Try turning off
scanning (page 6), Weather Alert Watch (page 8), or Triple/Dual Watch (see
page 10).
I can’t read the display.
Adjust the contrast and backlight brightness level (see page 11).
The display is too bright at night. Adjust the backlight brightness level.
Turn off the radio; hold CALL-MENU button and turn it back on (see page 11).
VHF490 RADIO 1-800-BOATING
26

Problem Things to Try
I can’t see any words on the display. Reset the radio back to the default brightness level: turn off the radio; hold the CALL-
MENU button and turn it back on.
I’m not getting any GPS data on my display.
Make sure your GPS receiver is correctly connected (see Connecting to a GPS
receiver, page 24).
Make sure your GPS receiver is working properly.
Make sure that your GPS receiver supports the NMEA parameters described in NMEA
Operation on page 34.
I’m not getting any hazard alerts.
Make sure Weather Alert Watch is turned on.
Check to make sure the FIPS codes in your radio include your current location (see
Using FIPS Codes for Weather Alerts on page 10).
I’m getting all the hazard alerts, not just the ones for
my area.
Check to make sure the FIPS codes in your radio were entered correctly (see Using
FIPS Codes for Weather Alerts on page 10).
Sometimes the Weather Alert Watch may catch a hazard alert in the middle of the
broadcast and miss which FIPS codes are affected. For your safety, the radio triggers
the alert tone and switches to the weather channel when this happens.
I can’t make Group DSC calls. Make sure the Group MMSI was entered correctly.
Where can I find my radio’s serial number? Look on the right side of the radio (the side with the microphone cord), behind the
mounting bracket.
The radio won’t let me enter my User MMSI. What do I
do? Contact customer service.
Engine Noise Suppression
Interference from the noise generated by the electrical systems of engines is sometimes a problem with radios. Your radio has been
designed to be essentially impervious to ignition noise and alternator noise. However, in some installations it may be necessary to
take measures to further reduce the effect of noise interference. Your radio’s DC battery wires, antenna lead, and accessory cables
should be routed away from the engine and engine compartment, and from power cabling carrying high currents. In severe cases of
noise interference, it may be necessary to install a noise suppression kit. Contact the dealer where you purchased the radio for more
information.
VHF490 RADIO 1-800-BOATING
27

SPECIFICATIONS
All specifications are subject to change without notice.
Radio Specifications
General
Controls Volume-Pwr, Squelch
Status Indicators Transmit power, Scan mode, Triple Watch mode, Battery High, Battery low, USA, CAN, INT, Alert,
Memory, GPS, Message, Weather band, GPS status and Channel Display
Display LCD (Full Dot Matrix)
Buttons ENT-1W/25W, Channel UP, Channel DOWN, CALL-MENU, WX-MEM, CLR-SCAN, 16/9-TRI, and
DISTRESS
Connectors and Cables Antenna, accessory, and DC power
Size H 2.62 inches x W 6.4 inches x L 5.12 inches (without Heat Sink)
H 66.6 mm x W 162.6 mm x L 130.1 mm (without Heat Sink)
Weight 1.0 kg (2.2 pounds)
Supply Voltage Nominal 13.8V DC, negative ground (10.5 VDC to 16.0 VDC)
Standard Accessories Mounting bracket and hardware, microphone hanger,
Antenna Impedance 50 Ω nominal
Microphone Rugged 2 kΩ condenser mic element with coiled cord
Speaker 1.77 inch, 8 Ω
Operating Temperature Range –20 °C to + 50 °C (–4 °F to +122 °F)
Shock and Vibration Meets or exceeds EIA standards, RS152B and RS204C
FCC Approvals Type accepted under part 80 of the Rules; meets Great Lakes Agreement and party boat requirements
Transmitter
Power Output 1 watt or 25 watt (user selectable)
Power Requirement 25 watts output: 6A@13.8V DC
Modulation ±5 kHz deviation
Hum and Noise Signal-to-Noise 45 dB@1 kHz with 3 kHz deviation with 1000 Hz modulating frequency (nominal)
Audio Distortion Less than 8% with 3 kHz deviation with 1000 Hz modulating frequency
Spurious Suppression –40 dBm @ Hi, –40dBm @ Lo
Output Power Stabilization Built-in automatic level control (ALC)
Frequency Range 156 to 163 MHz
Frequency Stability ±10 ppm @ –20°C to + 50°C
Receiver
Frequency Range 156 to 163 MHz
Sensitivity 0.25 μV for 12 dB SINAD (nominal)
Circuit Dual Conversion Super Heterodyne PLL (Crystal for DSC)
Squelch Sensitivity 0.2 μV Threshold
Spurious Response 75 dB (nominal)
Adjacent Channel Selectivity 75 dB @ ±25 kHz (nominal)
Audio Output Power 2.5 watts (10% Distortion, 8 Ω load)
Power Requirement 360 mA @ 13.8V DC at squelched, 920 mA @ 13.8V DC at maximum audio output
IF Frequencies 1st 41.925 MHz, 2nd 455 kHz (1st 21.7 MHz, 2nd 455 kHz for DSC)
VHF490 RADIO 1-800-BOATING
28

REFERENCE TABLES
NOTE: This radio does not support AIS channels.
Channel Descriptions and What They Mean
The table below lists the display name or channel description used in the following tables and what each description means.
Channel name/description Used for
DISTRESS SAFETY AND CALLING primarily emergency messages and distress calls
INTERSHIP SAFETY safety messages from one ship to another, or from a ship to Coast Guard aircraft
NON-COMMERCIAL (recreational or voluntary ships only) messages about the needs of the ship, including fishing reports, rendezvous,
scheduling repairs and berthing information
COMMERCIAL (working ships only) messages about the needs of the ship or the business the ship is engaged in
PUBLIC CORRESPONDENCE/MARINE OPERATOR
calls to the marine operator at a public coast station. Marine operators can
connect you to the telephone network so you can make and receive calls. (There
is usually a charge for this service.)
PORT OPERATIONS/VTS (vessel traffic system)
messages about the movement and safety of ships in or near ports, locks or
waterways. In certain major ports, some channels may be restricted to specific
types of port operations messages.
NAVIGATIONAL/BRIDGE TO BRIDGE
messages about ship navigation, for example, passing or meeting other ships,
maneuvering through locks, or navigating around drawbridges. Messages must
be short!
STATE CONTROL
messages about government regulation and control, boating activities, or
assistance to ships; also used to talk to ships and coast stations operated by
state or local governments
DIGITAL SELECTIVE CALLING DSC signals only (no voice communications allowed at any time)
VHF490 RADIO 1-800-BOATING
29

Marine Radio Channel Chart
Ch
No. USA INT CAN TX RX Channel Type/Name
01 x x 156.050 160.650 Public Correspondence (Marine Operator)
01A* x 156.050 156.0500 Port Operation and Commercial [VTS (Vessel Traffic System)] in some areas.
02 x x 156.100 160.700 Public Correspondence (Marine Operator)
03 x x 156.150 160.750 Public Correspondence (Marine Operator)
04 x 156.200 160.800 Public Correspondence (Marine Operator)
04A x 156.200 156.200 Canadian Coast Guard: West Coast
Commercial Fishing: East Coast
05 x 156.250 160.850 Public Correspondence (Marine Operator). Ship Movement, Port Operations
05A x x 156.250 156.250 Port Operations, Ship Movement, VTS in some areas
06 x x x 156.300 156.300 Inter-ship safety
07 x 156.350 160.950 Public Correspondence (Marine Operator)
7A x x 156.350 156.350 Commercial
08 x x x 156.400 156.400 Commercial (Inter-Ship Only)
09 x x x 156.450 156.450 Boater Calling, Commercial and Non-Commercial
10 x x x 156.500 156.500 Commercial
11 x x x 156.550 156.550 Commercial, VTS in selected areas
12 x x x 156.600 156.600 Port Operations, VTS in selected areas
13 x x x 156.650 156.650 Intership Navigation Safety (Bridge-to-Bridge). Ships >20m length maintain a
listening watch on this channel in US waters.
14 x x x 156.700 156.700 Port Operation, VTS in some areas
15 x Inhibit 156.750 Environmental (Receive Only)
15 x x 156.750 156.750 Inter-ship, Port Operations, Commercial, Non-Commercial, Ship Movement
(1 Watt Only)
16 x x x 156.800 156.800 Distress, Safety, Calling
17 x x x 156.850 156.850 State and Local Govt Maritime Control (1 Watt Only)
18 x 156.900 161.500 Port Operations, Ship Movement
18A x x 156.900 156.900 Commercial
Canada: Towing West Coast
19 x 156.950 161.550 Commercial
19A x x 156.950 156.950 Commercial
20 x x x 157.000 161.600 Port Operations
Canada: 1 Watt Only
20A x 157.000 157.000 Port Operation
21 x 157.050 161.650 Port Operations
21A x x 157.050 157.050 Coast Guard Only
21B x INHIBIT 161.650 Canadian CG Continuous Marine Broadcast (CMB) Service
22 x 157.100 161.700 Port Operations, Ship Movement
22A x x 157.100 157.100 US and Canadian Coast Guard Liaison and Airtime Safety Information
Broadcasts Announced on Channel 16
23 x x 157.150 161.750 Public Correspondence (Marine Operator)
23A x 157.150 157.150 US Coast Guard Only
23B x INHIBIT 161.750 Canadian CG Continuous Marine Broadcast (CMB Service
24 x x x 157.200 161.800 Public Correspondence (Marine Operator)
25 x x x 157.250 161.850 Public Correspondence (Marine Operator)
VHF490 RADIO 1-800-BOATING
30

Ch
No. USA INT CAN TX RX Channel Type/Name
25B x INHIBIT 161.850 Canadian CG Continuous Marine Broadcast (CMB) Service
26 x x x 157.300 161.900 Public Correspondence (Marine Operator)
27 x x x 157.350 161.950 Public Correspondence (Marine Operator)
28 x x x 157.400 162.000 Public Correspondence (Marine Operator)
28B x INHIBIT 162.000 Canadian CG Continuous Marine Broadcast (CMB) Service
60 x x 156.025 160.625 Public Correspondence (Marine Operator)
61 x 156.075 160.675 Public Correspondence (Marine Operator)
61A x 156.075 156.075 Canadian Coast Guard: West Coast
Commercial Fishing: East Coast
62 x 156.125 160.725 Public Correspondence (Marine Operator)
62A x 156.125 156.125 Canadian Coast Guard
63 x 156.175 160.775 Public Correspondence (Marine Operator)
63A x x 156.175 156.175 VTS, Port Operations
64 x x 156.225 160.825 Public Correspondence (Marine Operator)
64A x 156.225 156.225 Canada: Commercial Fishing Only
65 x 156.275 160.875 Public Correspondence (Marine Operator)
65A x x 156.275 156.275 Port Operations
Canada: Towing West Coast
66 x 156.325 160.925 Public Correspondence (Marine Operator)
66A x x 156.325 156.325 Port Operations
Canada: 1 Watt Only
67 x x x 156.375 156.375
US: Commercial, Bridge-to-Bridge, VTS in some areas
Canada: Search and Rescue, Commercial in some areas, Non-Commercial on
West Coast
68 x x x 156.425 156.425 Non -Cmmercial
69 x x x 156.475 156.475 Non-Commercial
Canada: Commercial East Coast. Non-Commercial West Coast
70 x x x 156.525 156.525 DSC (Digital Selective Calling) Only. No Voice Communications Allowed
71 x x x 156.575 156.575 US: Non-Commercial
Canada: Ship Movement West Coast, Non-Commercial East Coast
72 x x x 156.625 156.625 Non-Commercial (Ship-to-Ship)
73 x x x 156.675 156.675 Port Operations
74 x x x 156.725 156.725 Port Operations
75 x x x 156.775 156.775 Port Operations (1 Watt Only)
76 x x x 156.825 156.825 Port Operations (1 Watt Only)
77 x x x 156.875 156.875 Port Operations (Ship-to-Ship)
78 x 156.925 161.525 Port Operations
78A x x 156.925 156.925 Non-Commercial, Inter-Ship
79 x 156.975 161.575 Port Operations
79A x x 156.9750 156.975 Commercial, Inter-Ship
80 x 157.025 161.625 Port Operationsx
80A x x 157.025 157.025 Commercial, Inter-Ship
81 x 157.075 161.675 Port Operations
81A x x 157.075 157.075 Government, Canadian Coast Guard
82 x 157.125 161.725 Port Operations
82A x x 157.125 157.125 Government, Canadian Coast Guard
83 x 157.175 161.775 Port Operations
VHF490 RADIO 1-800-BOATING
31

Ch
No. USA INT CAN TX RX Channel Type/Name
83A x x 157.175 157.175 Coast Guard
83B x INHIBIT 161.775 Canadian CG Continuous Marine Broadcast (CMB) Service
84 x x x 157.225 161.825 Public Correspondence (Marine Operator)
85 x x x 157.275 161.875 Public Correspondence (Marine Operator)
86 x x x 157.325 161.925 Public Correspondence (Marine Operator)
87A x x x 157.375 157.375 Public Correspondence (Marine Operator)
88A x x 157.425 157.425 Public Correspondence (Marine Operator)
1019 x x 156.950 156.950 Commercial
1020 x x 157.000 157.000 Port Operations
1078 x x 156.925 156.925 Non-Commercial, Inter-Ship
1079 x x 156.975 156.975 Commercial, Inter-Ship
2019 x 161.550 161.550 Commercial
2020 x 161.600 161.600 Port Operations
2078 x 161.525 161.525 Port Operations
2079 x 161.575 161.575 Port Operations
Weather Channels and Frequencies (US, CAN, and INT)
Ch No. RX Freq Name on display
WX01 162.5500 162.550 MHz
WX02 162.4000 162.400 MHz
WX03 162.4750 162.475 MHz
WX04 162.4250 162.425 MHz
WX05 162.4500 162.450 MHz
WX06 162.5000 162.500 MHz
WX07 162.5250 162.525 MHz
WX08 161.6500 161.650 MHz
WX09 161.7750 161.775 MHz
Emergency Alert System (SAME) Information
Types of events
•
A WARNING is an event that alone poses a significant threat to public safety and/or property, probability of occurrence and location is
high, and the onset time is relatively short.
• A WATCH meets the classification of a warning, but either the onset time, probability of occurrance, or location is uncertain.
• An EMERGENCY is an event that, by itself, would not kill or injure or do property damage, but indirectly may cause other things
to happen that result in a hazard. For example, a major power or telephone loss in a large city alone is not a direct hazard, but
disruption to other critical services could create a variety of conditions that could directly threaten public safety.
• A STATEMENT is a message containing follow up information to a warning, watch, or emergency.
Event SAME Code Type
Blizzard Warning BZW Warning
Coastal Flood Watch CFA Watch
Coastal Flood Warning CFW Warning
Dust Storm Warning DSW Warning
Flash Flood Watch FFA Watch
Flash Flood Warning FFW Warning
VHF490 RADIO 1-800-BOATING
32

Event SAME Code Type
Flash Flood Statement FFS Statement
Flood Watch FLA Watch
Flood Warning FLW Warning
Flood Statement FLS Statement
High Wind Watch HWA Watch
High Wind Warning HWW Warning
Hurricane Watch HUA Watch
Hurricane Warning HUW Warning
Hurricane Statement HLS Statement
Severe Thunderstorm Watch SVA Watch
Severe Thunderstorm Warning SVR Warning
Severe Weather Statement SVS Statement
Special Marine Warning SMW Warning
Special Weather Statement SPS Statement
Tornado Watch TOA Watch
Tornado Warning TOR Warning
Tropical Storm Watch TRA Watch
Tropical Storm Warning TRW Warning
Tsunami Watch TSA Watch
Tsunami Warning TSW Warning
Winter Storm Watch WSA Watch
Winter Storm Warning WSW Warning
National Information Center NIC Test
Avalanche Watch AVA Watch
Avalanche Warning AVW Warning
Child Abduction Emergency CAE Emergency
Civil Danger Warning CDW Warning
Civil Emergency Message CEM Emergency
Earthquake Warning EQW Warning
Evacuation Immediate EVI Warning
Fire Warning FRW Warning
Hazardous Materials Warning HMW Warning
Law Enforcement Warning LEW Warning
Local Area Emergency LAE Emergency
911 Telephone Outage Emergency TOE Emergency
Nuclear Power Plant Warning NUW Warning
Radiological Hazard Warning RHW Warning
Shelter in Place Warning SPW Warning
Volcano Warning VOW Warning
Test Message ADR Test
Practice/Demo Warning DMO Test
Required Monthly Test RMT Test
Required Weekly Test RWT Test
Biological Hazard Warning BHW Warning
Boil Water Warning BWW Warning
Chemical Hazard Warning CHW Warning
VHF490 RADIO 1-800-BOATING
33

Event SAME Code Type
Dam Watch DBA Watch
Dam Break Watch DBW Warning
Contagious Disease Warning DEW Warning
Emergency Action Notification EAN Warning
Emergency Action Termination EAT Statement
Evacuation Watch EVA Watch
Flood Contamination Warning FCA Warning
Flash Freeze Warning FSW Warning
Iceberg Warning IBW Warning
Industrial Fire Warning IFW Warning
Landslide Warning LSW Warning
National Audible Test NAT Test
Network Notification Message NMN Statement
National Periodic Test NPT Test
National Silent Test NST Test
Power Outage Advisory POS Statement
Wild Fire Watch WFA Watch
Wild Fire Warning WFW Warning
Unrecognized Watch **A Watch
Unrecognized Emergency **E Statement
Unrecognized Statement **S Statement
Unrecognized Warning **W Warning
No Response Event Code
TXB Transmitter Backup On
TXF Transmitter Carrier On
TXO Transmitter Carrier On
TXP Transmitter Primary On
NMEA Operation
This radio supports NMEA0183 version 3.01.
NMEA Input
If you have difficulty getting your radio to receive data from your GPS receiver, check the device’s configuration. It should be set to
the following parameters:
Baud rate 4800 bps
Data bits 8
Parity None
Stop bits 1
Data amplitude Over 3.0 V
Drive capability Over 10 mA
The radio supports RMC, GLL, GNS, GGA and ZDA sentences. When these sentences are received, the radio displays latitude/
longitude, date, time, course, and speed. If any sentence except an RMC or GLL sentence is received, the radio uses the information
based on the following priority order.
• Status:RMC > GLL > GNS > GGA
VHF490 RADIO 1-800-BOATING
34

• Latitude/Longitude:RMC > GLL > GNS > GGA
• UTC Time: RMC > GLL > GNS > GGA > ZDA
• Date: RMC > ZDA
• Speed / Course:RMC
NOTE 1: If the radio receives only a GLL sentence, the radio does not display the current speed, course, and date.
NOTE 2: If the radio receives both RMC and GLL sentences, the radio uses only the RMC sentence.
NOTE 3: Status data is used to check whether the GPS data is valid or invalid.
NMEA Output
When the radio receives a DSC call (Distress, Position Reply, or Position Send), it outputs a DSC/DSE sentence from the NMEA
output port.
NOTE: When the radio receives a distress call, it outputs a sentence in the
following format:
• $CDDSC,12,3081234000,,07,00,0354013946,0657,,,S,E*6D
• $CDDSE,1,1,A,3081234000,00,60875646*13
VHF490 RADIO 1-800-BOATING
35

REGULATIONS AND SAFETY WARNINGS
Maritime Radio Services Operation
WARNING! This transmitter will operate on channels/frequencies that have restricted use in the United States. The channel assignments
include frequencies assigned for exclusive use of the U.S. Coast Guard, use in Canada, and use in international waters. Operation on these
frequencies without proper authorization is strictly forbidden. See the channel tables beginning on page 30 for a list of available channels and
their uses. If you are still not certain which channels to use, see the FCC maritime radio page at the FCC website (http:// wireless.fcc.gov/marine/)
or contact the FCC Call Center at 1-888-CALLFCC. For individuals requiring a license, such as commercial users, you should obtain a license
application from your nearest FCC field office (for US users) or Industry Canada (for Canadian users).
Basic Radio Guidelines
You should familiarize yourself with the rules on marine radios and be aware of which rules apply to your boat. Complete guidelines for all ship and
marine radio types can be found at the US Coast Guard website under the topic Radio Info for Boaters (the direct link is http://www.navcen.uscg.
gov/marcomms/boater.htm). Here are a few guidelines that affect nearly all boaters.
• If you have a VHF radio on your boat, you must maintain a watch on channel 16 (156.800 MHz) whenever the radio is not being
used to communicate. Effective from 2004, if a radio is carried, it must be turned on and set to channel 16 whenever your vessel
is underway.
• If you hear a distress call, wait a few minutes to let a shore station or Coast Guard vessel respond. If no other station has
responded after 5 minutes, you must respond to the distress call.
• Do not make false mayday or distress calls as a prank or to test your radio. (This is essentially like making a false 9-1-1 call;
you may be subject to fines.)
Compliance
FCC Part 15
The equipment has been tested and found to comply with the limits for a Class B device, pursuant to Part 15 of the FCC rules. These
limits are designed to provide reasonable protection against harmful interference in a residential installation. This equipment gen-
erates, uses, and can radiate radio frequency energy and, if not installed and used in accordance with the instructions, may cause
harmful interference to radio communications. However, there is no guarantee that interference will not occur in a particular instal-
lation. If this equipment does cause harmful interference to radio or television reception, which can be determined by turning the
equipment off and on, the user is encouraged to try to correct the interference by one of the following measures:
• Reorient or relocate the receiving antenna.
• Increase the separation between the equipment and the receiver
• Connect the equipment into an outlet on a circuit different from that to which the receiver is connected.
• Consult the dealer or an experienced radio/TV technician for help.
Changes or modifications not expressly approved by the party responsible for compliance could void your authority to operate the
equipment. Any change or modification must be approved in writing by West Marine.
This device complies with Part 15 of the FCC rules. Operation is subject to the following two conditions: (1) This device may not
cause harmful interference, and (2) this device must accept any interference received, including interference that may cause unde-
sired operation.
Tout changement ou modification non approuvé expressément par la partie responsable pourrait annuler le droit à l’utilisateur de
faire fonctionner cet équipement. Tout changement ou modification doit être approuvé par écrit par West Marine.
Avis de conformité à la FCC : Ce dispositif a été testé et s’avère conforme à l’article 15 des règlements de la Commission fédérale
des communications (FCC). Ce dispositif est soumis aux conditions suivantes: 1) Ce dispositif ne doit pas causer d’interférences
nuisibles et; 2) Il doit pouvoir supporter les parasites qu’il reçoit, incluant les parasites pouvant nuire à son fonctionnement.
In order to comply with FCC RF Exposure requirements, this device must be installed to provide at least 7.9 in (20 cm) separation
from the human body at all times.
VHF490 RADIO 1-800-BOATING
36

IC
This device complies with Industry Canada license-exempt RSS standard(s). Operation is subject to the following two conditions:
(1) this device may not cause interference, and (2) this device must accept any interference, including interference that may cause
undesired operation of the device.
Cet appareil est conforme aux normes RSS exemptes de licences d’Industrie Canada. Son fonctionnement est soumis aux deux
conditions suivantes : (1) cet appareil ne doit pas causer d’interférences nuisibles et (2), il doit pouvoir accepter les interférences,
incluant celles pouvant nuire à son fonctionnement normal.
In order to comply with FCC/ISED RF Exposure requirements, this device must be installed to provide at least 7.9 in. (20 cm)
separation from the human body at all times.
Afin de se conformer aux exigences d’exposition RF FCC/ISED, ce dispositif doit être installé pour assurer une séparation d’au
moins 7.9 in. (20 cm) du corps humain à tout moment.
Lead Warning
The cords on this product and/or accessories contain lead, a chemical known to the State of California to cause birth defects or other
reproductive harm. Wash hands after handling.
West Marine works to reduce lead content in our PVC coated cords in our prod-
ucts and accessories.
Antenna Selection and Installation
Your VHF490 has been designed to accommodate all of the popular marine VHF antennas. However, the selection and the installation
of the antenna is the responsibility of the user or installer.
The FCC has determined that excessive radiation poses a health risk to people near radio transmitting antennas. Therefore, the
antenna used with this radio should be installed using the following guidelines to ensure a suitable distance between the antenna
and persons close by.
• Small whip antennas (3 dB) or smaller should be installed keeping at least a two foot separation distance between the radiating
element and people.
• Medium antennas (6 dB) should be installed keeping at least a three foot separation distance.
• Larger antennas (9 dB) should be installed keeping at least a four foot separation distance.
• No person should touch the antenna or come into the separation distance when the radio is transmitting.
THREE YEAR LIMITED WARRANTY
This Limited Warranty is Void outside the United States of America and Canada.
What Does This Limited Warranty Cover?
West Marine warrants to the original retail purchaser of the West Marine product, where the purchase is made in the United States or Canada, that
for thirty-six (36) months from date of original retail purchase said product will be free from defects in materials and craftsmanship with only the
limitations or exclusions set out below.
How Long Does This Limited Warranty Last?
This limited warranty is valid for thirty-six (36) months from the date of the original retail purchase from West Marine within the United States (the
“Limited Warranty Term”).
The warranty period is not extended if we repair or replace a warranted product or any parts. West Marine reserves the right to change the availabil-
ity of limited warranties, at its discretion, but any changes will not be retroactive and will only apply to subsequent purchases.
What Does This Limited Warranty Not Cover?
This limited warranty is invalid where and does not cover:
• Software.
• Commercial or industrial use or operation.
• Normal maintenance items or normal wear and tear.
• Problems resulting from fire or exposure to caustic liquids.
• The product was damaged, modified or altered.
VHF490 RADIO 1-800-BOATING
37

• The product was used as part of any conversion kits, subassemblies, or any configurations not appropriate or contemplated for this product or
its use.
• Damage or loss occurring during return shipment of the product to West Marine or its authorized service representative.
• The product was subject to improper service, repair, installation, storage, maintenance, alteration or application.
• Problems that result from accident, neglect, abuse, misuse or issues with electrical power,
• Problems caused by accessories, parts or components added to the product that are not appropriate for this product or its use.
THIS WARRANTY GIVES YOU SPECIFIC LEGAL RIGHTS, AND YOU MAY ALSO HAVE OTHER RIGHTS WHICH VARY FROM STATE TO STATE (OR
JURISDICTION TO JURISDICTION). WEST MARINE’S RESPONSIBILITY FOR MALFUNCTIONS AND DEFECTS IN HARDWARE IS LIMITED TO
REPAIR OR REPLACEMENT AS SET FORTH IN THIS WARRANTY STATEMENT. ALL EXPRESS AND IMPLIED WARRANTIES FOR THE PRODUCT,
INCLUDING BUT NOT LIMITED TO ANY IMPLIED WARRANTIES AND CONDITIONS OF MERCHANTABILITY AND FITNESS FOR A PARTICULAR
PURPOSE, ARE LIMITED IN TIME TO THE TERM OF THIS LIMITED WARRANTY (AS SPECIFIED ABOVE). NO WARRANTIES, WHETHER EXPRESS
OR IMPLIED, WILL APPLY AFTER THE LIMITED WARRANTY PERIOD HAS EXPIRED. SOME STATES DO NOT ALLOW LIMITATIONS ON HOW LONG
AN IMPLIED WARRANTY LASTS, SO THE ABOVE LIMITATIONS MAY NOT APPLY TO YOU.
WE DO NOT ACCEPT LIABILITY BEYOND THE REMEDIES PROVIDED FOR IN THIS LIMITED WARRANTY OR FOR CONSEQUENTIAL OR
INCIDENTAL DAMAGES, INCLUDING, WITHOUT LIMITATION, ANY LIABILITY FOR THIRD-PARTY CLAIMS AGAINST YOU FOR DAMAGES, FOR
PRODUCTS NOT BEING AVAILABLE FOR USE, OR FOR LOST DATA OR LOST SOFTWARE. OUR LIABILITY WILL BE NO MORE THAN THE AMOUNT
YOU PAID FOR THE PRODUCT THAT IS THE SUBJECT OF A CLAIM. THIS IS THE MAXIMUM AMOUNT FOR WHICH WE ARE RESPONSIBLE.
SOME STATES DO NOT ALLOW THE EXCLUSION OR LIMITATION OF INCIDENTAL OR
CONSEQUENTIAL DAMAGES, SO THE ABOVE LIMITATION
OR EXCLUSION MAY NOT APPLY TO YOU.
What Must I Do To Keep the Warranty in Effect?
• You must keep your receipt or other appropriate documentation as proof of the date of sale and purchase.
• You must keep your serial number or order number for the product. This is found on the product itself or on your receipt.
• You must not do any of the things that will make the warranty invalid as provided for in this warranty statement.
•
You must use, install, maintain and operate the product in accordance with published specifications
and the user’s manual.
What Do I Do If I Need Warranty Service?
• Before the warranty expires, please call us at 1-800-BOATING (1-800-262-8464). Please also have your serial number or order number available.
• When you contact us, we will issue a Return Material Authorization Number for you to include with your return. We will also provide you the
address of where to ship the product.
• You must return the product to us in its original or equivalent packaging, prepay shipping charges, and insure the shipment or accept the risk if the
product is lost or damaged in shipment.
What Will West Marine Do?
During the Limited Warranty Term, if the product you return to us proves to be defective in materials or workmanship and not for the reasons which
would otherwise disqualify it (as explained here), then we will:
• At West Marine’s option, we will repair the product or, if we are unable to repair it, we will replace it with a comparable product that is new or
refurbished;
• Or, as an alternative, at West Marine’s option, we will refund you the original purchase price;
• If we repair or replace the product, we will return the repaired or replacement product to you; and
• Pay to ship the repaired or replacement product to you if you use an address in the United States (excluding Puerto Rico and U.S. possessions
and territories). Otherwise, we will ship the product to you freight collect.
• If we determine that the problem is not covered under this warranty, we will notify you of this when we return your product to you to the address
you provide us in the United States (excluding Puerto Rico and U.S. possessions and territories).
• We use new and refurbished parts made by various manufacturers in performing warranty repairs and in building replacement parts and systems.
Refurbished parts and systems are parts or systems that have been returned to West Marine, some of which were never used by a
customer. Replacement parts and systems are covered for the remaining time left in the Limited Warranty Term for the product you bought
(whatever time remains in the twelve months since purchase). West Marine owns all parts removed from repaired products.
Maintenance is the Owner’s Responsibility
Cleaning, polishing, lubricating, replacing filters, tuning, replacing worn parts, using your purchased product according to the user’s manual, and
regularly maintaining your purchased product is your responsibility.
What if I purchased a Plus Protection Plan?
Service will be provided to you under the terms of the Plus Protection Plan Contract. Please refer to that contract for details on how to obtain service.
VHF490 RADIO 1-800-BOATING
38

How State Law Relates to the Warranty.
This warranty gives you specific legal rights, and you may also have other rights which vary from state to state.
43000-1851 Rev:12/13
VHF490 RADIO 1-800-BOATING
39

NOTES
VHF490 RADIO 1-800-BOATING
40

VHF490 RADIO 1-800-BOATING
41

VHF490 RADIO 1-800-BOATING
42

VHF490 RADIO 1-800-BOATING
43

www.westmarine.com
Printed in Vietnam U01UT655ZZA(0)