VTech Telecommunications 80-7728-00 1.9GHz Cordless Phone User Manual
VTech Telecommunications Ltd 1.9GHz Cordless Phone
Users Manual

User’s manual
w w w.v t e c h p h o n e s . c o m
Models:
DS6421-2/DS6421-3/
DS6421-4

Congratulations
on purchasing your new VTech product. Before using this telephone, please
read the Important safety instructions on page 105 of this manual.
This manual has all the feature operations and troubleshooting necessary
to install and operate your new VTech telephone. Please review this manual
thoroughly to ensure proper installation and operation of this innovative and
feature rich VTech product. For support, shopping, and everything new at
VTech, visit our website at www.vtechphones.com. In Canada, please visit
www.vtechcanada.com.
The ENERGY STAR® program (www.energystar.gov)
recognizes and encourages the use of products that save
energy and help protect our environment. We are proud to
mark this product with the ENERGY STAR® label indicating it
meets the latest energy efciency guidelines.
The Bluetooth® word mark and logos are registered trademarks owned by
Bluetooth SIG, Inc. and any use of such marks by VTech Holdings Limited
is under license. VTech Holdings Limited is a member of Bluetooth SIG, Inc.
Other trademarks and trade names are those of their respective owners.
ii
Table of contents
i
Getting started .........................1
Parts checklist ............................1
Installation ..................................2
Telephone base and charger
installation ...............................3
Battery installation .....................4
Battery charging .........................5
Installation options .....................6
Tabletop to wall mount
installation ..............................6
Wall mount to tabletop
installation ...............................7
Handset layout ...........................8
Telephone base layout ...............11
Handset main menu ...................13
BLUETOOTH® ...........................15
Introducing Bluetooth .................15
Glossary of terms ......................16
Bluetooth setup ..........................17
Add a cell phone ........................17
Add a headset ............................19
Auto connection .........................20
Paired devices ............................21
Rename a device .......................21
Remove a device ........................22
Devices connection ....................23
Review the device list .................23
Connect/Disconnect an active
device ......................................23
Replace an active device ...........24
Bluetooth connection from
idle mode ................................24
Download directory ....................25
Interruption to directory
download .................................27
View the directory download
information ..............................27
Change PIN ................................28
Telephone settings ..................29
Ringers (handset) .......................29
Ringer volume (handset) ............29
Ringer tone .................................30
Set date/time ..............................31
Settings ......................................32
LCD language ............................32
Display alerts ..............................33
Use caller ID to automatically
set date and time ....................34
Rename handset ........................35
Key tone .....................................35
Dial mode ...................................36
Voice announce caller ID ...........36
Website.......................................37
Home area code .........................37
Cell area code ............................38
Telephone operation ................39
Make, answer or end a
home call ................................39
Call waiting on the home line .....41
Make, answer or end a cell call .41
Call waiting on the cell line .........41
Answer a cell call while on a
home call .................................42
Cell phone voicemail ..................42
Answer a home call while on a
cell call ....................................42
Conference home and cell calls .43
Using the home and cell lines
together ...................................43
Handset speakerphone ..............44
Volume control ...........................44
Silence the ringer .......................44
Mute ...........................................44
Temporary tone dialing ...............44
Hold ............................................45
Handset locator ..........................45
Equalizer.....................................45
Chain dialing...............................46
Redial list ....................................47
Review the redial list ..................47
Dial a redial entry .......................47
Save a redial entry to the
directory ..................................48
Delete a redial entry ...................48
Intercom .....................................49
iii
Table of contents
To transfer an incoming call .......50
Answer an incoming call during an
intercom call ............................50
Transfer an incoming call ...........51
Share an outside call ..................51
Hold a call and intercom.............52
Telephone operation ................53
Push-to-talk (PTT) ......................53
PTT On/Off .................................53
PTT to a single handset .............54
PTT to all handsets ....................55
Answering a PTT ........................56
Switch a one-to-one PTT
to intercom ..............................56
End PTT .....................................57
Answer an incoming call
during PTT ..............................57
Make an outgoing call
during PTT ..............................57
Directory .....................................58
Area code cross guard ...............58
Create a new entry in the home
directory ..................................59
Character chart ..........................60
Review the directory...................61
3-character alphabetical search 61
Dial a directory entry ..................62
Edit a directory entry ..................62
Edit the type of a directory entry 63
Delete a directory entry ..............63
Remove a downloaded
directory ..................................63
Speed dial ..................................64
Make a call using speed dial ......64
Assign a speed dial slot .............64
Reassign a speed dial slot .........64
Unassign a speed dial slot .........64
About caller ID ............................65
Caller ID history ..........................66
Missed calls indicator ................66
Memory match ..........................67
Review the caller ID log ............67
Make a caller ID log entry
ready to dial ............................68
Dial a caller ID log entry ............68
Save a caller ID log entry to the
directory ..................................69
Delete from the caller ID log .......70
Caller ID log display screen
messages ................................70
Answering system settings ....71
Answer ON/OFF .........................71
Announcement ...........................72
Play your announcement ...........72
Record your own
announcement ........................72
Delete your announcement ........73
Answering system setup ............74
Call screening ............................74
Number of rings ..........................74
Remote access code .................75
Message alert tone.....................75
Recording time setting ...............76
Answering system operation ..77
Answering system and
voicemail .................................77
Message capacity ......................77
New message indication ............78
Call intercept ..............................78
Telephone base ringer volume ...78
Message playback .....................79
Delete all old messages .............80
Record and play memos ............80
Message window displays..........81
Remote access ..........................82
Appendix ...................................83
Display screen messages ..........83
Handset and telephone base
indicators ................................88
Battery ........................................90
Expand your telephone system ..91
iv
Add and register a handset
(optional) .................................91
Replace a handset .....................92
Add and register a DECT
headset (optional) ...................92
Troubleshooting ..........................93
Important safety instructions ......103
Precautions for users of implanted
cardiac pacemakers ................104
Operating range .........................104
Maintenance ...............................104
About cordless telephones.........105
The RBRC® seal .........................105
Warranty .....................................106
FCC, ACTA and IC regulations ..108
Technical specications .............110
Index ..........................................111

1
Getting started
Parts checklist
Your telephone contains the following items. Save your sales receipt and
original packaging in the event warranty service is necessary.
To purchase a replacement battery or power adapter, visit our website at
www.vtechphones.com or call 1 (800) 595-9511. In Canada, go to
www.vtechcanada.com or dial 1 (800) 267-7377.
Getting started
Telephone
line cord
Handsets
(2 for DS6421-2,
3 for DS6421-3 and
4 for DS6421-4)
User’s manual
Batteries
(2 for DS6421-2,
3 for DS6421-3 and
4 for DS6421-4)
Quick start guide
Battery
compartment
covers
(2 for DS6421-2,
3 for DS6421-3 and
4 for DS6421-4)
Charger and
power adapter
(1 for DS6421-2,
2 for DS6421-3 and 3 for
DS6421-4)
Wall bracket
Telephone base
power adapter
Telephone base
2
Getting started
Installation
Install the telephone base close to a telephone jack and a power outlet not
connected to a wall switch. For optimum range and better reception, place
the telephone base in a central and open location.
When using a Bluetooth wireless technology enabled cell phone with this
telephone, make sure the cell phone is within 15 feet of the telephone base to
maintain a reliable connection between the cell phone and telephone base.
This product may be shipped with a protective sticker covering the handset
and/or telephone base display. Remove it before use.
Avoid placing the telephone base too close to:
Communication devices such as personal computers, computer routers,
television sets, VCRs, wireless routers (wireless broadband, Wi-Fi, or
802.11) or other cordless telephones.
Excessive heat sources.
Noise sources such as a window with trafc outside, motors, microwave
ovens, refrigerators, or uorescent lighting.
Excessive dust sources such as a workshop or garage.
Excessive moisture.
Extremely low temperature.
Mechanical vibration or shock such as on top of a washing machine or
work bench.
•
•
•
•
•
•
•

3
Getting started
Telephone base and charger installation
Install the telephone base and charger(s) as shown below.
Make sure that the electrical outlet is not controlled by a wall switch.
If you subscribe to digital subscriber line (DSL) high-speed Internet service
through your telephone line, you must install a DSL lter between the
telephone line cord and the telephone wall jack. The lter prevents noise and
caller ID problems caused by DSL interference. Contact your DSL service
provider for more information about DSL lters.
Use only the power adapters supplied with this product. To order a
replacement, visit our website at www.vtechphones.com or call
1 (800) 595-9511. In Canada, go to www.vtechcanada.com or dial
1 (800) 267-7377.
The power adapters are intended to be correctly oriented in a vertical or
oor mount position. The prongs are not designed to hold the plug in place
if it is plugged into a ceiling, under-the-table or cabinet outlet.
•
•
Telephone line cord
DSL filter (not
included) is
required if you
have DSL high
speed Internet
service
Telephone
base power
adapter
Electrical outlet
not controlled
by a wall switch
Telephone
wall jack
Telephone base
Power
adapter
Charger

4
Getting started
If the handset will not be used for a long time, disconnect and remove the
battery to prevent possible leakage.
To purchase a replacement battery, visit our website at
www.vtechphones.com or call 1 (800) 595-9511. In Canada, go to
www.vtechcanada.com or dial 1 (800) 267-7377.
•
•
Battery installation
Install the battery as shown below.
If the battery compartment cover is on the handset, press the indentation
and push the cover down to remove.
Plug the battery connector securely into the socket inside the handset
battery compartment, matching the color-coded label.
Place the battery with the label THIS SIDE UP facing up and the wires
inside the battery compartment.
Align the cover at against the battery compartment, then slide it towards
the center of the handset until it clicks into place.
Charge the handset by placing it in the telephone base or charger. The
CHARGE light is on when the handset charges.
1.
2.
3.
4.
5.
13
2
45
CHARGE light
BT183482/BT283482
BT183482/BT283482
BT183482/BT283482
2

5
Getting started
Battery charging
Once you have installed the battery, the screen indicates the battery status
(see the table below). If necessary, place the handset in the telephone base
or charger to charge the battery. For best performance, keep the handset in
the telephone base or charger when not in use. The battery is fully charged
after 16 hours of continuous charging. See the table on page 92 for battery
operating times.
If the screen is blank, you need to charge the handset without interruption for
at least 10 minutes to give the handset enough charge to use the telephone
for a short time. When the battery is low, the handset shows Low battery
and a ashing . If you are on a call in low battery mode, the handset beeps
every minute.
The following table summarizes the battery charge indicators and actions
to take.
Battery indicators Battery status Action
The screen is blank
or shows Place in
charger and ashes.
Battery has very little
or no charge and the
handset cannot be used.
Charge without interruption
until the screen shows
HANDSET X (at least
30 minutes).
The screen shows
Low battery and
ashes.
Battery has enough
charge to be used for a
short time.
Charge without interruption
until the screen shows
HANDSET X (at least
30 minutes).
The screen shows
HANDSET X.
Battery is charged. To keep the battery charged,
place it in the telephone base
or charger when not in use.
After you install your telephone or power returns following
a power outage, the handset will prompt you to set the date
and time. For instructions, see Set date/time on page 31 .
To skip setting the date and time, press OFF/CLEAR
or BACK.
SET DATE
09/30/09
MM/DD/YY
BACK
SET

6
Getting started
Installation options
Your telephone base is ready for tabletop use. If you want to mount yourIf you want to mount your
telephone on a wall, use the provided wall bracket to connect with a standard
dual-stud telephone wall mounting plate. If you do not have this mounting
plate, you can purchase one from many hardware or consumer electronics
retailers. You may need a professional to install the mounting plate.
Tabletop to wall mount installation
Plug the power cord and
telephone line into the telephone
base. If you are using DSL
lter, plug the other end of the
telephone line into the lter.
Route the telephone line cord (or
DSL lter) through the wall mount
bracket hole.
Position the telephone base as
shown below. Insert the extended
tabs (marked B) of the wall
bracket into the slots on the back
of the telephone base (marked
B). Push the telephone base
down until it clicks securely
in place.
1.
2.
Plug the telephone line cord (or
DSL lter) into the wall jack. Plug
the power adapter into a power
outlet not controlled by a
wall switch.
Align the holes on the bracket
with the standard wall plate
and slide the bracket down until
it locks securely. Bundle the
telephone line cord and power
adapter cord neatly with
twist ties.
3.
4.

7
Getting started
Wall mount to tabletop installation
If the telephone line cord and power adapter cord are bundled, untie
them rst.
Slide the black wall bracket up and remove it from the wall plate. Unplug
the telephone line cord (or DSL lter) from the wall. Unplug the power
adapter from the power outlet.
Slide the telephone base up and remove it from the wall bracket.
See Telephone base and charger installation on page 3.
1.
2.
3.
4.

8
Getting started
Handset layout
1
While reviewing a caller ID log entry, press repeatedly
to add or remove 1 in front of the telephone number
before dialing or saving it in the directory (page 68).
/HOME/FLASH
Press to make or answer a home call (page 40).
During a home call, press to answer an incoming call
when you hear a call waiting alert (page 42).
Flashes quickly when there is an incoming home call.
Flashes slowly when a home call is on hold.
Press to make or answer a home call using the
handset speakerphone (page 40).
During a call, press to switch between speakerphone
and handset (page 45).
Press to switch to tone dialing temporarily during a call
if you have pulse service (page 46).
CHARGE light
On when the handset is charging in the telephone base
or charger.
REDIAL/PAUSE
Press to review the redial list (page 49).
While dialing or entering numbers into the directory,
press and hold to insert a dialing pause (page 60).
/CELL
Press to make or answer a cell call (page 42).
During a cell call, press to answer an incoming call
when you hear a call waiting alert (page 42).
Flashes quickly when there is an incoming cell call.
Flashes slowly when a cell call is on hold.
SOFTKEYS
Press to select a menu item displayed above the key.
While in a menu, press to select an item, or save an
entry or setting.

9
Handset layout
Getting started
Handset layout (continued)
VOL/CID/
While in a menu, press to scroll down.
During a call, press to decrease the listening volume
(page 45).
When the handset is not in use, press to review the
caller ID log (page 67).
OFF/CANCEL
During a call, press to hang up (page 40).
While the handset is ringing, press to silence the ringer
temporarily (page 45).
Press and hold while the telephone is not in use to
erase the displayed messages (XX Missed calls and
Download dir aborted).
While in a menu, press to exit without making changes
or press and hold to return to idle mode.
/VOL /
While in a menu, press to scroll up.
During a call, press to increase the listening volume
(page 45).
When the handset is not in use, press to enter the
directory (page 61).
#
While reviewing a caller ID log entry or a directory
entry, press repeatedly to show other dialing options
(page 68 and page 62 respectively).
MUTE/DELETE
While on a call, press to mute the microphone (page 45).
While reviewing the caller ID log, directory or redial list,
press to delete an individual entry (page 70, page 63 and
page 50 respectively).
Press to delete digits when predialing (page 40).
While entering or editing a directory entry, press to
erase a digit or character.
During an outside call, intercom call, message or
announcement playback, press to change the quality of
the audio to best suit your hearing (page 47).

10
Getting started
Handset layout
PUSH-TO-TALK (PTT)
Press to begin a one-to-one or one-to-all
broadcast message(page 54).
When the handset is not in use, press
and hold to begin a one-to-all broadcast
message(page 56).

11
Getting started
Telephone base layout
/FIND HANDSET
Press to page all system
handsets (page 46).
/ANS ON/OFF
Press to turn the answering
system on or off (page 71).
/PLAY/STOP
Press to play messages
(page 80).
Press to stop message
playback (page 80).
/REPEAT
Press to repeat a message
or press twice to play the
previous message
(page 80).
/SKIP
Press to skip to the
next message
(page 80).
X/DELETE
Press to delete the message
currently playing (page 80).
When the phone is not in
use, press twice to delete all
previously reviewed messages
(page 82).

12
Getting started
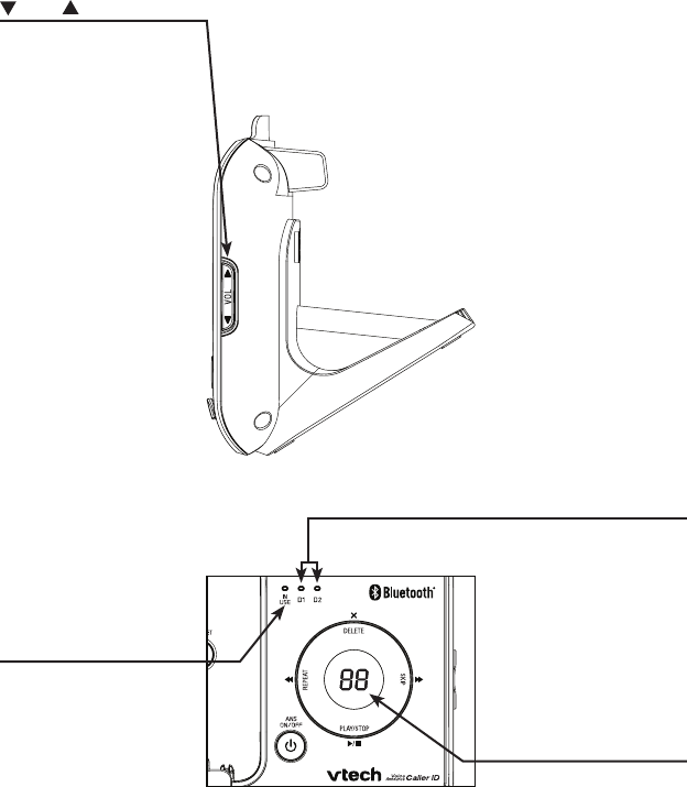
Telephone base layout
D1/D2 lights
On when the telephone
base is paired and
connected with a
Bluetooth device.
Flashes while pairing
a Bluetooth device,
or when there is an
incoming cell call.
Telephone base layout (continued)
VOL
Press to adjust the
volume during playback
(page 80).
When the phone is not in
use, press to adjust the
telephone base ringer
volume (page 79).
IN USE light
On when the handset is
in use.
Flashes when another
telephone sharing the
same line is in use or
on hold.
Flashes quickly when
there is an incoming
home call, transfer or
intercom.
Message window
Shows the number of
messages and other
answering system
information (page 83).

13
Getting started
Directory - store and search for
names and numbers.
Answering sys - record memos
and change your answering system
settings.
Caller ID log - review the caller ID
history or delete all caller ID log
entries.
Bluetooth - set up and manage your
Bluetooth enabled devices.
Handset main menu
To enter the main menu:
Press MENU when the handset is not in use.
Press
or
to highlight a handset feature menu, then press
SELECT
to
enter that menu.
To return to the previous menu, press OFF/CANCEL.
To return to idle mode, press and hold OFF/CANCEL.
1.
2.
Intercom - make intercom call to a
system handset.
Play messages
Answering sys
Directory
Caller ID log
Intercom
BACK SELECT
Play messages
Answering sys
Directory
Caller ID log
Intercom
BACK SELECT
Play messages
Answering sys
Directory
Caller ID log
Intercom
BACK SELECT
Play messages
Answering sys
Directory
Caller ID log
Intercom
BACK SELECT
Play messages
Answering sys
Directory
Caller ID log
Intercom
BACK SELECT
Play messages - Playback messages
from the answering system.
Answering sys
Directory
Caller ID log
Intercom
Bluetooth
BACK SELECT

14
Getting started
Handset main menu (continued)
Settings - change your telephone
settings.
Ringers - set up ringers for the home
and cell lines.
Directory
Caller ID log
Intercom
Bluetooth
Ringers
BACK SELECT
Caller ID log
Intercom
Bluetooth
Ringers
Set date/time
BACK SELECT
Set date/time - set up the date and
time of your telephone.
Intercom
Bluetooth
Ringers
Set date/time
Settings
BACK SELECT
Bluetooth
Ringers
Set date/time
Settings
Website
BACK SELECT
Website - displays the VTech website
address.
15
Introducing Bluetooth
Your new DS6421 telephone system with Bluetooth wireless technology has
the following features:
Pair up to four Bluetooth enabled devices (cell phones or headsets) with
the telephone base.
Connect a maximum of two cell phones to make and receive cell calls.
Only one cell phone can be active on a call at a time.
Connect one Bluetooth enabled headset for making and receiving
home calls.
Conference cell and home calls.
Make and receive calls using your cell phone plan while utilizing the ease
and comfort of your home telephone system.
IMPORTANT INFORMATION
After plugging in the telephone base, wait at least 20 seconds before
connecting a Bluetooth device. The screen shows Bluetooth system busy
if you try to connect too soon.
Refer to the user's manual of your Bluetooth enabled cell phone or
headset for more information about how that device uses Bluetooth
connectivity.
Bluetooth wireless technology operates within a short range (a maximum
of approximately 30 feet) from the telephone base. Keep connected cell
phones and headset within this range.
If your cell phone has poor reception in your home, the DS6421 cannot
improve the reception. However, if there is a location in your house with
better reception, you can leave your cell phone at that location while you
use the DS6421 cell line. In order for this to work, the telephone base
must be within 30 feet of the cell phone.
Charge your cell phone while it is connected to the telephone base.
Your cell phone's battery will discharge faster while it is connected to the
telephone base via Bluetooth wireless technology.
Monitor your cell phone's usage because minutes are deducted from your
cellular plan for the duration of all cell calls.
Refer to the Bluetooth setup section (page 17) to learn how to set up and
manage your Bluetooth enabled device(s). Refer to the Telephone operation
section (page 40) on how to operate your Bluetooth devices with your new
DS6421 telephone system with Bluetooth wireless technology. Refer to the
Troubleshooting section (page 95) if you experience difculty using the
telephone system.
The Bluetooth® word mark and logos are owned by Bluetooth SIG, Inc. and
any use of such marks by VTech Holdings Limited is under license.
VTech Holdings Limited is a member of Bluetooth SIG, Inc. Other trademarks
and trade names are those of their respective owners.
•
•
•
•
•
•
•
•
•
•
•
Bluetooth

16
Bluetooth
Glossary of terms
Below are some terms used in this user’s manual to help you become
familiar with using your Bluetooth enabled devices and your new DS6421
telephone system.
Active device slots - the Device list has two active slots for two cell
phones, or one cell phone and one headset. When a device in the list is
active it will have a D1 or D2 in front of the device name. In order to use a
Bluetooth device on a call, it must be in an active slot and be connected.
Bluetooth cell phone - refers to a Bluetooth enabled cellular telephone.
Cell line - the telephone line associated with your cell phone service. On
your DS6421/6401 handset, press /CELL to use the cell line.
Connected - when you pair a Bluetooth device to the DS6421/6401 it
is placed in a active slot and automatically connected. When a device is
connected a 1 and/ or 2 will display after on the handset screen and the
D1 and/or D2 light on the telephone base will be on. If a device loses its’
connection to the telephone base, it must be reconnected before you can use
the device with the DS6421/6401.
Disconnected - when a device is disconnected a 1 and/or 2 will display after
on the handset screen and the D1 and/or D2 light on the telephone base
will be on.
Discoverable mode - before a Bluetooth enabled device can be paired, it
must be set to this mode. When pairing your cell phone, the telephone base
will be set to this mode. When pairing a headset, the headset must be set to
this mode. Depending on the manufacturer, this mode is sometimes referred
to as Find Me or Visibility.
Home line - your conventional telephone land line. On your DS6421/6401
handset, press /HOME/FLASH to use the home line.
Paired devices - once Bluetooth enabled devices have been paired with the
telephone base, they will appear in the device list. A maximum of four devices
can be paired with the telephone base.
Pairing - this refers to the process of Bluetooth enabled devices registering
device information with each other. The telephone base must be paired with a
Bluetooth enabled cell phone or headset before the Bluetooth device can be
used. Depending on the manufacturer, this is also referred to as Bonding.
PIN - by default, the PIN is 0000 for the telephone base and for most
Bluetooth devices. PIN information must be exchanged between
Bluetooth devices before they can be used. This is also known as a
Passkey or Passcode.

17
Bluetooth
Bluetooth setup
To use a Bluetooth enabled cell phone or headset with your DS6421, you
must rst pair and connect your Bluetooth device(s) with the telephone base.
All DS6421/6401 handsets can be used to make or answer on the cell
phone line.
Bluetooth wireless technology operates within a short range (30 feet). When
you pair a Bluetooth cell phone or Bluetooth headset to the telephone base,
move closer to the telephone base to maintain sufcient signal strength.
Add a cell phone
Before you begin, make sure that you have cellular coverage and your
Bluetooth enabled cell phone is not connected to any other Bluetooth device.
Refer to your cell phone user's manual to learn how to
search for or add new Bluetooth devices.
To pair and connect a cell phone:
Press MENU on the handset when it is not in use.
Press or to highlight Bluetooth, then
press SELECT.
Press SELECT to choose Add device, then press
SELECT to choose Add cellular. The screen displays
Please wait... followed by 1. If cell is connected to BT
device, please disconnect it.
If there are already four paired devices on the
device list, the 4th device on the device list will be
automatically removed, regardless of whether the
new device pairing is successful or not (page 24).
If there are already two active devices on the device
list with prex D1: or D2:, the handset shows Only
2 devices can be ready for connection. You are
prompted to deactivate an active device.
Press NEXT. The screen displays 2. Place cell phone
next to base.
All devices that are connected to the telephone
base are disconnected until the pairing process is
completed.
1.
2.
3.
•
•
4.
•
BLUETOOTH
Add device
Device list
Download dir
Change PIN
BACK SELECT
ADD DEVICE
Add cellular
Add headset
BACK SELECT
Set cell to
search base:
VTech DS6421
discoverable
PIN:0000
Directory
Caller ID log
Intercom
Bluetooth
Ringers
BACK SELECT

18
Bluetooth
Add a cell phone (continued)
Press NEXT to turn on the telephone base discoverable
mode. The screen displays Set cell to search base:
VTech DS6421 discoverable PIN: 0000. Promptly turn
on the Bluetooth feature of your cell phone and search
for or add new devices.
Your cell phone may require a passcode. In this case
the handset screen displays Check cellular. ENTER
PASS CODE. Enter the cell phone passcode into the
handset and press SET to save.
Enter the PIN of the telephone base (the default PIN
is 0000) into your cell phone to continue the pairing
process. The handset displays Adding Cell Phone A
to device list... on the screen.
When a device is successfully connected, the handset displays Cell
Phone A is added and connected to base. You hear a conrmation
tone. The corresponding status icon ( 1 or 2) displays. The
corresponding device light on the telephone base (D1 or D2)
turns on.
If you have trouble pairing your cell phone, it may not be compatible
with your DS6421. Check the Bluetooth compatibility list at
www.vtechphones.com.
5.
•
6.
7.
The pairing process may take up to one minute. If the pairing process fails,
try again.
The steps for the pairing process may vary for different cell phones. If
this happens, follow the prompts on your cell phone and your DS6421 to
complete the pairing process.
If you put the handset back in the telephone base or charger while pairing,
the pairing is cancelled and the handset returns to idle mode.
•
•
•
Adding
Cell Phone A
to device
list...
Cell Phone A
is added
and connected
to base.

19
Bluetooth
Add a headset
Before you begin, make sure that your Bluetooth enabled
headset is not connected to any other Bluetooth device.
Refer to your headset user's manual to learn how to search
for or add new Bluetooth devices.
To pair and connect a headset:
Press MENU on the handset when it is not in use.
Press or to highlight Bluetooth, then
press SELECT.
Press or to highlight Add device, then press
SELECT.
Press or to highlight Add headset, then
press SELECT. The screen displays If headset is
connected to cell, please disconnect it.
Press NEXT.
If there is another headset already active, the screen
will show Only 1 headset in device list can be
ready for connection and prompt you to replace an
existing paired device (page 24).
When you already have two active devices, the
handset shows Only 2 devices can be ready for
connection. The telephone base will deactivate
another headset from active slot automatically.
Press NEXT. The screen displays Pls set headset to
discoverable mode, then press NEXT.
All devices that are connected to the telephone base
are temporarily disconnected.
The screen displays Searching for Bluetooth
headsets... Set your headset to discoverable mode
(refer to the user’s manual of your headset).
When the screen displays the found devices, press
or to highlight your headset and then press NEXT.
Enter the PIN of your headset. The PIN for most
Bluetooth devices is 0000 (refer to the user’s manual of
your headset). Then press NEXT.
1.
2.
3.
4.
•
•
4.
•
5.
6.
7.
ADD DEVICE
Add cellular
Add headset
BACK SELECT
If headset is
connected to
cell, please
disconnect it.
NEXT
Pls set headset
to discoverable
mode
BACK NEXT
Searching for
Bluetooth
headsets...
FOUND DEVICES
Headset A
Headset B
BACK SELECT
Directory
Caller ID log
Intercom
Bluetooth
Ringers
BACK SELECT