Zhongshan City Richsound Electronic CD750 Micro CD System, Docking Speaker User Manual
Zhongshan City Richsound Electronic Industrial Ltd. Micro CD System, Docking Speaker
User Manual
manual of CD750D, CD751D

Contents
What’s in the Box ...................................................................................................................2
Specications .........................................................................................................................2
Important Safety Instructions ..............................................................................................3
Safety ........................................................................................................................................................................................3
Identifying the Parts .............................................................................................................6
Main Unit ................................................................................................................................................................................6
Remote Control ....................................................................................................................................................................7
Preparations...........................................................................................................................8
Prepare the Remote Control ............................................................................................................................................ 8
Replace the Remote Control Battery ............................................................................................................................ 8
Connections ...........................................................................................................................9
Use LINE IN socket ............................................................................................................................................................... 9
Connect the FM Aerial ........................................................................................................................................................9
Power Connection ............................................................................................................................................................... 9
Set the Clock ....................................................................................................................... 10
Set the alarm Timer ............................................................................................................ 10
General Operation .............................................................................................................. 11
Standby/ON .........................................................................................................................................................................11
Select Modes .......................................................................................................................................................................11
Adjust the Volume .............................................................................................................................................................11
Select the Equaliser ...........................................................................................................................................................11
Adjust the Brightness .......................................................................................................................................................11
Adjust the Bass....................................................................................................................................................................11
Set the Sleep Timer ...........................................................................................................................................................12
LINE IN Operation ............................................................................................................... 12
iPod/iPhone/iPad Operation ............................................................................................. 12
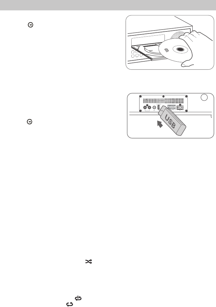
CD/USB Operation .............................................................................................................. 13
CD Operation.......................................................................................................................................................................13
USB Operation ....................................................................................................................................................................13
Play Control ..........................................................................................................................................................................13
About the Discs ..................................................................................................................................................................14
Bluetooth Operation .......................................................................................................... 15
Pair Bluetooth-enabled Devices ...................................................................................................................................15
NFC (Near Field Communication) Operation ...........................................................................................................16
Listen to Music from Bluetooth Device ......................................................................................................................16
FM Operation ...................................................................................................................... 16
Auto Scan and Save Preset Station ..............................................................................................................................16
Tuning in a Station ............................................................................................................................................................16
Presetting Stations Manually .........................................................................................................................................17
Showing RBDS information ............................................................................................................................................17
Troubleshooting ................................................................................................................. 17

2
What’s in the Box
Main Unit Remote Control Instruction Manual
AC Power Cord RCA to 3.5mm audio cable FM wire antenna
• Design and specications are subject to change without notice.
Specifications
General
Power requirements: AC120V~ 60 Hz
Power consumption: 30W
Power consumption of standby mode: < 1 W
Output power (max): 15 W x2
Total harmonic distortion: 1%(1kHz, 1W)
Audio input sensitivity: 500mV
Frequency response: 45Hz - 20KHz
Tuning range: 87.5 - 108.0MHz
Dimension (W x H x D): 366 x 120 x 232 mm
Impedance: 6 Ω
Remote Control
Distance: 6m
Angle: 30°

3
8 Protect the power cord from being walked on
or pinched, particularly at plugs, convenience
receptacles and at the point where they exit
from the apparatus.
9 Only use attachments/accessories specied
by the manufacturer.
10 Use only with the cart, stand, tripod,
bracket or table specied by the
manufacturer, or sold with the
apparatus. When a cart or rack is
used, use caution when moving the cart/
apparatus combination to avoid injury from
tip-over.
11 Unplug the apparatus during lightning
storms or when unused for long periods of
time.
12 Refer all servicing to qualied personnel.
Servicing is required when the apparatus has
been damaged in any way, such as power
supply cord or plug is damaged, liquid has
been spilled or objects have fallen into the
apparatus, the unit has been exposed to rain
or moisture, does not operate normally, or
has been dropped.
13 This equipment is a Class II or double
insulated electrical appliance. It has
been designed in such a way that it does not
require a safety connection to electrical earth.
14 The apparatus shall not be exposed to
dripping or splashing. No objects lled with
liquids, such as vases,shall be placed on the
apparatus.
15 Minimum distance around the apparatus for
sucient ventilation is 5cm.
16 The ventilation should not be impeded by
covering the ventilation openings with items,
such as newspapers,table-cloths, curtains,
etc…
17 No naked ame sources, such as lighted
candles, should be placed on the apparatus.
18 The apparatus shall be used in moderate
climates only.
19 The plug shall remain readily operable.
20 CAUTION: Danger of explosion if battery is
incorrectly replaced. Replace only with the
same or equivalent type.
CAUTION
CAUTION: TO REDUCE THE RISK OF ELECTRIC
SHOCK, DO NOT REMOVE COVER (OR BACK).
NO USER-SERVICEABLE PARTS INSIDE. REFER
SERVICING TO QUALIFIED SERVICE PERSONNEL.
RISK OF ELECTRIC SHOCK
DO NOT OPEN
The lightning ash with arrowhead
symbol, within an equilateral triangle,
is intended to alert the user to the
presence of uninsulated “dangerous
voltage” within the product’s enclosure
that may be of sucient magnitude as
to constitute a risk of electric shock to
persons.
The exclamation point within an
equilateral triangle is intended to
alert the user to the presence of
important operating and maintenance
(servicing) instructions in the literature
accompanying the appliance.
Safety
1 Read these instructions – All the safety and
operating instructions should be read before
this product is operated.
2 Keep these instructions – The safety and
operating instructions should be retained for
future reference.
3 Heed all warnings – All warnings on the
appliance and in the operating instructions
should be adhered to.
4 Follow all instructions – All operating and
usage instructions should be followed.
5 Clean only with a dry cloth.
6 Do not block any ventilation openings.
Install in accordance with the manufacturer’s
instructions.
7 Do not override the safety purpose of the
polarized or grounding plug. A polarized
plug has two blades with one wider than the
other. A grounding plug has two blades and a
third grounding prong. The wide blade or the
third prong is provided for your safety. If the
provided plug does not t into your outlet,
ask an electrician to replace the obsolete
outlet.
Important Safety Instructions

4
22 Dierent types of batteries or new and used
batteries are not to be mixed.
23 Batteries are to be inserted with the correct
polarity.
24 Exhausted batteries are to be removed from
the product.
25 Batteries shall be disposed of in a safe way.
Only dispose of batteries in specic collection
containers (contact the your retailer for
more information) in order to protect the
environment.
26 Warning: Batteries shall not be exposed to
excessive heat such as sunshine, re or the
like.
27 If the supply cord is damaged, it must be
replaced by the manufacturer, its service
agent or similarly qualied persons in order
to avoid a hazard.
28 Batteries should be set up with the correct
polarity.
29 The supplier is clear from his responsibility
for all kinds of incidents caused by the
non-respect of battery polarity; the appliance
will not be covered by the warranty if
damaged.
30 Before operating this system, check the
voltage of this system to see if it is identical to
the voltage of your local power supply.
31 Changes or modications to this unit not
expressly approved by the party responsible
for compliance will void the user’s authority
to operate the equipment.
32 The rating label is pasted on the bottom of
the equipment.
DO NOT INGEST BATTERY,CHEMICAL BURN
HAZARD
The remote control supplied with this
product contains a coin/button cell battery.
If the coin/button cell battery is swallowed,
it can cause severe internal burns in just 2
hours and lead to death. Keep new and used
batteries away from children. If the battery
compartment does not close securely, stop
using the product and keep it away from
children. If you think batteries might have
been swallowed or placed inside any part of
the body, seek immediate medical attention.
This apparatus includes this label:
WARNING
To avoid danger of suocation, keep this bag
away from babies and children. Do not use in
cribs, beds, carriages or playpens. This bag is
not a toy. Discard bag and any other packing
materials immediately after removing
product. Do not re-use this bag.
Notice for CDR/CDRW MP3 users:
Depending on the type of CD burner, on the
disc brand, the burning speed and the MP3
compression level, some reading problems may
occur.
“Made for iPod,” “Made for iPhone,” and “Made
for iPad,”mean that an electronic accessory
has been designed to connect specically
to iPod, iPhone, or iPad , respectively, and
has been certied by the developer to meet
Apple performance standards. Apple is not
responsible for the operation of this device
or its compliance with safety and regulatory
standards. Please note that the use of this
accessory with iPod, iPhone or iPad may
aect wireless performance. iPhone, iPod,
iPod classic, iPod nano, iPod shue, and iPod
touch are trademarks of Apple Inc., registered
in the U.S. and other countries. iPad is
trademarks of Apple Inc.
The Bluetooth® word mark and logos are
registered trademarks owned by Bluetooth SIG,
Inc. and any use of such marks by Gibson is under
license. Other trademarks and trade names are
those of their respective owners.
The N Mark is a trademark or registered
trademark of NFC Forum, Inc. in the United States
and in other countries.
5
FCC STATEMENT (for US customers)
This device complies with Part 15 of the FCC Rules. Operation is subject to the following two conditions:
(1) this device may not cause harmful interference, and
(2) this device must accept any interference received, including interference that may cause undesired
operation.
- “Warning: Changes or modications to this unit not expressly approved by the party responsible for
compliance could void the user’s authority to operate the equipment.”
- “NOTE: This equipment has been tested and found to comply with the limits for a Class B digital
device, pursuant to Part 15 of the FCC Rules. These limits are designed to provide reasonable
protection against harmful interference in a residential installation. This equipment generates,
uses and can radiate radio frequency energy and, if not installed and used in accordance with
the instructions, may cause harmful interference to radio communications. However, there is no
guarantee that interference will not occur in a particular installation. If this equipment does cause
harmful interference to radio or television reception, which can be determined by turning the
equipment o and on, the user is encouraged to try to correct the interference by one or more of the
following measures:
- Reorient or relocate the receiving antenna.
- Increase the separation between the equipment and receiver.
- Connect the equipment into an outlet on a circuit dierent from that to which the receiver is
connected.
- Consult the dealer or an experienced radio/TV technician for help.”
FCC ID:Z8M-CD750
FOR CANADIAN CONSUMERS
This device complies with Industry Canada licence-exempt RSS standard(s). Operation is subject to the
following two conditions: (1) this device may not cause interference, and (2) this device must accept any
interference, including interference that may cause undesired operation of the device.
IC: 255A-8038989

6
Identifying the Parts
Main Unit
Select the preset equaliser.
13 H button
In CD/USB/Bluetooth/DOCK mode, skip to
previous audio track.
In CD/USB/DOCK mode, press and hold the
button to search backward within a track/
disc.
In FM mode, search radio stations manually,
press and hold the button to search
automatically.
14 BF button
Play/pause/resume playback.
Press and hold to activate the pairing
function in Bluetooth mode and disconnect
the existing paired Bluetooth device.
Conrm a selection.
15 G button
In CD/USB/Bluetooth/DOCK mode, skip to
next audio track.
In CD/USB//DOCK mode, press and hold the
button to search forward within a track/disc.
In FM mode, search radio stations manually,
press and hold the button to search
automatically.
16 Disc Compartment
17 Display
18 Lightning Dock
DOCK for iPod/iPhone/iPad
1 Remote Control Sensor
Receive the signal from the remote control.
2 NFC Sensor area
3 button
Switch the unit between ON and Standby
mode.
4 button
Select a play function.
5 button
Select shue play mode.
Select repeat play modes.
6 K button
Open and close the disc compartment.
7 (CLOCK) button
In standby mode, press and hold to activate
clock setup.
Display current clock .
8 button
Programme soundtracks.
Presets radio stations.
Press and hold to scan for radio stations in
FM mode.
9 VOLUNE+/- dial
Increase/decrease the volume level.
10
Mute or resume the sound.
11 (EQ) button

7
Rear View
1 LINE IN (R L) Sockets
2 FM Antenna Socket
Connect to a FM Antenna.
3 USB Socket
4 AC~ Socket
Connect to power cord.
Remote Control
1
Switch the unit between ON and Standby
mode.
2 SOURCE buttons
Select the play function.
3 INFO
Displays playback information.
4 INTRO
In CD/USB mode, every soundtrack will be
played for 10 Sec.
5 L/MENU
Stop play.
In the standby mode, press and hold to
switch to the CLOCK SYNC mode.
6 ALBUM/PRESET ,
Select a previous/next preset station.
Skip to the previous/next album.
7 Numeric keypad (0~9)
In CD/USB mode, select a track number for
playback.
In FM mode, choose the preset radio station.
8 DIMMER
Adjust display brightness.
9 K
Open or close disc compartment.
10 SHUFFLE
Select shue play mode.
11 REPEAT
Select repeat play modes.
12
Mute or resume the sound.
13 BF/PAIR
Play/pause/resume playback.
Press and hold to activate the pairing
function in Bluetooth mode and disconnect
the existing paired Bluetooth device.
14 H/G
In CD/USB/BT mode, skip to previous/next
track.
In CD/USB mode, press and hold search
backward/forward within a track/disc.
In FM mode, search radio stations manually,
press and hold the button to search automatically.
In clock/alarm setup, prees the button to
adjust.
15 VOL+/VOL-
Increase/decrease the volume level.
16 EQ
Select the preset equalizer.
17 BASS
Turn the bass ON/OFF.
18 SLEEP/TIMER
Set the sleep timer.
In standby mode, press and hold to Set the
alarm timer.
19 CLOCK
In standby mode, press and hold to activate
clock setup.
Display current clock .
20 PROG
Programme soundtracks.
Presets radio stations.
Press and hold to scan for radio stations in FM
mode.

8
Preparations
Prepare the Remote Control
The provided Remote Control allows the unit to be
operated from a distance.
Even if the Remote Control is operated within the
eective range (6m), remote control operation may be
impossible if there are any obstacles between the unit
and the remote control.
If the Remote Control is operated near other products
which generate infrared rays, or if other remote
control devices using infra-red rays are used near the
unit, it may operate incorrectly. Conversely, the other
products may operate incorrectly.
First-time use:
The unit has a pre- installed lithium CR2025 battery. Remove the protective tab to
activate the remote control battery.
Replace the Remote Control Battery
1 Pull out the battery tray and remove the old battery.
2 Place a new CR2025 battery into the battery tray with correct polarity (+/-) as indicated.
3 Insert the battery tray back into the slot.
Precautions Concerning Batteries
• When the Remote Control is not going to be used for a long time (more than a month), remove the
battery from the Remote Control to prevent it from leaking.
• If the batteries leak, wipe away the leakage inside the battery compartment and replace the batteries
with new ones.
• Do not use any batteries other than those specied.
• Do not heat or disassemble batteries.
• Never throw them in re or water.
• Do not carry or store batteries with other metallic objects as this may cause the batteries to
short-circuit, leak or explode.
• Never recharge a battery unless it is conrmed to be a rechargeable type.
Max. 6 m
1
CD
INFO
FM LINE IN
INTRO
SLEEP
TIMER
BASS
REPEAT
ALBUM/PRESET
23
45
789
DIMMER CLOCK
EQ
6
VOLVOL
0PROG
SHUFFLE
BT
DOCK
MENU
30。
30。

9
Connections
Use LINE IN socket
- Use a RCA to RCA audio cable (not included) to connect the TV’s audio output sockets to the LINE IN (R L)
sockets on the unit.
- Use a RCA to 3.5mm audio cable (included) to connect the audio player’s headphone socket to the
LINE IN (R L) sockets on the unit.
Connect the FM Aerial
Connect the supplied FM wire antenna to the ANT.
socket on the unit. Then position the aerial to obtain
optimum reception.
IMPORTANT:
- You may need to adjust the position of the FM
aerial when tuning the radio to receive the
strongest signal.
- Never leave the aerial where it can be pulled by
pulled by young children.
Power Connection
Risk of product damage!
- Ensure that the power supply voltage corresponds to
the voltage printed on the back or the underside of
the unit.
• Connect the power to the AC~ socket on the unit and
a wall outlet.
Note:
- Ensure all connections are connected before connecting to the mains power socket.
- Be sure to unplug the power cord from the outlet when the system is not in use for an extended
period of time.

10
Set the Clock
- Manual Setting the clock can only be done in STANDBY mode.
1 In STANDBY mode, press and hold the CLOCK button on the remote control until the hour digits are
ashing.
- Press the BF button on the unit or the BF/PAIR button on the remote
control to select 12/24 hour format.
2 Press the H/G buttons on the remote control or on the unit to adjust the hour digits while ashing,
then press CLOCK button on the remote control to conrm, then the minute digits will ash.
3 Press the H/G buttons on the remote control or on the unit to adjust the minute digits while
ashing, then press the CLOCK button on the remote control to conrm.
- Each activated state will be cleared if any buttons are not pressed within 15 seconds.
• TimeDisplay
- Press the CLOCK button to show the current time on the display for a few seconds.
Synchronization the Clock
When in STANDBY mode, press and hold the L/MENU button on the remote control to synchronise the
clock. Press the H/G buttons on the remote control or on the unit to switch the clock synchronization
modes:
- iPod Only synchronize the time with the iPod/iPhone/iPad, and sync per 1 minute .
- RBDS Only synchronize with the RBDS radio station.
- OFF Turn o the clock synchronization function, only adjust the clock manually.
Then press the BF button on the remote control to conrm.
Set the alarm Timer
- The clock must be correctly set for the timer to operate correctly.
1 In STANDBY mode, press and hold the TIMER/SLEEP button on the remote control until the hour
digits ash on the display.
2 Press the H/G buttons on the remote control or on the unit to adjust the hour digits, and then
press the TIMER/SLEEP button on the remote control to conrm, the minute digits will ash on the
display.
3 Press the H/G buttons on the remote control or on the unit to adjust the minute digits, and then
press the TIMER/SLEEP button on the remote control to conrm, the mode will ash on the display.
4 Press the H/G buttons on the remote control or on the unit to select:
• FM (to wake to your selected FM Radio Station)
• BUZZER (to wake to a buzzer sound)
• iPod (to wake to your iPod/iPhone/iPad music)
• DISC (to wake to your DISC music)
• USB (to wake to your USB music)
Press the TIMER/SLEEP button on the remote control to conrm, the display will show the volume
level.
5 Press the H/G buttons on the remote control or on the unit to adjust the volume, and then press
the TIMER/SLEEP button on the remote control to conrm, the display will show the selected timer
and “ ” will ash on the display.
Tips:
- Each enabled state will be cleared if a button is not pressed within 15 seconds.
- The FM tuner timer will show the last tuned station.
--:-- 00:00
1111

11
• ActivateandDeactivatetheAlarmTimer
- Press the TIMER/SLEEP button on the remote control to view the alarm settings or activate the alarm.
- To deactivate the alarm, press the TIMER/SLEEP two times. The “ ” will disappear from the display on
the front of the unit.
- To activate the alarm, press the TIMER/SLEEP two times. The “ ” will show from the display on the
front of the unit.
• StopAlarmRing
- When the alarm rings, press the button on the remote control or on the unit. The alarm stops but
the alarm settings remain.
General Operation
Standby/ON
When you rst connect the main unit to the mains socket, the main unit will be in Standby mode.
• Press the button on the remote control or on main unit to switch the main unit ON.
• Press the button on the remote control or on main unit to switch the main unit back to Standby mode.
Tips:
- When turning the system on, the system will continue in the mode it was in when it was turned o
last time.
- Disconnect the mains plug from the mains socket if you want to switch the unit o completely.
- If there is no signal under the CD, USB/DOCK, BT (Bluetooth) or LINE IN mode, the unit will
automatically switch o within 15 minutes.
Select Modes
Press the button repeatedly on the unit or press the CD, USB/DOCK, FM or LINE IN / BT buttons on
the remote control to select the desired mode. The selected mode will show on the display.
Adjust the Volume
- Press the VOL +/– buttons on the remote control or turn the VOLUME +/- dial on the unit to adjust
the volume.
- If you wish to turn the sound o, press the button on the remote control. Press the button again
or press VOL+/- button on the remote control or turn the VOLUME +/- dial on the unit to resume
normal volume.
Select the Equaliser
Press the EQ button on the remote control or on the unit repeatedly to select:
[Pop] - [Classic] - [Jazz] - [Rock] - [Flat]
Adjust the Brightness
Press the DIMMER button on the remote control or the button on the unit to select brightness level.
Adjust the Bass
Press the BASS button on the remote control enable and disable the bass.

12
Set the Sleep Timer
This unit can switch to standby automatically after a set period of time.
1 Press the TIMER/SLEEP button on the remote control repeatedly to select your desired number of
minutes. The number of minutes shown will display in this sequence:
SLEEP 90 SLEEP 60 SLEEP 30 SLEEP 15 SLEEP 00
2 Stop pressing the SLEEP button when your desired number of minutes is displayed. The sleep timer is
now set.
- Press the SLEEP button to view the remaining time before switch o.
- To cancel the sleep timer, press the SLEEP button repeatedly until “SLEEP 00” shows on the display.
LINE IN Operation
- Ensure that the unit is connected to the TV or audio device.
1 Press the button on the main unit or press the BT/LINE IN button on the remote control to select
LINE IN mode.
2 Operate your audio device directly for playback features.
3 Press the VOL +/– button to adjust the volume to your desired level.
iPod/iPhone/iPad Operation
You can enjoy audio from an iPod/
iPhone/iPad through this unit.
1 Place the iPod/iPhone/iPad
into the lightning dock.
- This apparatus does not
support Apple 30- pin models.
2 Press the button on the
main unit or press the DOCK
button on the remote control
to select the IPod/iPhone/
iPad mode.
3 Start to play the connected
iPod/iPhone.
- To pause/resume play, press the BF button on the unit or the BF/PAIR button on the remote
control.
- To skip to a track, press the H/G buttons on the unit or on the remote control.
- Press and hold the H/G buttons on the unit or on the remote control to perform fast forward/
reverse playback. Release the button to resume normal playback.
- To select repeat play options: press the REPEAT button on the remote control repeatedly to select a
repeat option play mode.
Charge the iPod/iPhone
- The docked iPod/iPhone/iPad begins to charge as soon as the unit is connected to AC power.

13
CD/USB Operation
CD Operation
1 Press the button repeatedly on the unit or press the
CD button on the remote control to select DISC mode.
2 Press the K button on the unit or on the remote
control and the disc tray will open automatically.
3 Place the CD/MP3 disc with the label side up into the
CD compartment, and then press the K button on the
unit or on the remote control to close the disc tray.
- The current playing time of the track will be shown on
the display, and unit will play the rst track on the CD/
MP3 disc automatically.
- If there is no disc or the disc can’t be read, “NO DISC” will show on the display.
USB Operation
1 Insert the USB device.
2 Press the button on the main unit or press the USB/
DOCK button on the remote control to select USB mode.
Play Control
- To stop play, press the L button on the remote control. The total tracks of the CD will show on the
display.
- To pause or resume play, press the BF button on the unit or the BF/PAIR button on the remote
control.
- To skip to the previous/next track, press the H/G buttons on the unit or on the remote control.
- Press and hold the H/G buttons on the unit or on the remote control to perform fast forward/
reverse playback. Release the button to resume normal playback.
- Press the ALBUM/PRESET, buttons to skip to the previous/next album (only for MP3/WMA discs).
- Press the INFO button on the remote control to display the current play information.
Intro Playback
• Press the INTRO button on the remote control. The unit will play the rst 10 seconds of each track.
• Press the INTRO button on the remote control again to resume normal playback.
Random Playback
• Press the SHUFFLE button on the remote control or the MODE button on the unit to switch the
randomly play the song ON/OFF.
- SHUFFLE : Randomly play the song. “ ” lights up.
- SHUF OFF: Randomly turned o.
Select repeat play options
Press the REPEAT button repeatedly on the remote control or the MODE button on the unit to select
Repeat play modes. The selected mode will show on the display.
- RPT ONE: Repeat current track. “ ” blinks.
- RPT ALL: Repeat all tracks. “ “ lights up.
- RPT OFF: Repeat turned o.

14
Programme Setting
The user can programme up to 20 tracks in CD/USB mode in any desired order. Programme mode is
activated while in STOP mode .
1. Press the L button on the remote control.
2. Press the PROG button on the remote control or on the unit to enter MEMORY mode.
3. Press the number (0~9) buttons or H/G buttons on the remote control or on the unit to select the
track that you want to preset, then press PROG button to conrm.
4. Repeat step 3 to programme more tracks.
5. Press the BF button to playback programme tracks.
Note:
- If you want to change the programed les, press the L button two times to clear the current program les,
display shows "PRG CLR" , then repeat the program steps as above to re-enter the new program les.
- Or opening the CD door to clear the current program les.
About the Discs
Donotmovetheunitduringplayback
- During playback, the disc rotates at high speed.
- Do not lift or move the unit during playback, as doing so may damage the disc or the unit.
Whenmovingthisunit
- When changing places of installation or packing the unit for moving, be sure to remove the disc and
return the disc tray to its closed position in the player. Then, press the power switch to turn the power
o before disconnecting the power cord. Moving this unit with the disc loaded may result in damage
to this unit.
Handling
Do not touch the playback side of discs.
Hold discs by the edges to avoid leaving ngerprints on the surface.
Any dust, ngerprints or scratches may cause a malfunction.
Never attach a label or sticky tape to the disc.
Storage
Put disc back in their case after playing them. Never expose disc to direct
sunlight or heat sources. Never leave discs inside a car parked in full
sunlight.
Cleaning
Use a clean soft lint-free cloth to clean the discs, working from the centre
outwards in a straight line. Do not use solvents such as petrol, thinners,
commercially available cleaners or antistatic sprays for vinyl records.

15
Bluetooth Operation
You can listen to music from a Bluetooth-enabled device via this player.
Note:
- The operational range between this player and a Bluetooth device is approximately 8 meters (without
any object between the Bluetooth device and the unit).
- Before you connect a Bluetooth device to this unit, ensure you know the device’s capabilities.
- Compatibility with all Bluetooth devices is not guaranteed.
- Any obstacle between this unit and a Bluetooth device can reduce the operational range.
- If the signal strength is weak, your Bluetooth receiver may disconnect, but it will re-enter pairing
mode automatically.
PairBluetooth-enabledDevices
1 Press the button on the main unit or press the BT/LINE IN button on the remote control to select
BT (Bluetooth) mode. “NO BT” will show on the display if the unit is not paired to any Bluetooth
device.
2 The system has entered pairing mode.
- Or press and hold the "BF/PAIR" button on the remote control or the "BF" button on the unit to
be searchable. The display will show “PAIRING” and you will hear "Pairing" from the unit.
3 Activate your Bluetooth device and select the search mode. “inStudio 8038989” will appear on your
Bluetooth device.
4 Select “inStudio 8038989” in the pairing list. On successful pairing, you will hear "Paired" from the
unit, and the display panel shows “BT”.
5 Play music from the connected device.
To disconnect the Bluetooth function, you can :
- Switch to another function on the unit.
- Disable the function from your Bluetooth device. The Bluetooth device will be disconnected from the
soundbar after the “Disconnected” voice prompt.
- Press and hold the BF/PAIR button on the remote control.
Tips:
- Enter “0000” for the password if necessary.
- If a connection exist, press and hold the "BF/PAIR" button on the remote control or the "BF"
button on the unit to re-activate the pairing mode, the connection will be interrupted.
- If no other Bluetooth device pairs with this player within two minutes, the player will recover its
previous connection.
- The player will also be disconnected when your device is moved beyond the operational range.
- If you want to reconnect your device to this player, place it within the operational range.
- If the device is moved beyond the operational range, when it is brought back, please check if the
device is still connected to the player.
- If they are connected, display panel shows " B T ".
- If the connection is lost, display panel shows "NO BT". Follow the instruction above to pair your
device to the player again.

16
NFC (Near Field Communication) Operation
Pair your NFC-enabled mobile device directly with this unit
by just a single tap.
1. Activate NFC on your mobile device.
2. Tap the mobile device on the NFC sensing area of the
unit. The device vibrates or a message pops up. Your unit
will switch to Bluetooth mode automatically.
3. Operate your mobile device directly for playback features.
4. To disconnect, tap the mobile device on the NFC sensing
area of the unit to disconnect or disable NFC from your
mobile device.
NOTE:
• The NFC function only works with mobile devices that support NFC technology.
• You may need to remove your mobile device case to connect using NFC.
ListentoMusicfromBluetoothDevice
- If the connected Bluetooth device supports Advanced Audio Distribution Prole (A2DP), you can
listen to the music stored on the device through the player.
- If the device also supports Audio Video Remote Control Prole (AVRCP), you can use the player’s
remote control to play music stored on the device.
1 Pair your device with the player.
2 Play music via your device (if it supports A2DP).
3 Use supplied remote control to control play (if it supports AVRCP).
- To pause/resume play, press the BF button on the unit or the BF/PAIR button on the remote control.
- To skip to a track, press the H,G buttons on the unit or on the remote control.
FM Operation
AutoScanandSavePresetStation
1 Press the button on the main unit or press the FM button on the remote control to select FM
mode.
2 Press and hold the PROG button on the remote control to activate automatic programming. All
available stations are programmed in the order of waveband reception strength.
- The rst programmed radio station is played automatically.
• TunetoaPresetRadioStation
- Press the ALBUM/PRESET, buttons to select a preset number that you want.
Tuning in a Station
• Tuneinradiostationsautomatically
- Press and hold the H/G buttons, the frequency changes down or up automatically until a station
is found.
- The search may not stop at a station with a very weak signal.
• Tuneinradiostationsmanually
- Press the H/G buttons repeatedly until you nd the station you want.
- If reception is still poor, try to adjust the position of the aerial or try to move the radio to another
location.

17
Presetting Stations Manually
You can preset up to 30 FM stations.
1 Tune in the desired station, then press the PROG button.
2 Press the / or number (0~9) buttons to select the preset number.
3 Press the PROG button to store the station.
4 Repeat above steps 1 to 3 for each station you want to store in memory with a preset number.
Showing RBDS information
If you tune to a RBDS station, press the INFO button repeatedly on the remote control to scroll through
the following information: Station Text / Station Name / Program Type / RBDS Clock.
Troubleshooting
To keep the warranty valid, never try to repair the system yourself. If you encounter problems when using
this unit, check the following points before requesting service.
No power
- Ensure that the AC cord of the apparatus is properly connected .
- Ensure that there is power at the AC outlet.
- Press standby button to turn the unit on.
Remote control does not work
- Before you press any playback control button, rst select the correct source.
- Reduce the distance between the remote control and the unit.
- Insert the battery with its polarities (+/-) aligned as indicated.
- Replace the battery.
- Aim the remote control directly at the sensor on the front of the unit.
Ican'tfindtheBluetoothnameofthisunitonmyBluetoothdevice
- Ensure the Bluetooth function is activated on your Bluetooth device.
- Re-pair the unit with your Bluetooth device.
Poor radio reception
- Increase the distance between the unit and your TV and VCR.
Clock setting erased
- Power has been interrupted or the power cord has been disconnected.
- Reset the clock.
No Response From the Unit
- Disconnect and reconnect the AC power plug, then turn on the unit again.
The disc does not play
- There is no disc inside the unit (“NO DISC” appears on the display).
- Insert the disc correctly with the label side facing up.
- Clean the disc.
- PAUSE mode may be activated, deactivate it.
- A non-valid disc has been inserted.
- Condensation may have formed inside the unit due to a sudden change in temperature. Wait about
an hour for it to clear and try again.
manual of CD750, 8038989 and CD751

Contents
What’s in the Box ...................................................................................................................2
Specications .........................................................................................................................2
Important Safety Instructions ..............................................................................................3
Safety ........................................................................................................................................................................................3
Identifying the Parts .............................................................................................................6
Main Unit ................................................................................................................................................................................6
Remote Control ....................................................................................................................................................................7
Preparations...........................................................................................................................8
Prepare the Remote Control ............................................................................................................................................ 8
Replace the Remote Control Battery ............................................................................................................................ 8
Connections ...........................................................................................................................9
Use LINE IN socket ............................................................................................................................................................... 9
Connect the FM Aerial ........................................................................................................................................................9
Power Connection ............................................................................................................................................................... 9
Set the Clock ....................................................................................................................... 10
Set the alarm Timer ............................................................................................................ 10
General Operation .............................................................................................................. 11
Standby/ON .........................................................................................................................................................................11
Select Modes .......................................................................................................................................................................11
Adjust the Volume .............................................................................................................................................................11
Select the Equaliser ...........................................................................................................................................................11
Adjust the Brightness .......................................................................................................................................................11
Set the Sleep Timer ...........................................................................................................................................................11
LINE IN Operation ............................................................................................................... 11
CD/USB Operation .............................................................................................................. 12
CD Operation.......................................................................................................................................................................12
USB Operation ....................................................................................................................................................................12
Play Control ..........................................................................................................................................................................12
About the Discs ..................................................................................................................................................................13
Bluetooth Operation .......................................................................................................... 14
Pair Bluetooth-enabled Devices ...................................................................................................................................14
NFC (Near Field Communication) Operation ...........................................................................................................14
Listen to Music from Bluetooth Device ......................................................................................................................15
FM Operation ...................................................................................................................... 15
Auto Scan and Save Preset Station ..............................................................................................................................15
Tuning in a Station ............................................................................................................................................................15
Presetting Stations Manually .........................................................................................................................................15
Showing RBDS information ............................................................................................................................................15
Troubleshooting ................................................................................................................. 16

2
What’s in the Box
Main Unit Remote Control Instruction Manual
AC Power Cord RCA to 3.5mm audio cable FM wire antenna
• Design and specications are subject to change without notice.
Specifications
General
Power requirements: AC120V~ 60 Hz
Power consumption: 30W
Power consumption of standby mode: < 1 W
Output power (max): 15 W x2
Total harmonic distortion: 1%(1kHz, 1W)
Audio input sensitivity: 500mV
Frequency response: 45Hz - 20KHz
Tuning range: 87.5 - 108.0MHz
Dimension (W x H x D): 366 x 120 x 232 mm
Impedance: 6 Ω
Remote Control
Distance: 6m
Angle: 30°

3
8 Protect the power cord from being walked on
or pinched, particularly at plugs, convenience
receptacles and at the point where they exit
from the apparatus.
9 Only use attachments/accessories specied
by the manufacturer.
10 Use only with the cart, stand, tripod,
bracket or table specied by the
manufacturer, or sold with the
apparatus. When a cart or rack is
used, use caution when moving the cart/
apparatus combination to avoid injury from
tip-over.
11 Unplug the apparatus during lightning
storms or when unused for long periods of
time.
12 Refer all servicing to qualied personnel.
Servicing is required when the apparatus has
been damaged in any way, such as power
supply cord or plug is damaged, liquid has
been spilled or objects have fallen into the
apparatus, the unit has been exposed to rain
or moisture, does not operate normally, or
has been dropped.
13 This equipment is a Class II or double
insulated electrical appliance. It has
been designed in such a way that it does not
require a safety connection to electrical earth.
14 The apparatus shall not be exposed to
dripping or splashing. No objects lled with
liquids, such as vases,shall be placed on the
apparatus.
15 Minimum distance around the apparatus for
sucient ventilation is 5cm.
16 The ventilation should not be impeded by
covering the ventilation openings with items,
such as newspapers,table-cloths, curtains,
etc…
17 No naked ame sources, such as lighted
candles, should be placed on the apparatus.
18 The apparatus shall be used in moderate
climates only.
19 The plug shall remain readily operable.
20 CAUTION: Danger of explosion if battery is
incorrectly replaced. Replace only with the
same or equivalent type.
CAUTION
CAUTION: TO REDUCE THE RISK OF ELECTRIC
SHOCK, DO NOT REMOVE COVER (OR BACK).
NO USER-SERVICEABLE PARTS INSIDE. REFER
SERVICING TO QUALIFIED SERVICE PERSONNEL.
RISK OF ELECTRIC SHOCK
DO NOT OPEN
The lightning ash with arrowhead
symbol, within an equilateral triangle,
is intended to alert the user to the
presence of uninsulated “dangerous
voltage” within the product’s enclosure
that may be of sucient magnitude as
to constitute a risk of electric shock to
persons.
The exclamation point within an
equilateral triangle is intended to
alert the user to the presence of
important operating and maintenance
(servicing) instructions in the literature
accompanying the appliance.
Safety
1 Read these instructions – All the safety and
operating instructions should be read before
this product is operated.
2 Keep these instructions – The safety and
operating instructions should be retained for
future reference.
3 Heed all warnings – All warnings on the
appliance and in the operating instructions
should be adhered to.
4 Follow all instructions – All operating and
usage instructions should be followed.
5 Clean only with a dry cloth.
6 Do not block any ventilation openings.
Install in accordance with the manufacturer’s
instructions.
7 Do not override the safety purpose of the
polarized or grounding plug. A polarized
plug has two blades with one wider than the
other. A grounding plug has two blades and a
third grounding prong. The wide blade or the
third prong is provided for your safety. If the
provided plug does not t into your outlet,
ask an electrician to replace the obsolete
outlet.
Important Safety Instructions

4
22 Dierent types of batteries or new and used
batteries are not to be mixed.
23 Batteries are to be inserted with the correct
polarity.
24 Exhausted batteries are to be removed from
the product.
25 Batteries shall be disposed of in a safe way.
Only dispose of batteries in specic collection
containers (contact the your retailer for
more information) in order to protect the
environment.
26 Warning: Batteries shall not be exposed to
excessive heat such as sunshine, re or the
like.
27 If the supply cord is damaged, it must be
replaced by the manufacturer, its service
agent or similarly qualied persons in order
to avoid a hazard.
28 Batteries should be set up with the correct
polarity.
29 The supplier is clear from his responsibility
for all kinds of incidents caused by the
non-respect of battery polarity; the appliance
will not be covered by the warranty if
damaged.
30 Before operating this system, check the
voltage of this system to see if it is identical to
the voltage of your local power supply.
31 Changes or modications to this unit not
expressly approved by the party responsible
for compliance will void the user’s authority
to operate the equipment.
32 The rating label is pasted on the bottom of
the equipment.
DO NOT INGEST BATTERY,CHEMICAL BURN
HAZARD
The remote control supplied with this
product contains a coin/button cell battery.
If the coin/button cell battery is swallowed,
it can cause severe internal burns in just 2
hours and lead to death. Keep new and used
batteries away from children. If the battery
compartment does not close securely, stop
using the product and keep it away from
children. If you think batteries might have
been swallowed or placed inside any part of
the body, seek immediate medical attention.
This apparatus includes this label:
WARNING
To avoid danger of suocation, keep this bag
away from babies and children. Do not use in
cribs, beds, carriages or playpens. This bag is
not a toy. Discard bag and any other packing
materials immediately after removing
product. Do not re-use this bag.
Notice for CDR/CDRW MP3 users:
Depending on the type of CD burner, on the
disc brand, the burning speed and the MP3
compression level, some reading problems may
occur.
The Bluetooth® word mark and logos are
registered trademarks owned by Bluetooth SIG,
Inc. and any use of such marks by Gibson is under
license. Other trademarks and trade names are
those of their respective owners.
The N Mark is a trademark or registered
trademark of NFC Forum, Inc. in the United States
and in other countries.
5
FCC INFORMATION (for US customers)
Warning:
Changes or modications to this unit not expressly approved by the party responsible for compliance
could void the user’s authority to operate the equipment.
NOTE:
This equipment has been tested and found to comply with the limits for a Class B digital device, pursuant
to Part 15 of the FCC Rules. These limits are designed to provide reasonable protection against harmful
interference in a residential installation. This equipment generates, uses and can radiate radio frequency
energy and, if not installed and used in accordance with the instructions, may cause harmful interference
to radio communications.
However, there is no guarantee that interference will not occur in a particular installation. If this
equipment does cause harmful interference to radio or television reception, which can be determined
by turning the equipment o and on, the user is encouraged to try to correct the interference by one or
more of the following measures:
Reorient or relocate the receiving antenna.
Increase the separation between the equipment and receiver.
Connect the equipment into an outlet on a circuit dierent from that to which the receiver is
connected.
Consult the dealer or an experienced radio/TV technician for help.
This device complies with Part 15 of the FCC Rules. Operation is subject to the following two conditions:
(1) this device may not cause harmful interference, and
(2) this device must accept any interference received, including interference that may cause undesired
operation.
FCC ID:Z8M-CD750
FOR CANADIAN CONSUMERS
This device complies with Industry Canada licence-exempt RSS standard(s). Operation is subject to the
following two conditions: (1) this device may not cause interference, and (2) this device must accept any
interference, including interference that may cause undesired operation of the device.
IC: 255A-8038989

6
Identifying the Parts
Main Unit
1 Remote Control Sensor
Receive the signal from the remote control.
2 NFC Sensor area
3 button
Switch the unit between ON and Standby
mode.
4 button
Select a play function.
5 MODE button
Select shue play mode.
Select repeat play modes.
6 K button
Open and close the disc compartment.
7 button
Adjust display brightness.
8 PROG button
Programme soundtracks.
Presets radio stations.
Press and hold to scan for radio stations in
FM mode.
9 VOLUNE+/- dial
Increase/decrease the volume level.
10
button
Select a next preset station.
Skip to the previous/next album.
11 EQ button
Select the preset equaliser.
12
button
Select a previous preset station.
13 H button
In CD/USB/Bluetooth mode, skip to previous
audio track.
In CD/USB mode, press and hold the button
to search backward within a track/disc.
In FM mode, search radio stations manually,
press and hold the button to search
automatically.
14 BF button
Play/pause/resume playback.
Press and hold to activate the pairing
function in Bluetooth mode and disconnect
the existing paired Bluetooth device.
Conrm a selection.
15 G button
In CD/USB/Bluetooth mode, skip to next
audio track.
In CD/USB mode, press and hold the button
to search forward within a track/disc.
In FM mode, search radio stations manually,
press and hold the button to search
automatically.
16 Disc Compartment
17 Display

7
Rear View
1 LINE IN (R L) Sockets
2 FM Antenna Socket
Connect to a FM Antenna.
3 USB Socket
4 AC~ Socket
Connect to power cord.
Remote Control
1
Switch the unit between ON and Standby
mode.
2 SOURCE buttons
Select the play function.
3 INFO
Displays playback information.
4 INTRO
In CD/USB mode, every soundtrack will be
played for 10 Sec.
5 L/MENU
Stop play.
6 ALBUM/PRESET ,
Select a previous/next preset station.
7 Numeric keypad (0~9)
In CD/USB mode, select a track number for
playback.
In FM mode, choose the preset radio station.
8 DIMMER
Adjust display brightness.
9 K
Open or close disc compartment.
10 SHUFFLE
Select shue play mode.
11 REPEAT
Select repeat play modes.
12
Mute or resume the sound.
13 BF/PAIR
Play/pause/resume playback.
Press and hold to activate the pairing
function in Bluetooth mode and disconnect
the existing paired Bluetooth device.
14 H/G
In CD/USB/BT mode, skip to previous/next
track.
In CD/USB mode, press and hold search
backward/forward within a track/disc.
In FM mode, search radio stations manually,
press and hold the button to search automatically.
In clock/alarm setup, prees the button to
adjust.
15 VOL+/VOL-
Increase/decrease the volume level.
16 EQ
Select the preset equalizer.
17 BASS
Turn the bass ON/OFF.
18 SLEEP/TIMER
Set the sleep timer.
In standby mode, press and hold to Set the
alarm timer.
19 CLOCK
In standby mode, press and hold to activate
clock setup.
Display current clock .
20 PROG
Programme soundtracks.
Presets radio stations.
Press and hold to scan for radio stations in FM
mode.

8
Preparations
Prepare the Remote Control
The provided Remote Control allows the unit to be
operated from a distance.
Even if the Remote Control is operated within the
eective range (6m), remote control operation may be
impossible if there are any obstacles between the unit
and the remote control.
If the Remote Control is operated near other products
which generate infrared rays, or if other remote
control devices using infra-red rays are used near the
unit, it may operate incorrectly. Conversely, the other
products may operate incorrectly.
First-time use:
The unit has a pre- installed lithium CR2025 battery. Remove the protective tab to
activate the remote control battery.
Replace the Remote Control Battery
1 Pull out the battery tray and remove the old battery.
2 Place a new CR2025 battery into the battery tray with correct polarity (+/-) as indicated.
3 Insert the battery tray back into the slot.
Precautions Concerning Batteries
• When the Remote Control is not going to be used for a long time (more than a month), remove the
battery from the Remote Control to prevent it from leaking.
• If the batteries leak, wipe away the leakage inside the battery compartment and replace the batteries
with new ones.
• Do not use any batteries other than those specied.
• Do not heat or disassemble batteries.
• Neverthrowtheminreorwater.
• Do not carry or store batteries with other metallic objects as this may cause the batteries to
short-circuit, leak or explode.
• Never recharge a battery unless it is conrmed to be a rechargeable type.
Max. 6 m
1
CD
INFO
FM LINE IN
INTRO
SLEEP
TIMER
BASS
REPEAT
ALBUM/PRESET
23
45
789
DIMMER CLOCK
EQ
6
VOLVOL
0PROG
SHUFFLE
BT
DOCK
MENU
30。
30。

9
Connections
Use LINE IN socket
- Use a RCA to RCA audio cable (not included) to connect the TV’s audio output sockets to the LINE IN (R L)
sockets on the unit.
- Use a RCA to 3.5mm audio cable (included) to connect the audio player’s headphone socket to the
LINE IN (R L) sockets on the unit.
Connect the FM Aerial
Connect the supplied FM wire antenna to the ANT.
socket on the unit. Then position the aerial to obtain
optimum reception.
IMPORTANT:
- You may need to adjust the position of the FM
aerial when tuning the radio to receive the
strongest signal.
- Never leave the aerial where it can be pulled by
pulled by young children.
Power Connection
Risk of product damage!
- Ensure that the power supply voltage corresponds to
the voltage printed on the back or the underside of
the unit.
• ConnectthepowertotheAC~ socket on the unit and
a wall outlet.
Note:
- Ensure all connections are connected before connecting to the mains power socket.
- Be sure to unplug the power cord from the outlet when the system is not in use for an extended
period of time.

10
Set the Clock
- Manual Setting the clock can only be done in STANDBY mode.
1 In STANDBY mode, press and hold the CLOCK button on the remote control until the hour digits are
ashing.
- Press the BF button on the unit or the BF/PAIR button on the remote
control to select 12/24 hour format.
2 Press the H/G buttons on the remote control or on the unit to adjust the hour digits while ashing,
then press CLOCK button on the remote control to conrm, then the minute digits will ash.
3 Press the H/G buttons on the remote control or on the unit to adjust the minute digits while
ashing, then press the CLOCK button on the remote control to conrm.
- Each activated state will be cleared if any buttons are not pressed within 15 seconds.
• TimeDisplay
- Press the CLOCK button to show the current time on the display for a few seconds.
Set the alarm Timer
- The clock must be correctly set for the timer to operate correctly.
1 In STANDBY mode, press and hold the TIMER/SLEEP button on the remote control until the hour
digits ash on the display.
2 Press the H/G buttons on the remote control or on the unit to adjust the hour digits, and then
press the TIMER/SLEEP button on the remote control to conrm, the minute digits will ash on the
display.
3 Press the H/G buttons on the remote control or on the unit to adjust the minute digits, and then
press the TIMER/SLEEP button on the remote control to conrm, the mode will ash on the display.
4 Press the H/G buttons on the remote control or on the unit to select:
•FM (to wake to your selected FM Radio Station)
•Buzz (to wake to a buzzer sound)
•DISC (to wake to your DISC music)
•USB (to wake to your USB music)
Press the TIMER/SLEEP button on the remote control to conrm, the display will show the volume
level.
5 Press the H/G buttons on the remote control or on the unit to adjust the volume, and then press
the TIMER/SLEEP button on the remote control to conrm, the display will show the selected timer
and “ ” will ash on the display.
Tips:
- Each enabled state will be cleared if a button is not pressed within 15 seconds.
- The FM tuner timer will show the last tuned station.
• ActivateandDeactivatetheAlarmTimer
- Press the TIMER/SLEEP button on the remote control to view the alarm settings or activate the alarm.
- To deactivate the alarm, press the TIMER/SLEEP two times. The “ ” will disappear from the display on
the front of the unit.
- To activate the alarm, press the TIMER/SLEEP two times. The “ ” will show from the display on the
front of the unit.
• StopAlarmRing
- When the alarm rings, press the button on the remote control or on the unit. The alarm stops but
the alarm settings remain.
--:-- 00:00
1111

11
General Operation
Standby/ON
When you rst connect the main unit to the mains socket, the main unit will be in Standby mode.
• Pressthe button on the remote control or on main unit to switch the main unit ON.
• Pressthe button on the remote control or on main unit to switch the main unit back to Standby mode.
Tips:
- When turning the system on, the system will continue in the mode it was in when it was turned o
last time.
- Disconnect the mains plug from the mains socket if you want to switch the unit o completely.
- If there is no signal under the CD, USB, BT (Bluetooth) or LINE IN mode, the unit will automatically
switch o within 15 minutes.
Select Modes
Press the button repeatedly on the unit or press the CD, USB, FM or LINE IN / BT buttons on the
remote control to select the desired mode. The selected mode will show on the display.
Adjust the Volume
- Press the VOL +/– buttons on the remote control or turn the VOLUME +/- dial on the unit to adjust
the volume.
- If you wish to turn the sound o, press the button on the remote control. Press the button again
or press VOL+/- button on the remote control or turn the VOLUME +/- dial on the unit to resume
normal volume.
Select the Equaliser
Press the EQ button on the remote control or on the unit repeatedly to select:
[Pop] - [Classic] - [Jazz] - [Rock] - [Flat]
Adjust the Brightness
Press the DIMMER button on the remote control or the button on the unit to select brightness level.
Set the Sleep Timer
This unit can switch to standby automatically after a set period of time.
1 Press the TIMER/SLEEP button on the remote control repeatedly to select your desired number of
minutes. The number of minutes shown will display in this sequence:
SLEEP 90 SLEEP 60 SLEEP 30 SLEEP 15 SLEEP 00
2 Stop pressing the SLEEP button when your desired number of minutes is displayed. The sleep timer is
now set.
- Press the SLEEP button to view the remaining time before switch o.
- To cancel the sleep timer, press the SLEEP button repeatedly until “SLEEP 00” shows on the display.
LINE IN Operation
- Ensure that the unit is connected to the TV or audio device.
1 Press the button on the main unit or press the BT/LINE IN button on the remote control to select
LINE IN mode.
2 Operate your audio device directly for playback features.
3 Press the VOL +/– button to adjust the volume to your desired level.

12
CD/USB Operation
CD Operation
1 Press the button repeatedly on the unit or press the
CD button on the remote control to select DISC mode.
2 Press the K button on the unit or on the remote
control and the disc tray will open automatically.
3 Place the CD/MP3 disc with the label side up into the
CD compartment, and then press the K button on the
unit or on the remote control to close the disc tray.
- The total number of tracks will be shown on the display,
and unit will play the rst track on the CD/MP3 disc
automatically.
- If there is no disc or the disc can’t be read, “NO DISC” will show on the display.
USB Operation
1 Insert the USB device.
2 Press the button on the main unit or press the USB
button on the remote control to select USB mode.
Play Control
- To stop play, press the L button on the remote control. The total tracks of the CD will show on the
display.
- To pause or resume play, press the BF button on the unit or the BF/PAIR button on the remote
control.
- To skip to the previous/next track, press the H/G buttons on the unit or on the remote control.
- Press and hold the H/G buttons on the unit or on the remote control to perform fast forward/
reverse playback. Release the button to resume normal playback.
- Press the ALBUM/PRESET, buttons to skip to the previous/next album (only for MP3/WMA discs).
- Press the INFO button on the remote control to display the current play information.
Intro Playback
• PresstheINTRO button on the remote control. The unit will play the rst 10 seconds of each track.
• Pressthe INTRO button on the remote control again to resume normal playback.
Random Playback
• PresstheSHUFFLE button on the remote control or the MODE button on the unit to switch the
randomly play the song ON/OFF.
- SHUFFLE : Randomly play the song. “ ” lights up.
- SHUF OFF: Randomly turned o.
Select repeat play options
Press the REPEAT button repeatedly on the remote control or the MODE button on the unit to select
Repeat play modes. The selected mode will show on the display.
- RPT ONE: Repeat current track. “ ” blinks.
- RPT ALL: Repeat all tracks. “ “ lights up.
- RPT OFF: Repeat turned o.

13
Programme Setting
The user can programme up to 20 tracks in CD/USB mode in any desired order. Programme mode is
activated while in STOP mode .
1. Press the L button on the remote control.
2. Press the PROG button on the remote control or on the unit to enter MEMORY mode.
3. Press the number (0~9) buttons or H/G buttons on the remote control or on the unit to select the
track that you want to preset, then press PROG button to conrm.
4. Repeat step 3 to programme more tracks.
5. Press the BF button to playback programme tracks.
Note:
- If you want to change the programed les, press the L button two times to clear the current program les,
display shows "PRG CLR" , then repeat the program steps as above to re-enter the new program les.
- Or opening the CD door to clear the current program les.
About the Discs
Donotmovetheunitduringplayback
- During playback, the disc rotates at high speed.
- Do not lift or move the unit during playback, as doing so may damage the disc or the unit.
Whenmovingthisunit
- When changing places of installation or packing the unit for moving, be sure to remove the disc and
return the disc tray to its closed position in the player. Then, press the power switch to turn the power
o before disconnecting the power cord. Moving this unit with the disc loaded may result in damage
to this unit.
Handling
Do not touch the playback side of discs.
Hold discs by the edges to avoid leaving ngerprints on the surface.
Any dust, ngerprints or scratches may cause a malfunction.
Never attach a label or sticky tape to the disc.
Storage
Put disc back in their case after playing them. Never expose disc to direct
sunlight or heat sources. Never leave discs inside a car parked in full
sunlight.
Cleaning
Use a clean soft lint-free cloth to clean the discs, working from the centre
outwards in a straight line. Do not use solvents such as petrol, thinners,
commercially available cleaners or antistatic sprays for vinyl records.

14
Bluetooth Operation
You can listen to music from a Bluetooth-enabled device via this player.
Note:
- The operational range between this player and a Bluetooth device is approximately 8 meters (without
any object between the Bluetooth device and the unit).
- Before you connect a Bluetooth device to this unit, ensure you know the device’s capabilities.
- Compatibility with all Bluetooth devices is not guaranteed.
- Any obstacle between this unit and a Bluetooth device can reduce the operational range.
- If the signal strength is weak, your Bluetooth receiver may disconnect, but it will re-enter pairing
mode automatically.
PairBluetooth-enabledDevices
1 Press the button on the main unit or press the BT/LINE IN button on the remote control to select
BT (Bluetooth) mode. “NO bt” will show on the display if the unit is not paired to any Bluetooth device.
2 The system has entered pairing mode.
- Or press and hold the "BF/PAIR" button on the remote control or the "BF" button on the unit to
be searchable. The display will show “PAIR”.
3 Activate your Bluetooth device and select the search mode. “inStudio 8038989” will appear on your
Bluetooth device.
4 Select “inStudio 8038989” in the pairing list. The system is successfully connected and the display
panel shows “bt”.
5 Play music from the connected device.
- To disconnect the Bluetooth function, switch to another function on the unit or disable the function
from your Bluetooth device. Or press and hold the BF/PAIR button on the remote control, the
Bluetooth device will be disconnected from the unit. The display panel shows “NO bt” .
Tips:
- Enter “0000” for the password if necessary.
- If a connection exist, press and hold the "BF/PAIR" button on the remote control or the "BF"
button on the unit to re-activate the pairing mode, the connection will be interrupted.
- If no other Bluetooth device pairs with this player within two minutes, the player will recover its
previous connection.
- The player will also be disconnected when your device is moved beyond the operational range.
- If you want to reconnect your device to this player, place it within the operational range.
- If the device is moved beyond the operational range, when it is brought back, please check if the
device is still connected to the player.
- If they are connected, display panel shows "bt".
- If the connection is lost, display panel shows "NO bt". Follow the instruction above to pair your device
to the player again.
NFC (Near Field Communication) Operation
Pair your NFC-enabled mobile device directly with this
unit by just a single tap.
1. Activate NFC on your mobile device.
2. Tap the mobile device on the NFC sensing area of the
unit. The device vibrates or a message pops up. Your
unit will switch to Bluetooth mode automatically.
3. Operate your mobile device directly for playback
features.

15
4. To disconnect, tap the mobile device on the NFC sensing area of the unit to disconnect or disable NFC
from your mobile device.
NOTE:
• TheNFCfunctiononlyworkswithmobiledevicesthatsupportNFCtechnology.
• YoumayneedtoremoveyourmobiledevicecasetoconnectusingNFC.
ListentoMusicfromBluetoothDevice
- If the connected Bluetooth device supports Advanced Audio Distribution Prole (A2DP), you can
listen to the music stored on the device through the player.
- If the device also supports Audio Video Remote Control Prole (AVRCP), you can use the player’s
remote control to play music stored on the device.
1 Pair your device with the player.
2 Play music via your device (if it supports A2DP).
3 Use supplied remote control to control play (if it supports AVRCP).
- To pause/resume play, press the BF button on the unit or the BF/PAIR button on the remote control.
- To skip to a track, press the H,G buttons on the unit or on the remote control.
FM Operation
AutoScanandSavePresetStation
1 Press the button on the main unit or press the FM button on the remote control to select FM
mode.
2 Press and hold the PROG button on the remote control to activate automatic programming. All
available stations are programmed in the order of waveband reception strength.
- The rst programmed radio station is played automatically.
• TunetoaPresetRadioStation
- Press the ALBUM/PRESET, buttons to select a preset number that you want.
Tuning in a Station
• Tuneinradiostationsautomatically
- Press and hold the H/G buttons, the frequency changes down or up automatically until a station
is found.
- The search may not stop at a station with a very weak signal.
• Tuneinradiostationsmanually
- Press the H/G buttons repeatedly until you nd the station you want.
- If reception is still poor, try to adjust the position of the aerial or try to move the radio to another
location.
Presetting Stations Manually
You can preset up to 20 FM stations.
1 Tune in the desired station, then press the PROG button.
2 Press the / or number (0~9) buttons to select the preset number.
3 Press the PROG button to store the station.
4 Repeat above steps 1 to 3 for each station you want to store in memory with a preset number.
Showing RBDS information
If you tune to a RBDS station, press the INFO button repeatedly on the remote control to scroll through
the following information: Station Text / Station Name / Program Type / RBDS Clock

16
Troubleshooting
To keep the warranty valid, never try to repair the system yourself. If you encounter problems when using
this unit, check the following points before requesting service.
No power
- Ensure that the AC cord of the apparatus is properly connected .
- Ensure that there is power at the AC outlet.
- Press standby button to turn the unit on.
Remote control does not work
- Before you press any playback control button, rst select the correct source.
- Reduce the distance between the remote control and the unit.
- Insert the battery with its polarities (+/-) aligned as indicated.
- Replace the battery.
- Aim the remote control directly at the sensor on the front of the unit.
Ican'tfindtheBluetoothnameofthisunitonmyBluetoothdevice
- Ensure the Bluetooth function is activated on your Bluetooth device.
- Re-pair the unit with your Bluetooth device.
Poor radio reception
- Increase the distance between the unit and your TV and VCR.
Clock setting erased
- Power has been interrupted or the power cord has been disconnected.
- Reset the clock.
No Response From the Unit
- Disconnect and reconnect the AC power plug, then turn on the unit again.
The disc does not play
- There is no disc inside the unit (“NO DISC” appears on the display).
- Insert the disc correctly with the label side facing up.
- Clean the disc.
- PAUSE mode may be activated, deactivate it.
- A non-valid disc has been inserted.
- Condensation may have formed inside the unit due to a sudden change in temperature. Wait about
an hour for it to clear and try again.