Zhongshan City Richsound Electronic CR02 Clock Radio, Lightning Speaker User Manual
Zhongshan City Richsound Electronic Industrial Ltd. Clock Radio, Lightning Speaker
User Manual
User Manual of CL02

CL02
USER MANUAL
Clock Radio

Contents
Important Safety Instructions .................................................................................. 2
Safety ............................................................................................................................................................................... 2
Identifying the Parts..................................................................................................5
Connections ...............................................................................................................6
Connect to an external device ................................................................................................................................ 6
Set up the FM aerial .................................................................................................................................................... 6
Connect Power ............................................................................................................................................................. 6
For First-time use BACKUP Battery: ....................................................................................................................... 6
To Replace the BACKUP Battery: ............................................................................................................................ 6
General Operation ..................................................................................................... 7
Turn ON/OFF ................................................................................................................................................................ 7
Select Modes ................................................................................................................................................................. 7
Adjust the Brightness .................................................................................................................................................7
Set the NAP Timer........................................................................................................................................................ 7
Set the Clock..................................................................................................................................................................7
Set the alarm timer ..................................................................................................................................................... 7
Set the sleep timer ...................................................................................................................................................... 8
LINE IN Operation ...................................................................................................... 8
iPod/iPhone Operation .............................................................................................8
Listen to the iPod/iPhone ........................................................................................................................................ 8
Charge the iPod/iPhone ............................................................................................................................................8
Bluetooth Operation .................................................................................................9
Pair Bluetooth-enabled Devices ............................................................................................................................9
Listen to Music from Bluetooth Device ...............................................................................................................9
Listening to the FM Radio ......................................................................................10
Auto Scan and Save Preset Station .....................................................................................................................10
Tuning in a Station ....................................................................................................................................................10
Presetting Stations Manually ................................................................................................................................10
Troubleshooting ......................................................................................................10
Specications ........................................................................................................... 11

2
Important Safety Instructions
This lightning ash with arrowhead
symbol within an equilateral
triangle is intended to alert the user
to the presence of non-insulated
“dangerous voltage” within the
product’s enclosure that may be of
sucient magnitude to constitute a
risk of electric shock.
The exclamation point within an equilateral triangle is intended to alert the user to
the presence of important operating and maintenance instructions in the literature
accompanying the appliance.
Safety
1 Read these instructions – All the safety and operating instructions should be read before this
product is operated.
2 Keep these instructions – The safety and operating instructions should be retained for future
reference.
3 Heed all warnings – All warnings on the appliance and in the operating instructions should be
adhered to.
4 Follow all instructions – All operating and use instructions should be followed.
5 Do not use this apparatus near water – The appliance should not be used near water or
moisture – for example, in a wet basement or near a swimming pool, and the like.
6 Clean only with dry cloth.
7 Do not block any ventilation openings. Install in accordance with the manufacturer’s
instructions.
8 Do not install near any heat sources such as radiators, heat registers, stoves, or other apparatus
(including ampliers) that produce heat.
9 Do not defeat the safety purpose of the polarized or grounding plug. A polarized plug has two
blades with one wider than the other. A grounding plug has two blades and a third grounding
prong. The wide blade or the third prong is provided for your safety. If the provided plug does
not t into your outlet, consult an electrician for replacement of the obsolete outlet.
10 Protect the power cord from being walked on or pinched particularly at the plugs, convenience
receptacles, and at the point where they exit from the apparatus.
11 Only use attachments/accessories specied by the manufacturer.
12 Use only with the cart, stand, tripod, bracket, or table specied by the manufacturer, or
sold with the apparatus. When a cart or rack is used, use caution when moving the cart/
apparatus combination to avoid injury from tip-over.
13 Unplug the apparatus during lightning storms or when unused for long periods of time.
14 Refer all servicing to qualied personnel. Servicing is required when the apparatus has been
damaged in any way, such as power supply cord or plug is damaged, liquid has been spilled or
objects have fallen into the apparatus has been exposed to rain or moisture, does not operate
normally, or has been dropped.

3
Caution:
- Use of controls or adjustments or performance of procedures other than those described
herein, may result in hazardous radiation exposure or other unsafe operation.
- To reduce the risk of re or electric shock, do not expose this apparatus to rain or moisture. The
apparatus must not be exposed to dripping or splashing and objects lled with liquids, such as
vases, must not be placed on apparatus.
- The external adapter is used as the disconnect device, the disconnect device shall remain
readily operable.
- Adapter model: K15S050200U
- Adapter company: Dongguan Guanjin Electronics Technology Co., Ltd
Warning
• Thebattery(batteryorbatteriesorbatterypack)mustnotbeexposedtoexcessiveheatsuchas
sunshine, re or the like.
• Beforeoperatingthissystem,checkthevoltageofthissystemtoseeifitisidenticaltothe
voltage of your local power supply.
• Theventilationshouldnotbeimpededbycoveringtheventilationopeningswithitemssuch
as newspaper, table-cloths, curtains etc. Make sure there is at least 20 cm of space above and at
least 5cm of space on each side of the unit.
• Donotplacethisunitclosetostrongmagneticelds.
• Donotplacetheunitontheamplierorreceiver.
• Donotplacethisunitclosetodampareasasthemoisturewillaectthelifeofthelaserhead.
• Shouldanysolidobjectorliquidfallintothesystem,unplugthesystemandhaveitcheckedby
qualied personnel before operating it any further.
• Donotattempttocleantheunitwithchemicalsolventsasthismightdamagethenish.Usea
clean, dry or slightly damp cloth.
• Whenremovingthepowerplugfromthewalloutlet,alwayspulldirectlyontheplug,never
yank on the cord.
• Nonakedamesources,suchaslightedcandles,shouldbeplacedontheapparatus.
• Changesormodificationstothisunitnotexpresslyapprovedbythepartyresponsiblefor
compliance will void the user’s authority to operate the equipment.
• Themarkinglabelispastedonthebottomoftheequipment.
DO NOT INGEST BATTERY, CHEMICAL BURN HAZARD
The unit supplied with this product contains a coin/button cell battery. If the coin/button cell
battery is swallowed, it can cause sever internal burns in just 2 hours and lead to death. Keep
new and used batteries away from children. If the battery compartment does not close securely,
stop using the product and keep it away from children. If you think batteries might have been
swallowed or placed inside any part of the body, seek immediate medical attention.
This device complies with Industry Canada licence-exempt RSS standard(s). Operation is subject
to the following two conditions: (1) this device may not cause interference, and (2) this device
must accept any interference, including interference that may cause undesired operation of the
device.
4
FCC STATEMENT
This device complies with Part 15 of the FCC Rules. Operation is subject to the following two
conditions:
(1) this device may not cause harmful interference, and
(2) this device must accept any interference received, including interference that may cause
undesired operation.
- “Warning: Changes or modications to this unit not expressly approved by the party responsible
for compliance could void the user’s authority to operate the equipment.”
- “NOTE: This equipment has been tested and found to comply with the limits for a Class B digital
device, pursuant to Part 15 of the FCC Rules. These limits are designed to provide reasonable
protection against harmful interference in a residential installation. This equipment generates,
uses and can radiate radio frequency energy and, if not installed and used in accordance with
the instructions, may cause harmful interference to radio communications. However, there is
no guarantee that interference will not occur in a particular installation. If this equipment does
cause harmful interference to radio or television reception, which can be determined by turning
theequipmentoandon,theuserisencouragedtotrytocorrecttheinterferencebyoneor
more of the following measures:
- Reorient or relocate the receiving antenna.
- Increase the separation between the equipment and receiver.
- Connecttheequipmentintoanoutletonacircuitdierentfromthattowhichthereceiveris
connected.
- Consult the dealer or an experienced radio/TV technician for help.”
FCC ID: Z8M-CR02

5
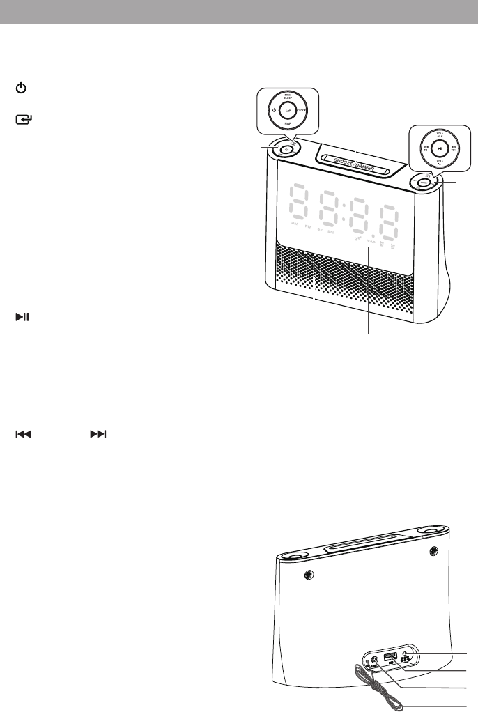
Identifying the Parts
Front View
1 Buttons
•
Turnonorturnotheunit.
•
Select a source.
• CLOCK
View the current radio frequency.
Press and hold to set the time.
View the time.
• MEM / SLEEP
Press and hold to preset stations manually.
Set the sleep timer.
• NAP/DIMMER
Set the NAP timer.
In Standby mode, adjust brightness level.
2 DOCK
iPod/iPhone Docking
3 Buttons
• BF/PAIR
Play/pause/resume playback.
Press and hold to preset stations automaticly.
Press and hold to Activate the pairing function in Bluetooth mode and disconnect the existing
paired Bluetooth device.
• VOL/AL1, VOL+/AL2
Increases/decrease the volume.
Press and hold the bottons to set the alarm 1/2.
• H/TU, TU+/G
In the dock mode, skip to previous/next track.
In the FM mode, search radio stations manually.
In the clock setting mode, press the buttons to set the clock.
4 Speakers
5 Display
Show current status.
-
/
0
Rear View
1 DC IN 5V Socket
Connect to power cord.
2 LINE IN Socket
Connect to an external audio device.
3 FM Aerial
/
-0
12

6
Connections
Phone/Media player
Connect to an external device
- Use a 3.5mm to 3.5mm audio cable
(included) to connect the external audio
device headphone socket to the LINE IN
socket on the unit.
Set up the FM aerial
- Unwind the coiled FM aerial at the back of the docking station.
IMPORTANT: You may need to adjust the position of the FM aerial when
tuning the radio to receive the strongest signal.
Never leave the aerial where it can be pulled by young children.
Connect Power
1. Slot the jack plug on the power adaptor
into the power point in the underside of
the base as shown in the diagram above.
2. Slot the power adaptor into a wall socket
and turn the power on, if required.
Note:
- You need to connect the DC power to turn
on the unit , battery only for back up.
- If the unit does not display or no response,
maybe the battery is low power, that need
to disconnect the DC power and replace a new battery, then reconnect DC power and reset the
clock.
For First-time use BACKUP Battery:
Remove the protective tab to activate the backup
battery.
To Replace the BACKUP Battery:
(1) Press down the ip on the left.
(2) Pull out the battery tray and remove the old
battery.
(3) Place a new CR2032 battery into the battery
tray with correct polarity (+/-) as indicated.
(4) Insert the tray back into the slot.

7
General Operation
Turn ON/OFF
When you rst connect the unit to the mains socket, the unit will be in STANDBY mode.
• Pressthe button to turn on.
• Pressthe buttonagaintoturno.
- Disconnectthemainsplugfromthemainssocketifyouwanttoswitchtheunitocompletely.
- If there is no signal under the DOCK/LINE IN /Bluetooth modes, the unit will automatically
switchowithin15minutes.
Select Modes
Press the button repeatedly to select LINE IN or FM or Bluetooth or DOCK mode.
Adjust the Brightness
In standby mode, press the NAP/DIMMER button to select brightness level.
Set the NAP Timer
- Press the NAP/DIMMER button repeatedly to select time (in minutes):
90 60 30 15 00
- The system is now set to buzzer after the number of minutes you have set.
Set the Clock
In standby mode, The built-in clock shows the correct time in the display.
1 In standby mode, press and hold the CLOCK button to activate the clock setting mode, time
indicator will blink.
2 Set the minute with the TU+/G button.
3 Set the hour with the H/TU- button.
4 Press the CLOCK button to conrm, the built-in clock starts operating and the seconds start
counting from 0.
Tip:
During Time Setup, press the BF/PAIR button to select 12/24 hour format.
• Time Display
- During play, press the CLOCK button to show the current time on the display for a few seconds.
Set the alarm timer
You can settwoalarmswhichwakeupatdierenttime.Howevertheclockmustbesetcorrectly
for the timer function to work.
1 In standby mode, press and hold the AL1 or AL2 button for several seconds, time indicator will
blink.
2 Set the minute with the TU+/G button and set the hour with the H/TU- button.
3 Press the VOL-/AL1 or VOL+/AL2, then press H/G buttons to select an alarm sound source:
buzz, FM, iPod.
4 Press the VOL-/AL1 or VOL+/AL2 button, volume indicator will blink. Set the alarm volume with
the H/G buttons.
5 Press the VOL-/AL1 or VOL+/AL2 button to conrm.

8
• Activate and Deactivate the Alarm Timer
Press VOL-/AL1 or VOL+/AL2 repeatedly to activate or deactivate the timer.
• Stop Alarm Ring
When the alarm rings, press the button. The alarm stops but the alarm settings remain.
Note:
- For the SNOOZE function, when the alarm is activated, you could press any key except the
ALARM or ON/OFF key to repeat the alarm.
Set the sleep timer
This unit can switch to standby automatically after a set period of time.
1 Press MEM/SLEEP button repeatedly to select a set period of time (in minutes):
90 60 30 15 close up
- When the sleep timer is deactivated, "Zz" disappears on the display.
LINE IN Operation
1 Ensure that the unit is connected to the TV or audio device.
2 Press the button to switch LINE IN mode.
3 Operate your audio device directly for playback features.
4 Press the VOL +/– button to adjust the volume to your desired level.
iPod/iPhone Operation
You can enjoy audio from iPod/iPhone through this unit.
Listen to the iPod/iPhone
Note: This unit does not support apple 30-pin
model.
1. Press the button to switch DOCK mode.
2. Place an iPod/iPhone into the dock.
3. Start to play the connected iPod/iPhone.
- To pause/resume play, press the BF button.
- To skip to a track, press the H/TU- or TU+/G
buttons.
- To search during play, press and hold
H/TU- or TU+/G buttons, then release to
resume normal play.
Charge the iPod/iPhone
The docked iPod/iPhone begins to charge while the
unit is connected to AC power.

9
Bluetooth Operation
You can listen to music from a Bluetooth-enabled device via this player.
Pair Bluetooth-enabled Devices
The rst time you connect your Bluetooth device to this player, you need to pair your device to this
player.
Note:
- The operational range between this player and a Bluetooth device is approximately 8 meters.
- Before you connect a Bluetooth device to this unit, familiarize yourself with the Bluetooth
capabilities of the device.
- Compatibility with all Bluetooth devices is not guaranteed.
- Any obstacle between this unit and a Bluetooth device can reduce the operational range.
- Keep this player away from any other electronic device that may cause interference.
1 Press the button to select BT (Bluetooth) mode. “NO BT” will show on the display if the unit is
not paired to any Bluetooth device, the system has entered pairing mode.
2 Activate your Bluetooth device and select the search mode.
3 “CL02” will appear on your Bluetooth device.
4 Select “CL02” and enter “0000” for password if necessary.
- If the pairing succeeds, display panel shows "BT" .
Tips:
- If a connection exist, press and hold press "BF/PAIR" button on the unit for a few seconds to
re-activate the pairing mode, the connection will be interrupted.
- If no other Bluetooth device pairs with this player within two minutes, the player will recover its
previous connection.
- The player will also be disconnected when your device is moved beyond the operational range.
- If you want to reconnect your device to this player, place it within the operational range.
- If the device is moved beyond the operational range, when it is brought back, please check if
the device is still connected to the player.
- If they are connected, display panel shows "BT".
- If the connection is lost, display panel shows "NO BT". Follow the instruction above to pair your
device to the player again.
Listen to Music from Bluetooth Device
• IftheconnectedBluetoothdevicesupportsAdvancedAudioDistributionProle(A2DP),you
can listen to the music stored on the device through the player.
• IfthedevicealsosupportsAudioVideoRemoteControlProle(AVRCP),youcanusetheplayer's
buttons to play music stored on the device.
1. Pair your device with the player.
2. Start to play music via your device (if it supports A2DP).
3.Usetheplayer'sbuttonstocontrolplay(ifitsupportsAVRCP).

10
Listening to the FM Radio
Auto Scan and Save Preset Station
- Ensure that you have connected and fully extended the FM aerial.
1 Press the button to switch FM mode.
2 Press and hold the BF button for few seconds to activate automatic programming. All
available stations are programmed in the order of waveband reception strength.
- The rst programed radio station is played automatically.
• Tune to a Preset Radio Station
- To select and listen to a saved radio station, press the BF button to skip to the next preset
radio station.
Tuning in a Station
- Press the H/TU- or TU+/G buttons repeatedly until you nd the station you want.
- Press and hold the H/TU- or TU+/G buttons, the frequency changes down or up
automatically until a station is found.
Presetting Stations Manually
- You can preset up to 20 FM stations.
1 Tune in the desired station, then press and hold the MEM / SLEEP button, the station will be
stored and the screen will then show the preset number.
Note:
The unit will switch the Stereo or MONO channel to receive the FM radio mode automatically, it can
getthebesteect.
Troubleshooting
To keep the warranty valid, never try to repair the system yourself. If you encounter problems when
using this unit, check the following points before requesting service.
No power
- Ensure that the AC cord of the apparatus is connected properly.
- Ensure that there is power at the AC outlet.
- Press button to turn the unit on.
Poor radio reception
- Increase the distance between the unit and your TV or VCR.
- Fully extend the FM antenna.
Timer does not work
- Set the clock correctly.
- Switch on the timer.

11
Clock/timer setting erased
- Power has been interrupted or the power cord has been disconnected.
- Reset the clock/timer.
I can not nd the Bluetooth name of this unit on my Bluetooth device
- Ensure the Bluetooth function is activated on your Bluetooth device.
- Re-pair the unit with your Bluetooth device.
Specications
Output Power ...........................................................................................................................................................1W x 2
Total Harmonic Distortion .....................................................................................................................1%(1kHz, 1W)
Frequency Response ...........................................................................................................................250Hz - 14.5kHz
Tuning Range ........................................................................................................................................... 87.5 - 108 MHz
Dimensions (W x D x H) ...........................................................................................180 mm x 106 mm x 138 mm
Adapter Input ....................................................................................................AC100-240V~ 50/60Hz, 0.5A MAX
Adapter Output ................................................................................................................................... DC 5.0V 2.0 A
Dock Output ............................................................................................................................................... 5.0V 1.0 A
Standard Accessories
Instruction Manual......................................................................................................................................................... x 1
Adapter................................................................................................................................................................................x1
3.5mm to 3.5mm audio cable ................................................................................................................................... x 1
Features and specications are subject to change without prior notice.

广东省中山市港口镇沙港东路群乐工业区
QunLe Industrial Area, East Shagang Road GangKou,
ZhongShan, GuangDong, China
Tel:+86-760-89923666
Fax:+86-760-89923669
http://www.richsound.com
User Manual of CR02 & 8037280

Allegro
Bluetooth®
Clock Radio
Owner’s Manual
8037280

Contents
Important Safety Instructions ............................................................................................. 3
Safety .................................................................................................................................................................. 3
Caution ............................................................................................................................................................... 3
Warning ............................................................................................................................................................. 3
Identifying the Parts ............................................................................................................4
Main Unit ........................................................................................................................................................... 4
Connections ..........................................................................................................................5
Connect to an external device................................................................................................................... 5
Set up the FM aerial ....................................................................................................................................... 5
Connect Power ................................................................................................................................................ 5
To Replace the BACKUP Battery ................................................................................................................ 5
General Operation ................................................................................................................ 6
ON/OFF ............................................................................................................................................................. 6
Select Modes .................................................................................................................................................... 6
Adjust the Brightness....................................................................................................................................6
Adjust Volume Levels ....................................................................................................................................6
Volume Memory ............................................................................................................................................. 6
Set the Time ...................................................................................................................................................... 6
Setting the Alarm Timer ............................................................................................................................... 6
Set the NAP Timer .......................................................................................................................................... 7
Set the Sleep Timer ........................................................................................................................................ 7
Bluetooth® Operation ..........................................................................................................7
Pair Bluetooth®-enabled Devices ............................................................................................................. 7
Playing from an External Audio Device .............................................................................. 8
Listening to the FM Radio ....................................................................................................8
Auto Scan and Save Preset Stations ........................................................................................................ 8
Presetting Stations Manually ..................................................................................................................... 8
Tuning in a Station ......................................................................................................................................... 9
Troubleshooting .................................................................................................................10
Specications ......................................................................................................................10
Standard Accessories .........................................................................................................10
Industry Canada Notice and Disclaimers ..........................................................................10
Warranty ..............................................................................................................................11

3
Important Safety Instructions
SAFETY
1. Read these instructions – All the safety and
operating instructions should be read before this
product is operated.
2. Keep these instructions – The safety and operating
instructions should be retained for future reference.
3. Heed all warnings – All warnings on the appliance
and in the operating instructions should be adhered
to.
4. Follow all instructions – All operating and use
instructions should be followed.
5. Do not use this apparatus near water – The
appliance should not be used near water or
moisture – for example, in a wet basement or near a
swimming pool, and the like.
6. Clean only with dry cloth.
7. Do not block any ventilation openings. Install in
accordance with the manufacture’s instructions.
8. Do not install near any heat sources such as
radiators, heat registers, stoves, or other appartus
(including ampliers) that produce heat.
9. Do not defeat the safety purpose of the polarized or
grounding plug. A polarized plug has two blades with
one wider than the other. A grounding plug has two
blades and a third grounding prong. The wide blade
or the third prong is provided for your safety. If the
provided plug does not t into your outlet, consult an
electrician for replacement of the obsolete outlet.
10. Protect the power cord from being walked on or
pinched particularly at the plugs, convenience
receptacles, and at the point where they exit from
the apparatus.
11. Only use attachments/accessories specied by the
manufacturer.
12. Use only with the cart, stand, tripod,
bracket, or table specied by the
manufacturer, or sold with the apparatus.
When a cart or rack is used, use caution
when moving the cart/apparatus combination
This lightning ash with arrowhead symbol within an equilateral
triangle is intended to alert the user to the presence of non-
insulated “dangerous voltage” within the product’s enclosure
that may be of sufcient magnitude to constitute a risk of
electric shock.
The exclamation point within an equilateral triangle is intended
to alert the user to the presence of important operating and
maintenance instructions in the literature accompanying the
appliance.
to avoid injury from tip-over.
13 Unplug the apparatus during lightning storms or when
unused for long periods of time.
14 Refer all servicing to qualied personnel. Servicing
is required when the apparatus has been damaged
in any way, such as power supply cord or plug is
damaged, liquid has been spilled or objects have
fallen into the apparatus has been exposed to rain
or moisture, does not operate normally, or has been
dropped.
CAUTION:
• Use of controls or adjustments or performance of
procedures other than those described herein, may
result in hazardous radiation exposure or other unsafe
operation.
• To reduce the risk of re or electric shock, do not
expose this apparatus to rain or moisture. The
apparatus must not be exposed to dripping or
splashing and objects lled with liquids, such as
vases, must not be placed on apparatus.
• The external adapter is used as the disconnect
device, the disconnect device shall remain readily
operable.
WARNING
• The battery (batteries or battery pack) must not be
exposed to excessive heat such as sunshine, re or
the like.
• Before operating this system, check the voltage of this
system to see if it is identical to the voltage of your
local power supply.
• The ventilation should not be impeded by covering the
ventilation openings with items such as newspaper,
tablecloths, curtains, etc.
• Do not place this unit close to strong magnetic elds.
• Do not place the unit on a amplier or receiver.
• Do not place this unit close to damp areas as the
moisture will affect the life of the laser head.
• Should any solid object or liquid fall into the system,
unplug the system and have it checked by qualied
personnel before operating it any further.
• Do not attempt to clean the unit with chemical solvents
as this might damage the nish. Use a clean, dry or
slightly damp cloth.
• When removing the power plug from the wall outlet,
always pull directly on the plug, never yank on the
cord.
• No naked ame sources, such as lighted candles,
should be placed on the apparatus.
• Changes or modications to this unit not expressly
approved by the party responsible for compliance will
void the user’s authority to operate the equipment.
• The marking label is pasted on the bottom of the
equipment.
WARNING: To reduce the risk of electric shock, do not remove
cover (or back) as there are no user-serviceable parts inside.
Refer servicing to qualied personnel.
WARNING
RISK OF ELECTRIC SHOCK
DO NOT OPEN

4
Identifying the Parts
Main Unit
Top View:
1. Buttons
•
Turn ON or turn OFF the unit.
•
Select a source.
• MEM/SLEEP
Press and hold to preset stations manually.
Set the sleep timer.
• CLOCK
View the current source.
Press and hold to set the time.
• NAP
Set the NAP timer.
2. SNOOZE/DIMMER
Repeat the alarm.
Adjust brightness level.
3. Buttons
•
In Bluetooth® mode, activate the pairing
function and disconnect the existing
paired Bluetooth® device.
In FM mode, press and hold to preset stations automatically. Press this button to select
the preset stations.
• VOL/AL1, VOL+/AL2
Decreases or increase the volume level.
In Standby mode, press and hold the buttons to set alarm 1/2.
• /TU, TU+/
In Bluetooth® mode, skip to previous/next audio track.
In FM mode, search radio stations manually.
In the Clock Setting mode, press the buttons to set the clock.
4. Speakers
5. Display
Shows current status.
Rear View
1. DC IN 5V Jack
Connect to power cord.
2. USB Charging Port
3. LINE IN Jack
Connect to an external audio device using
supplied 3.5mm audio cable.
4. FM Aerial
/
0
12
-
-
/
0
1

5
Connections
Connect to an external device
- Use the supplied 3.5mm to 3.5mm audio cable
to
connect the external audio device headphone
plug to the LINE IN jack on the unit.
Set up the FM aerial
- Unwind the coiled FM aerial at the back of
the unit.
IMPORTANT: You may need to adjust the
position of the FM aerial when tuning the radio to receive the strongest
signal.
Connect Power
1. Plug in the detachable AC power cord into the DC IN jack at the back of
the unit.
2. Plug the AC adapter into a wall outlet, ensuring rated voltage matches your local voltage.
Note:
- You need to connect the DC power to turn ON the
unit. The battery is only for backup.
- If the timer does not work, the battery may be
low, disconnect the DC power and replace with a
new battery, then reconnect DC power and reset
the clock.
To Replace the BACKUP Battery:
1. Press down the ip on the left.
2. Pull out the battery tray and remove the old battery.
3. Place a new CR2032 battery into the battery
tray with correct polarity (+/-) as indicated.
(We recommend InniCell batteries for maximum
performance).
4. Insert the tray back into the slot.
NOTE:
- Batteries are for backup purposes in the event of
a power failure and should be installed prior to
setting up the dock functions.
- If the power fails, or the unit is unplugged and
there are no batteries in the backup, all setups in
the unit will be lost.
- Should your settings be erased, you must reset all of them again as they cannot be restored.
DO NOT INGEST BATTERY, CHEMICAL BURN HAZARD
The unit supplied with this product contains a coin/button cell battery. If the coin/button
cell battery is swallowed, it can cause sever internal burns in just 2 hours and lead to
death. Keep new and used batteries away from children. If the battery compartment
does not close securely, stop using the product and keep it away from children. If you
think batteries might have been swallowed or placed inside any part of the body, seek
medical attention immediately.
Phone/Media player

6
General Operation
ON/OFF
When you rst connect the unit to the main jack, the unit will be in Standby mode.
• Press the button to turn ON. Press again to turn OFF.
- Disconnect the main plug from the main jack if you want to switch the unit OFF
completely.
- If there is no signal under the LINE IN and Bluetooth® mode, the unit will automatically
switch OFF within 15 minutes.
Select Modes
Press the button repeatedly to switch between LINE IN, FM, and BT (Bluetooth®) mode.
"LINE" or "bt " or "87.5 (FM and the radio frequency)" shows in the display.
Adjust the Brightness
Press the SNOOZE/DIMMER button to select brightness level.
Adjust Volume Levels
Press the VOL +/– buttons to adjust the volume level.
Volume Memory
• If the last used volume is over level 5, the last used volume will be stored automatically
as default volume.
• If the last used volume is lower than 5, the default volume will be set to level 5.
Set the Time
The display will show the correct time after setting the clock.
1. In Standby mode, press and hold the CLOCK button. The clock indicator will blink.
2. Press the /TU buttons to adjust the hour digits while blinking, then press the TU+/
buttons to adjust the minute digits while blinking. Press the CLOCK button to conrm.
- In the Clock Setting mode, press the button to switch between 12 or 24 hour format.
• View the Source
- During play, press the CLOCK button to show the current source on the display for a few
seconds.
Setting the Alarm Timer
You can set 2 separate alarm modes to go o at dierent times.
1. Ensure that the clock is set correctly.
2. In Standby mode, press and hold the AL1 or AL2 button for several seconds, time
indicator will blink.
3. Set the hour with the /TU button and set the minute with the TU+/ button. Then
press the AL1 or AL2 to conrm.
4. Press the /TU, TU+/ buttons to select an alarm sound source: buzzer (bUZZ ),
tuner (tUNr) . Then press the AL1 or AL2 to conrm, volume indicator will blink.
5. Set the alarm volume with the /TU, TU+/ buttons. Then press the AL1 or AL2
button to conrm.
• Activate and Deactivate the Alarm
In Standby mode, press AL1 or AL2 repeatedly to activate or deactivate the timer. If the
alarm is activated, " " or " " icon is displayed.

7
• Repeat Alarm
When the alarm rings, press the SNOOZE/DIMMER button. "SN 9" shows in the display.
The alarm will ring again 9 minutes later.
• Stop Alarm Ring
When the alarm rings, press the button. The alarm stops but the alarm settings remain.
Set the NAP Timer
- Press the NAP button repeatedly to select time (in minutes):
05 →10 →15 →20 →30 →45 →60 →90 →close up
- The system is now set to buzzer after the number of minutes selected.
- When the NAP timer is activated, "NAP" icon is displayed.
- When the NAP timer rings, press the or button. The NAP timer stops.
Set the sleep timer
This unit can switch to standby automatically after a set period of time.
1 Press MEM/SLEEP button repeatedly to select a set period of time (in minutes):
90 → 60 → 30 → 15 → close up
- When the sleep timer is activated, " " icon is displayed.
Bluetooth® Operation
You can listen to music from a Bluetooth®-enabled device via this unit.
Note:
- The operational range between this unit and a Bluetooth® device is approximately
8 metres (26 ft).
- Before you connect a Bluetooth® device to this unit, familiarize yourself with the
Bluetooth® capabilities of the device.
- Compatibility with all Bluetooth® devices is not guaranteed.
- Any obstacle between this unit and a Bluetooth® device can reduce the operational
range.
- Keep this player away from any other electronic devices that may cause interference.
- If the signal strength is weak, your Bluetooth® receiver may disconnect, but it will re-
enter Pairing mode automatically.
Pair Bluetooth®-enabled Devices
1. Press the button to select bt (Bluetooth®) mode. “No bt” will show on the display if
the unit is not paired to any Bluetooth® device.
2. The system has entered Pairing mode.
- Or press and hold the button to be searchable. The display will show “PAIr”.
3. Activate your Bluetooth® device and select the Search mode. “inStudio 8037280” will
appear on your Bluetooth® device.
4. Select “inStudio 8037280” in the pairing list. The display panel shows “bt” when the
pairing process is successful.
5. Start to play music from the connected device.
- To disconnect the Bluetooth® function, switch to another function on the unit or
disable the function from your Bluetooth® device. Or press and hold the button, the
Bluetooth® device will be disconnected from the unit. The display panel shows "No bt".

8
- To pause/resume play, press the button.
- To skip to a track, press the /TU,TU+/ buttons.
Tips:
- Enter “0000” for the password if necessary.
- If a connection exists, press and hold the button to re-activate the Pairing mode, the
connection will be interrupted. The display will show “PAIr”.
- If no other Bluetooth® device pairs with this player within 2 minutes, the player will
recover its previous connection.
- The player will also be disconnected when your device is moved beyond the operational
range.
- If you want to reconnect your device to this player, place it within the operational range.
- If the device is moved beyond the operational range, when it is brought back, please
check if the device is still connected to the player.
- If they are connected, display panel shows "bt".
- If the connection is lost, display panel shows "No bt". Follow the instruction above to
pair your device to the player again.
Playing from an External Audio Device
You can listen to an external audio device through this unit.
1. Ensure that the unit is connected to the audio device.
2. Press the button to switch LINE IN mode. “LINE“ icon is displayed.
3. Operate your audio device directly for playback features.
4. Press the VOL +/– buttons to adjust the volume to your desired level.
Listening to the FM Radio
Auto Scan and Save Preset Stations
- Ensure that you have fully extended the FM aerial.
1. Press the button to switch FM mode.
2. Press and hold the button for few seconds to activate automatic programming.
"AUto" shows in the display. Then all available stations are programmed in the order of
waveband reception strength.
- The rst programed radio station is played automatically.
Presetting Stations Manually
- You can preset up to 20 FM stations.
1. Tune in the desired station, then press and hold the MEM / SLEEP button, the station will
be stored and the screen will then show the preset number.
• Tune to a Preset Radio Station
- To select and listen to a saved radio station, press the button to skip to the next preset
radio station.

9
Tuning in a Station
- Press the /TU or TU+/ buttons repeatedly until you nd the station you want.
- Press and hold the /TU or TU+/ buttons, the frequency changes down or up
automatically until a station is found.
Note:
The unit will switch between the Stereo or MONO channel to receive the FM radio mode
automatically
, to receive the best signal. “ST” will show on the display if the Stereo channel
is selected.
Troubleshooting
To keep the warranty valid, never try to repair the system yourself. If you encounter
problems when using this unit, check the following tips before requesting service.
No power
- Ensure that the DC cord of the unit is connected properly.
- Ensure that there is power at the DC outlet.
- Press button to turn the unit ON.
Poor radio reception
- Increase the distance between the unit and your TV or VCR.
- Fully extend the FM antenna.
Timer does not work
- Set the clock correctly.
- Switch on the timer.
Clock/timer setting erased
- Power has been interrupted or the power cord has been disconnected.
- Reset the clock/timer.
I can't nd the Bluetooth® name of this unit on my Bluetooth® device
- Ensure the Bluetooth® function is activated on your Bluetooth® device.
- Re-pair the unit with your Bluetooth® device.
Specications
Bluetooth® range ..................................................................................................................................8m (26ft)
Adapter Input ..................................................................................... AC 100-240V~ 50/60Hz, 0.5A MAX
Adapter Output ...........................................................................................................................DC 5.0V, 2.0 A
USB Charging ...................................................................................................................................5.0V 1.0 A
Output Power .............................................................................................................................................2W x 2
Frequency Response ................................................................................................................ 120Hz - 20kHz
Tuning Range ...............................................................................................................................87.5-108 MHz
Audio input sensitivity ...........................................................................................................................500mV
Impedance ................................................................................................................................................... 4Ω x 2
Dimensions (W x D x H) .............................................................................180 mm x 106 mm x 138 mm

10
FCC Statement
This device complies with Part 15 of the FCC Rules. Operation is subject to the following two conditions:
(1) this device may not cause harmful interference, and
(2) this device must accept any interference received, including interference that may cause undesired operation.
- "Warning: Changes or modications to this unit not expressly apporved by the party responsible for compliance
could void the user's authority to operate the equipment."
- "NOTE: This equipment has been tested and found to comply with the limits for a Class B digital device, pursuant
to Part 15 of the FCC Rules. These limits are designed to provide reasonable protection against harmful
interference in a residential installation. This equipment generates, uses and can radiate radio frequency energy
and, if not installed and used in accordance with the instructions, may cause harmful interference to radio
communications. However, there is no guarantee that interference will not occur ina particular installation. If
this equipment does cause harmful interference to radio or television reception, which can be determined by
turning the equipment o and on, the user is encouraged to try to correct the interference by one or more of the
following measures:
– Reorient or relocate the receiving antenna.
- Increase the separation between the equipment and receiver.
- Connect the equipment into an outlet on a circuit dierent from that to which the receiver is connected. Consult
the dealer or an experienced radio/TV technician for help."
FCC ID: Z8M-CR02
Industry Canada Notice RSS247
This device complies with Industry Canada license-exempt RSS standard(s).
Operation is subject to the following two conditions:
(1) this device may not cause interference, and
(2) this device must accept any interference, including interference that may cause undesired operation of the device.
This digital apparatus does not exceed the Class B limits for radio noise emissions from digital apparatus set out in the
Radio Interference Regulations of Industry Canada.
IC: 255A-8037280
CAN ICES-3(B)/NMB-3(B)
The Bluetooth® word mark and logos are registered trademarks owned by Bluetooth® SIG, Inc. and any use of such
marks by The Source (Bell) Electronics Inc. is under license. Other trademarks and trade names are those of their
respective owners.
Standard Accessories
Instruction Manual .......................................................................................................................................... x 1
Adapter.. ............................................................................................................................................................... x1
3.5mm to 3.5mm audio cable ..................................................................................................................... x 1
Features and specications are subject to change without prior notice.

11
The Source warrants that this product will be free from defects in materials and workmanship for a period of
twelve (12) months from the date of purchase. Within this period, simply take the product and your proof of
purchase to any The Source store or participating dealer and the product will be replaced (where available)
without charge. Any product which has been subject to misuse or accidental damage is excluded from this
warranty.
This warranty is only applicable to a product purchased through The Source company-owned stores or
participating dealers in Canada where the warranty is included with the product. While this warranty does not
confer any legal rights other than those set out above, you may have additional statutory rights which will vary
under the laws of the various countries, states, provinces and other governmental entities in which The Source
operates. This warranty is subject to all statutory rights you may have in Canada.
THE SOURCE – WARRANTY
© 2015 The Source
All rights reserved.
Imported by:
The Source,
Barrie, Ontario, Canada, L4M 4W5
Manufactured in China
For product support please visit
www.in-studio.ca
Please
Recycle